Operation CHARM: Car repair manuals for everyone.
Manuals through 2025 now available!

Our trusted friends have launched a new website named LEMON, which has newer manuals. It also contains all the CHARM manuals.

LEMON is the spiritual successor to CHARM, I recommend you try it!

Link: lemon-manuals.la or lemon-manuals.org.ua

(Some people have issue connecting. LEMON is investigating. For now, use Firefox or change your DNS server)

Or, hide this message: temporarily or permanently

Rear Fender Liner: Service and Repair

FENDER

Removal and Installation
1. Remove the tailgate.
2. Remove the rear lamp assemblies.






3. Remove the tender step mats.






4. Remove the tender upper mouldings.
1. Remove the moulding plugs.
2. Remove the screws.
- To install, tighten to 12 N-m (1.2 kgf-m, 9 ft-lbf).

3. Remove the upper mouldings.






NOTE: Mark the position of the fuel filler cap tether for proper installation.

5. Remove the filler neck screws, LH fender only.
6. Remove the rear wheel splash guards, if equipped.

7. Remove the rear fender splash shields.
- Remove the 5 screws.
- Remove the 5 push-pins.
- Remove the rear fender splash shield.

NOTE: The pickup bed bolts are not identical and must be installed in the same location that they are removed from.

8. Remove the 6 pickup bed bolts.
- To install, tighten to 63 N-m (6.4 kgf-m, 46 ft-lbf).






9. Remove the step screws.
- To install, tighten to 12 N-m (1.2 kgf-m, 9 ft-lbf).






10. Remove the rear lamp opening bolts.
- To install, tighten to 12 N-m (1.2 kgf-m, 9 ft-lbf).






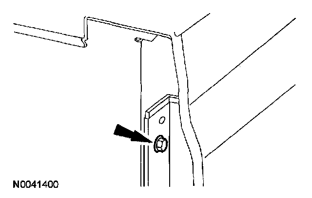
11. Remove the rear tender lower screw.
- To install, tighten to 12 N-m (1.2 kgf-m, 9 ft-lbf).






12. Remove the 3 bed-to-fender front bolts.
- To install, tighten to 12 N-m (1.2 kgf-m, 9 ft-lbf).






13. Remove the rear fender.
1. Remove the rear fender screws.
- To install, tighten to 12 N-m (1.2 kgf-m, 9 ft-lbf).

2. Remove the rear fender.

14. To install, reverse the removal procedure.