Operation CHARM: Car repair manuals for everyone.
Manuals through 2025 now available!

Our trusted friends have launched a new website named LEMON, which has newer manuals. It also contains all the CHARM manuals.

LEMON is the spiritual successor to CHARM, I recommend you try it!

Link: lemon-manuals.la or lemon-manuals.org.ua

(Some people have issue connecting. LEMON is investigating. For now, use Firefox or change your DNS server)

Or, hide this message: temporarily or permanently

Fuel Injector: Service and Repair

FUEL INJECTION SUPPLY MANIFOLD AND FUEL INJECTOR REMOVAL/INSTALLATION

Removal and Installation

WARNING: Do not smoke or carry lighted tobacco or open flame of any type when working on or near any fuel-related components. Highly flammable mixtures are always present and can be ignited. Failure to follow these instructions can result in personal injury.

WARNING: Fuel in the fuel system remains under high pressure even when the engine is not running. Before working on or disconnecting any of the fuel lines or fuel system components, the fuel system pressure must be relieved. Failure to follow these instructions can result in personal injury.

1. Disconnect the battery ground cable.
2. Relieve the fuel system pressure.
3. Remove the upper intake manifold.




4. Disconnect the fuel injector electrical connectors.




5. Disconnect the fuel injector wiring harness from the fuel injector supply manifold.




6. Disconnect the fuel tube spring lock coupling.




7. Using the special tool, disconnect the fuel tube.




8. Remove the fuel injection supply manifold.
- Remove the bolts and the spacer insulators.
- Remove the fuel supply manifold.




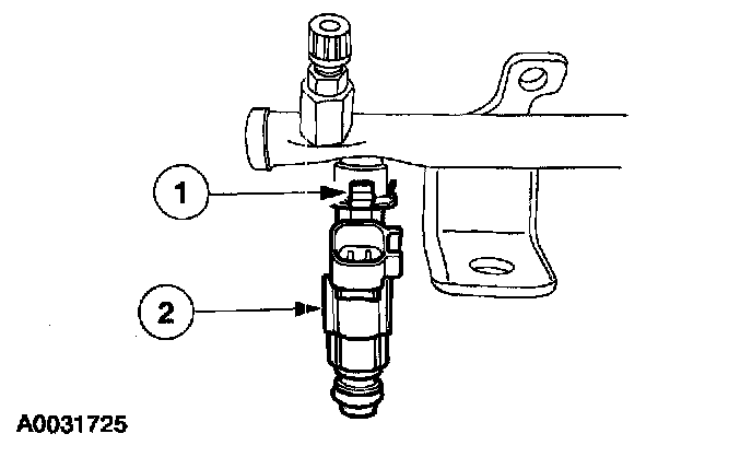
9. Remove the fuel injectors.
1. Remove the retaining clip.
2. Remove the fuel injector.




10. Remove and discard the fuel injector O-ring seals.

NOTE: Lubricate the new fuel injector O-ring seals with clean engine oil.

11. To install, reverse the removal procedure.