Operation CHARM: Car repair manuals for everyone.
Manuals through 2025 now available!

Our trusted friends have launched a new website named LEMON, which has newer manuals. It also contains all the CHARM manuals.

LEMON is the spiritual successor to CHARM, I recommend you try it!

Link: lemon-manuals.la or lemon-manuals.org.ua

(Some people have issue connecting. LEMON is investigating. For now, use Firefox or change your DNS server)

Or, hide this message: temporarily or permanently

Fuel Tank: Service and Repair

FUEL TANK REMOVAL/INSTALLATION

WARNING: Do not smoke or carry lighted tobacco or open flame of any type when working on or near any fuel-related component. Highly flammable mixtures are always present and can be ignited, resulting in possible personal injury.

WARNING: Fuel in the fuel system remains under high pressure even when the engine is not running. Before repairing or disconnecting any of the fuel lines or fuel system components, the fuel system pressure must be relieved to prevent accidental spraying of fuel, causing personal injury or a fire hazard.

1. Relieve the fuel system pressure.




2. Disconnect the fill pipe main hose from the main fill pipe.
3. Drain the fuel tank.




4. If equipped, remove the four bolts (two each side) and remove the skid plate.
5. Support the fuel tank.




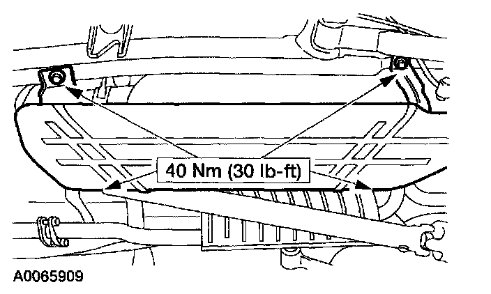
6. Remove the bolts and pivot the fuel tank support straps away from the fuel tank.




7. Disconnect the fuel pump connector.
- Lower the fuel tank slightly.
- Disconnect the fuel pump electrical connector.




8. Disconnect the fuel supply tube, vapor tube and the fill tube vent hose from the fuel pump. See FUEL PRESSURE RELIEF.




9. Disconnect the vapor tube fitting at the rear of the fuel tank.
10. Lower the fuel tank.
11. To install, reverse the removal procedure.