Operation CHARM: Car repair manuals for everyone.
Manuals through 2025 now available!

Our trusted friends have launched a new website named LEMON, which has newer manuals. It also contains all the CHARM manuals.

LEMON is the spiritual successor to CHARM, I recommend you try it!

Link: lemon-manuals.la or lemon-manuals.org.ua

(Some people have issue connecting. LEMON is investigating. For now, use Firefox or change your DNS server)

Or, hide this message: temporarily or permanently

Part 2

Disassembly Note Continued

50. Remove the bolts in the sequence shown and remove the RH cylinder head.





51. Remove the engine front cover.





52. Remove the oil pan.





53. Remove the oil pump screen cover and tube.





54. Remove the ladder frame bolts.





55. Remove the ladder frame bolts.





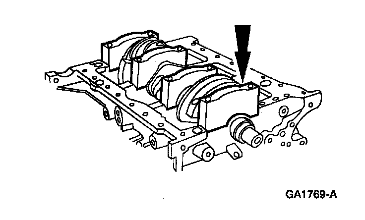
56. Remove the 15 bolts and the 2 nuts. Remove the ladder frame.





57. Remove the oil pump.





58. Remove the oil filter.
59. Remove the oil filter adapter.





60. Inspect and install new O-ring seals if necessary.





61. Remove the chain tensioner.





62. Remove the chain guide.





63. Remove the rear jackshaft plug.





64. Install the Rear Jackshaft Socket SST 303-634 at the rear of the jackshaft.





65. Loosen the front sprocket retaining bolt.





66. With the Rear Jackshaft Socket still in place, loosen the rear sprocket retaining bolt.

67. Remove the Rear Jackshaft Socket.

Note:
^ It may be required to hold the oil pump intermediate shaft, using an E-12 external TORX socket, in order to remove the bolts if bolts do not turn out easily at this time.

68. Remove the front sprocket retaining bolt.





69. Remove the jackshaft sprocket and chain.





70. Remove the bolt and front cassette with camshaft drive chain.





71. Remove the bolt and spacer.





72. Remove the bolt and rear cassette with camshaft drive chain.





73. Remove the oil pump drive.





74. Remove the jackshaft thrust plate.





75. Remove the jackshaft.





76. On vehicles with a balance shaft, remove the balance shaft tensioner.
1) Install a pin in the balance shaft tensioner.
2) Remove the bolts.
3) Remove the balance shaft tensioner.





Note:
^ DO NOT remove the balance shaft sprocket bolt.

77. On vehicles with a balance shaft, remove the balance shaft chain and crankshaft sprocket.





78. On vehicles equipped with a balance shaft, remove the balance shaft.
1) Remove the bolts.
2) Remove the balance shaft.





79. Using the cylinder ridge reamer SST 303-016 (T64L-6011-EA), remove the ridge and carbon deposits from the top of each cylinder.





80. Remove the piston and connecting rod assemblies.
1) Remove the connecting rod nuts.
2) Remove the connecting rod cap.





81. Install rubber hose pieces on the bolts to protect the crankshaft and remove the pistons.





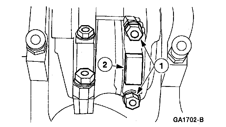
82. Remove the main bearing cap bolts.





83. Remove the crankshaft main bearing caps.





84. Remove the crankshaft rear oil seal from the crankshaft.





85. Remove the crankshaft.





86. Remove the crankshaft main bearings and the thrust bearing.