Operation CHARM: Car repair manuals for everyone.
Manuals through 2025 now available!

Our trusted friends have launched a new website named LEMON, which has newer manuals. It also contains all the CHARM manuals.

LEMON is the spiritual successor to CHARM, I recommend you try it!

Link: lemon-manuals.la or lemon-manuals.org.ua

(Some people have issue connecting. LEMON is investigating. For now, use Firefox or change your DNS server)

Or, hide this message: temporarily or permanently

Steps 1-60

Engine








Special Tool(s)

CAUTION: If the fuel supply manifold is used as a leverage device, damage may occur to the supply manifold. Care must be taken when working around the fuel supply manifold.

NOTE: Before engine assembly, use metal surface cleaner and a suitable plastic or wooden scraper to clean the sealing surfaces. All sealing surfaces must be clean. Make sure coolant and oil passages are clear.

1. Install the upper crankshaft main bearings and the thrust bearing.
^ Lubricate the crankshaft main bearings with clean engine oil.

2. NOTE: The crankshaft main bearings are precision selective fit. Inspect the bearing clearance.





Install the crankshaft.

3. NOTE: The rear main bearing cap must be installed within four minutes after applying the silicone.





Apply silicone gasket and sealant to the rear main bearing cap to cylinder block parting line.
4. Install the crankshaft lower main bearings in the main bearing caps.





5. Install the main bearing caps.





6. Tighten the bolts.
7. Lubricate the piston rings with clean engine oil.
8. Make sure that the piston rings are correctly spaced.





9. Install rubber hose pieces on the connecting rod bolts to protect the crankshaft.

10. NOTE: Position the piston with the indentation arrow toward the front of the cylinder block.





Using the special tool, install the pistons.

11. NOTE: The old nuts and bolts are used for checking clearances. New nuts and bolts must be used for reassembly.

Check the clearance of each connecting rod bearing.
12. Rotate the crankshaft until the piston is at the bottom of its stroke.

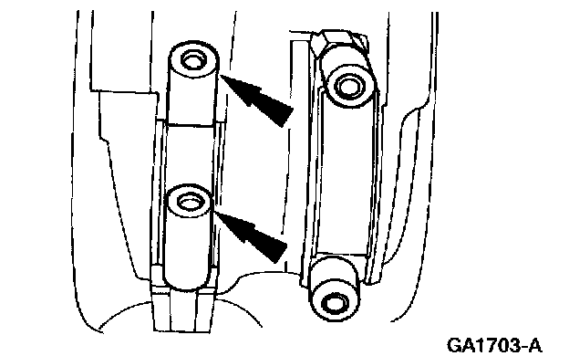
13. NOTE: For cylinders 1, 2, and 3, remove the connecting rod nut at the oil split hole side first. For cylinders 4, 5, and 6, remove the opposite nut first.





Loosen the first nut until the face is approximately 2 mm (0.08 inch) over the end of the bolt.





14. Tap the bolt on the nut until it can be removed by hand.
15. Repeat previous two steps for the opposite bolt.





16. Install the new bolts making certain that the bolt head is parallel to the sideward face of the connecting rod.
17. Install the connecting rod cap in the original position.





18. Install and tighten the connecting rod nuts finger tight.
19. Tighten the connecting rod nuts simultaneously in two stages:
^ Stage 1: Tighten 20 Nm (15 ft. lbs.).
^ Stage 2: Tighten 90 degrees.
20. Repeat previous four steps for the remaining connecting rods.
21. Rotate crankshaft until No.1 piston is at top dead center.





22. Install the oil pump.





23. Install the jackshaft.





24. Install the jackshaft thrust plate and bolts.





25. Install the oil pump drive.





26. Attach the rear cassette and sprocket to the bolt. Do not tighten at this time.





27. Install the rear cassette and bolt.





28. Install the front cassette and bolt.





29. Position the jackshaft sprocket and chain.





30. Install the chain guide.





31. Install the chain tensioner.





32. Install the bolt. Do not tighten at this time.
33. While holding the front jackshaft sprocket bolt secure, tighten the rear bolt to 20 Nm (15 ft. lbs.).





34. Install the special tool on the rear of the jackshaft.





35. Tighten the rear bolt an additional 90 degrees.






36. Tighten the front bolt in two stages.
^ Stage 1: Tighten to 45 Nm (33 ft. lbs.).
^ Stage 2: Tighten 90 degrees.





37. Remove the special tool and install the rear jackshaft plug.





38. Position the front cover gasket and install the front cover.





39. Apply silicone gasket and sealant to the front cover in four places.





40. Apply silicone gasket and sealant to the rear main bearing cap as shown.
^ Position the ladder frame gasket.

41. CAUTION: The ladder frame inserts must be loosened completely or damage to the ladder frame and/or oil leaks may result.





Loosen the ladder frame inserts.





42. Position the ladder frame and gasket assembly.





43. Install and hand tighten the fifteen bolts and two nuts.





44. Install and hand tighten the bolts.

45. NOTE: The ladder frame to cylinder block alignment must be within a maximum mismatch of 0.25 mm (0.01 inch) ladder frame underflush or 0.05 mm (0.00196 inch) ladder frame protrusion.





Using a straightedge, align the transmission face of the ladder frame with the rear face of the cylinder block.





46. Tighten the fifteen bolts and two nuts.





47. Tighten the bolts.





48. Tighten the inserts.





49. Install new seals on the two silver bolts and position them in the ladder frame.





50. Position the six remaining bolts.





51. Tighten the ladder frame bolts in two stages.
^ Stage 1: Tighten to 15 Nm (11 ft. lbs.).
^ Stage 2: Tighten to 33 Nm (24 ft. lbs.).

52. NOTE: Assemblies that measure out of specification must have the entire assembly procedure repeated.





Measure the step between the rear face of the cylinder block and the transmission face of the ladder frame.





53. Repair all assemblies that exceed underflush specification by installing shims on one or both sides of the ladder frame.





54. Install the oil pump screen cover and tube.





55. Install the gasket, and the oil pan.





56. Install the oil filter adapter.





57. Install the oil filter.





58. Install the water pump.

59. NOTE: LH shown, RH similar.





Install the cylinder head gasket.

60. NOTE: LH shown, RH similar.





Install the cylinder head and tighten the bolts in the sequence shown.