Operation CHARM: Car repair manuals for everyone.
Manuals through 2025 now available!

Our trusted friends have launched a new website named LEMON, which has newer manuals. It also contains all the CHARM manuals.

LEMON is the spiritual successor to CHARM, I recommend you try it!

Link: lemon-manuals.la or lemon-manuals.org.ua

(Some people have issue connecting. LEMON is investigating. For now, use Firefox or change your DNS server)

Or, hide this message: temporarily or permanently

Steps 1-35

Engine








Special Tool(s)

CAUTION: If the fuel supply manifold is used as a leverage device, damage may occur to the supply manifold. Care must be taken when working around the fuel supply manifold.

1. Rotate the drive belt tensioner counterclockwise and remove the drive belt.





2. Remove the bolts and position the accessory bracket aside.





3. Remove the generator mounting bracket.
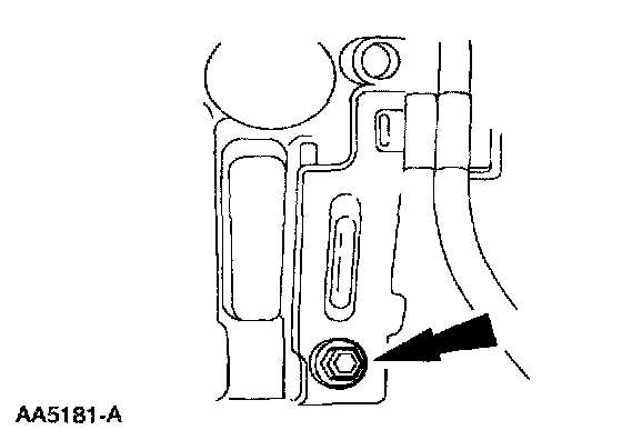
1. Remove drive belt tensioner bolt.
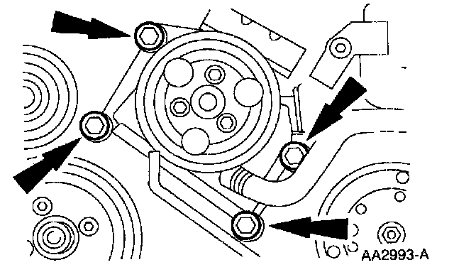
2. Remove generator mounting bracket bolts.





4. Disconnect the Throttle Position (TP) sensor electrical connector.





5. Disconnect the Idle Air Control (IAC) valve electrical connector and disconnect the EGR valve vacuum hose.





6. Loosen the fitting and disconnect the exhaust manifold-to-EGR valve tube.





7. Disconnect the ignition coil electrical connector.





8. Disconnect the radio ignition interference; capacitor electrical connector.





9. Disconnect the Exhaust Gas Regulator (EGR) vacuum regulator.

10. CAUTION: Spark plug wires must be connected correctly. Mark the spark plug wires before removing them.





Using the special tool, remove the spark plug wires from the spark plugs and all routing clips.





11. Remove the bolts.





12. Remove the bolt and the coil and ignition wires.





13. Disconnect the vacuum hoses.





14. Detach and disconnect the electrical connector.





15. Remove the intake manifold bolts and lift up the intake manifold.





16. Remove the heated PCV hose retainers and remove the heated PCV fitting.
17. Remove the intake manifold.





18. Remove the bolts.





19. Detach the wiring harness retainer and remove the heater tube and bracket assembly.





20. Disconnect the Camshaft Position (CMP) sensor electrical connector.





21. Disconnect the differential pressure feedback EGR transducer.





22. Disconnect the Crankshaft Position (CKP) sensor electrical connector.





23. Disconnect the water temperature indicator sender unit and the Engine Coolant Temperature (ECT) sensor electrical connectors.

24. NOTE: The LH side is shown, the RH side is similar.





Disconnect the six fuel injector electrical connectors.





25. Remove the engine control/fuel charging wiring.





26. Disconnect the EGR valve to exhaust manifold tube from the exhaust manifold.





27. Remove the bolt and position the lower fuel line bracket aside.





28. Remove the fuel injection supply manifold.





29. Remove the LH valve cover and the gasket.





30. Remove the RH valve cover and the gasket.





31. Remove the fuel injectors.
32. Remove the thermostat housing.
1. Remove the bolts.
2. Release the bypass hose clamp.





33. Remove the oil level indicator tube.





34. Remove the knock sensor.





35. Remove the RH exhaust manifold and the gasket.





36.Remove the LH exhaust manifold and the gasket.