Operation CHARM: Car repair manuals for everyone.
Manuals through 2025 now available!

Our trusted friends have launched a new website named LEMON, which has newer manuals. It also contains all the CHARM manuals.

LEMON is the spiritual successor to CHARM, I recommend you try it!

Link: lemon-manuals.la or lemon-manuals.org.ua

(Some people have issue connecting. LEMON is investigating. For now, use Firefox or change your DNS server)

Or, hide this message: temporarily or permanently

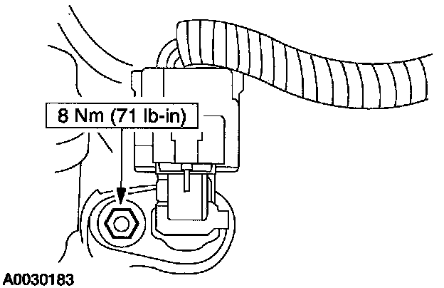
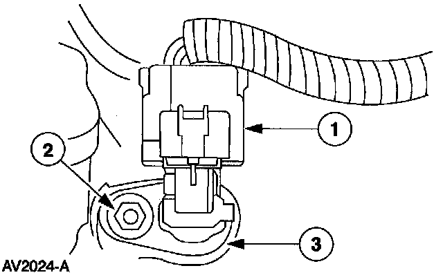
Camshaft Position Sensor: Service and Repair

CAMSHAFT POSITION (CMP) SENSOR REMOVAL / INSTALLATION - 4.0L






Removal and Installation






1. Remove the camshaft position (CMP) sensor.
1. Disconnect the electrical connector.
2. Remove the bolt.
3. Remove the sensor.






2. To install, reverse the removal procedure.