Operation CHARM: Car repair manuals for everyone.
Manuals through 2025 now available!

Our trusted friends have launched a new website named LEMON, which has newer manuals. It also contains all the CHARM manuals.

LEMON is the spiritual successor to CHARM, I recommend you try it!

Link: lemon-manuals.la or lemon-manuals.org.ua

(Some people have issue connecting. LEMON is investigating. For now, use Firefox or change your DNS server)

Or, hide this message: temporarily or permanently

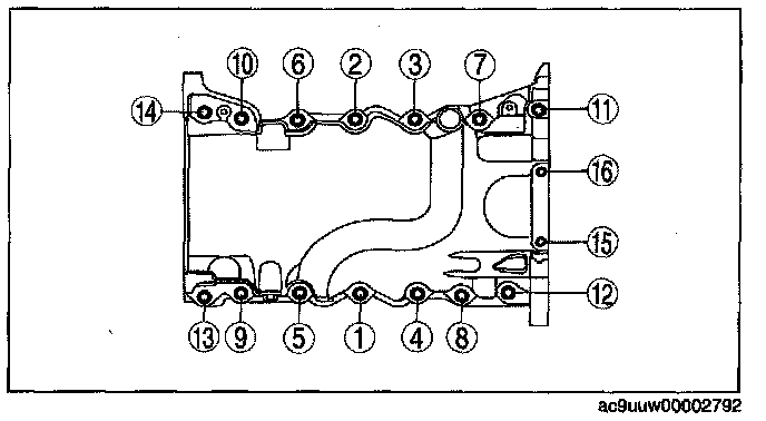
Oil Pan, Engine

Oil pan





Oil pan bolts to cylinder block

(1) Tighten the bolts in the order shown in the figure.
Tightening torque 3.0 N-m (31 kgf-cm, 27 in-lbf)
(2) Loosen the bolts 180°.





Using a straightedge, align the oil pan flush with the rear of the cylinder block at the two areas as shown.





Tighten the bolts in the order shown in the figure.
Tightening torque
Bolt A: 20-28 N-m (2.1-2.8 kgf-m, 15-20 ft-lbf)
Bolt B: 8.5-11.5 N-m (87-117 kgf-cm, 76-101 in-lbf)