Operation CHARM: Car repair manuals for everyone.
Manuals through 2025 now available!

Our trusted friends have launched a new website named LEMON, which has newer manuals. It also contains all the CHARM manuals.

LEMON is the spiritual successor to CHARM, I recommend you try it!

Link: lemon-manuals.la or lemon-manuals.org.ua

(Some people have issue connecting. LEMON is investigating. For now, use Firefox or change your DNS server)

Or, hide this message: temporarily or permanently

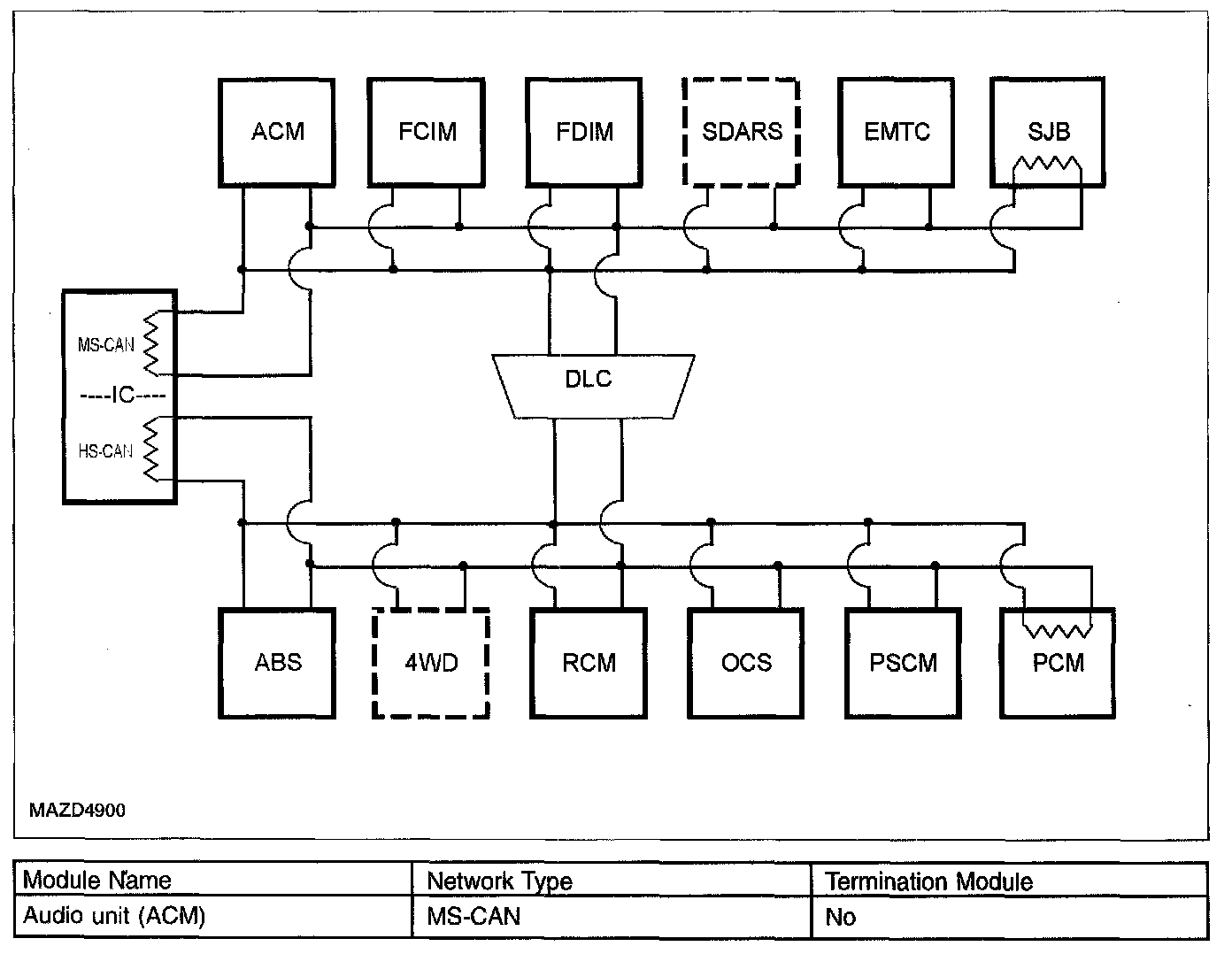
Communications Network - Principles of Operation

COMMUNICATIONS NETWORK
See the Tribute Wiring Diagram for schematic information.

Principles of Operation
Vehicle communication utilizes the controller area network (CAN) communications. The CAN is a method for transferring data among distributed electronic modules via a serial data bus.

The vehicle is equipped with 2 module communication networks:
- Medium speed (MS) CAN
- High speed (HS) CAN

Network Topology (Part 1):




Network Topology (Part 2):






MS-CAN Network Operation
The MS-CAN network communicates using bussed messages. The MS-CAN has an unshielded twisted pair cable, data bus (+) and data bus (-) circuits. In addition to scan tool communication, this network allows sharing of information between all modules on the network.

The MS-CAN is a medium speed communication network used for the following modules:
- Audio unit
- Electronic manual temperature control (EMTC)
- Front control interface module (FCIM)
- Front display interface module (FDIM)
- Instrument cluster
- Satellite radio receiver
- Smart junction box (SJB)

HS-CAN Network Operation
The HS-CAN network communicates using bussed messages. The HS-CAN network uses an unshielded twisted pair cable, data bus (+) and data bus (-) circuits. In addition to scan tool communication, this network allows sharing of information between all modules on the network.

The HS-CAN is a high speed communication network used for the following modules:
- ABS module
- Four wheel drive (4WD) control module
- Instrument cluster
- Occupant classification sensor module
- Power steering control module
- Powertrain control module (PCM)
- Restraints control module (RCM)

Network Termination
The CAN network uses a network termination circuit to improve communication reliability. The network termination of the CAN bus takes place inside the termination modules by termination resistors. Termination modules are located at either end of the bus network. As network messages are broadcast, in the form of voltage signals, the network voltage signals are stabilized by the termination resistors. Each termination module has a 120 ohm resistor across the positive and negative bus connection in the termination module. With 2 termination modules on each network, and the 120 ohm resistors located in a parallel circuit configuration, the total network impedance, or total resistance, is 60 ohms.

Network termination improves bus message reliability by:
- stabilizing bus voltage.
- eliminating electrical interference.

Gateway Module
The instrument cluster is the gateway module, translating HS-CAN to MS-CAN and vice versa. This information allows a message to be distributed throughout both networks. The instrument cluster is the only module on this vehicle that has this ability.