Operation CHARM: Car repair manuals for everyone.
Manuals through 2025 now available!

Our trusted friends have launched a new website named LEMON, which has newer manuals. It also contains all the CHARM manuals.

LEMON is the spiritual successor to CHARM, I recommend you try it!

Link: lemon-manuals.la or lemon-manuals.org.ua

(Some people have issue connecting. LEMON is investigating. For now, use Firefox or change your DNS server)

Or, hide this message: temporarily or permanently

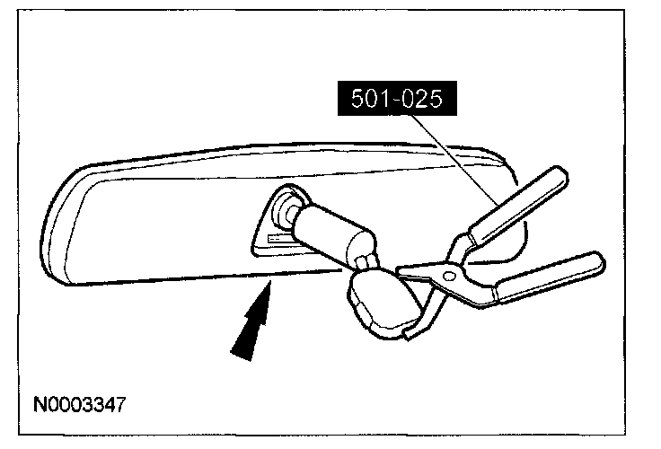
Interior Mirror Removal/Installation

INTERIOR MIRROR REMOVAL/INSTALLATION

Removal

CAUTION: Twisting the interior rear view mirror base from right to left may cause a stress fracture of the windshield.






1. Insert the special tool between the mirror mount and windshield bracket from the bottom.
2. Release the mirror mount from the windshield bracket by pulling the tool away from the windshield.

Installation






1. Slide the mirror mount over the windshield bracket from the top and adjust the mirror to the up position.






2. Using the special tool, press the mirror assembly downward along the windshield until the mount is seated on the windshield bracket.