Operation CHARM: Car repair manuals for everyone.
Manuals through 2025 now available!

Our trusted friends have launched a new website named LEMON, which has newer manuals. It also contains all the CHARM manuals.

LEMON is the spiritual successor to CHARM, I recommend you try it!

Link: lemon-manuals.la or lemon-manuals.org.ua

(Some people have issue connecting. LEMON is investigating. For now, use Firefox or change your DNS server)

Or, hide this message: temporarily or permanently

Part 1

ENGINE - 2.3L ASSEMBLY

Assembly

Caution
^ Do not loosen or remove the crankshaft pulley bolt without first installing the special tools as instructed in this procedure. The crankshaft pulley and the crankshaft timing sprocket are not keyed to the crankshaft. The crankshaft, the crankshaft sprocket and the pulley are fitted together by friction, using diamond washers between the flange faces on each part. For that reason, the crankshaft sprocket is also unfastened if you loosen the pulley bolt. Before any repair requiring loosening or removal of the crankshaft pulley bolt, the crankshafts and the camshafts must be locked in place by the special tools, otherwise, severe engine damage may occur.


Caution
^ During engine repair procedures, cleanliness is extremely important. Any foreign material (including any material created while cleaning gasket surfaces) that enters the oil passages coolant passages or the oil pan, may cause engine failure.


All Vehicles
1. Turn the crankshaft clockwise to position the No. 1 piston at top dead center (TDC).

Caution
^ Failure to position the No. 1 piston at TDC can result in damage to the engine. Turn the engine in the normal direction of rotation only.


2. Remove the engine plug bolt.





3. Install the special tool.





Note
^ The special tool will contact the crankshaft and prevent it from turning past TDC. However, the crankshaft can still be rotated in the counterclockwise direction. The crankshaft must remain at the TDC position until the timing drive components and crankshaft pulley are installed.

4. Install the oil pump assembly. Tighten the bolts in the sequence shown in 2 stages.
^ Stage 1: Tighten the bolts to 10 N-m (1.0 kgf-m, 89 in-lbf).
^ Stage 2: Tighten the bolts to 20 N-m (1.5 kgf-m, 15 ft-lbf).





Note
^ Clean the oil pump and cylinder block mating surfaces with metal surface cleaner.





5. Install a new oil pump pickup tube gasket and the pickup tube.
^ Tighten to 10 N-m (1.0 kgf-m, 89 in-lbf).





6. Using the special tool, install the crankshaft rear main oil seal.

7. Tighten the crankshaft rear oil seal retainer bolts in the sequence shown.
^ To install, tighten to 10 N-m (1.0 kgf-m, 89 in-lbf).





8. Clean and inspect all mating surfaces.

Caution
^ Do not use metal scrapers, wire brushes, power abrasive discs or other abrasive means to clean the sealing surfaces. These tools cause scratches and gouges, which make leak paths. Use a plastic scraping tool to remove traces of sealant.


9. Apply a 2.5 mm (0.098 in) bead of silicone gasket and sealant to the oil pan. Install the oil pan. Install the 2 oil pan bolts finger-tight.





Note
^ If the oil pan is not secured within 4 minutes of sealant application, the sealant must be removed and the sealing area cleaned with metal surface cleaner. Allow to dry until there is no sign of wetness, or 4 minutes, whichever is longer. Failure to follow this procedure can cause future oil leakage.

10. Using a suitable straightedge, align the front surface of the oil pan flush with the front surface of the engine block.





11. Install the remaining oil pan bolts and tighten the oil pan bolts in the sequence shown.
^ Tighten to 25 N-m (2.5 kgf-m, 18 ft-lbf).





12. Install the cylinder head alignment dowels.





^ Dowels must be fully seated in the cylinder block.
13. Clean the cylinder head-to-cylinder block mating surface of both the cylinder head and the cylinder block.
(1) Remove any large deposits of silicone or gasket material with a plastic scraper.
(2) Apply silicone gasket remover, following package directions, and allow to set for several minutes.
(3) Remove the silicone gasket remover with a plastic scraper. A second application of silicone gasket remover may be required if residual traces of silicone or gasket material remain.
(4) Apply metal surface prep, following package directions, to remove any traces of oil or coolant, and to prepare the surfaces to bond with the new gasket. Do not attempt to make the metal shiny. Some staining of the metal surfaces is normal.

Caution
^ Do not use metal scrapers, wire brushes, power abrasive discs or other abrasive means to clean the sealing surfaces. These tools cause scratches and gouges that make leak paths. Use a plastic scraping tool to remove all traces of the head gasket.


Note
^ Observe all warnings and cautions and follow all application directions contained on the packaging of the silicone gasket remover and the metal surface prep.

Note
^ If there is no residual gasket material present, metal surface prep can be used to clean and prepare the surfaces.

14. Apply silicone gasket and sealant to the locations shown.





15. Install a new head gasket.





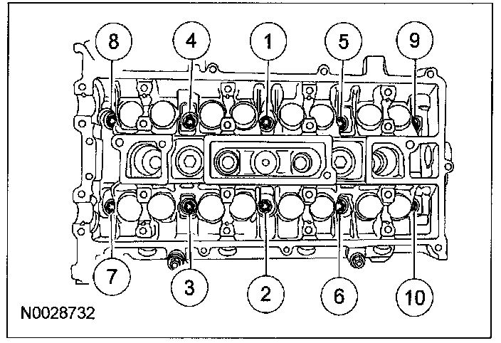
16. Install new cylinder head bolts. Tighten the bolts in the sequence shown in 5 stages.
^ Stage 1: Tighten the bolts to 5 N-m (0.51 kgf-m, 44 in-lbf).
^ Stage 2: Tighten the bolts to 15 N-m (1.5 kgf-m, 11 ft-lbf).
^ Stage 3: Tighten the bolts to 45 N-m (4.6 kgf-m, 33 ft-lbf).
^ Stage 4: Turn the bolts 90 degrees.
^ Stage 5: Turn the bolts an additional 90 degrees.





Note
^ The cylinder head bolts are torque-to-yield and must not be reused. New cylinder head bolts must be installed.

Note
^ Lubricate the bolts with clean engine oil prior to installation.

17. Install the camshafts and bearing caps. Tighten the bolts in the sequence shown in 3 stages.
^ Stage 1: Tighten the camshaft bearing bolt caps one turn at a time until finger-tight.
^ Stage 2: Tighten the bolts to 7 N-m (0.71 kgf-m, 62 in-lbf).
^ Stage 3: Tighten the bolts to 16 N-m (1.6 kgf-m, 12 ft-lbf).





Caution
^ Install the camshafts with the alignment slots in the camshafts lined up so the camshaft alignment plate can be installed without rotating the camshafts. Make sure the lobes on the No. 1 cylinder are in the same position as noted in the disassembly procedure. Rotating the camshafts when the timing chain is removed, or installing the camshafts 180 degrees out of position, can cause severe damage to the valves and pistons.


Note
^ Lubricate the camshaft journals and bearing caps with clean engine oil.





18. Install the crankshaft sprocket, crankshaft sprocket diamond washers, oil pump chain and oil pump sprocket.
^ The crankshaft sprocket flange must be facing away from the engine block.

Note
^ Install a crankshaft sprocket diamond washer on both sides of the crankshaft sprocket.

19. Install the oil pump chain, sprocket and bolt.
^ Tighten to 25 N-m (2.5 kgf-m, 18 ft-lbf).





20. Install the oil pump chain tensioner shoulder bolt.
^ Tighten to 10 N-m (1.0 kgf-m, 89 in-lbf).





21. Install the oil pump chain tensioner. Hook the tensioner spring around the shoulder bolt.
^ Tighten to 10 N-m (1.0 kgf-m, 89 in-lbf).





22. Install the special tool in the slots on the rear of both camshafts.





Caution
^ The special tool 303-465 is for camshaft alignment only. Using this tool to prevent engine rotation can result in engine damage.


23. Install the camshaft sprockets and the bolts. Do not tighten the bolts at this time.





24. Install the LH timing chain guide and the bolts.
^ Tighten to 10 N-m (1.0 kgf-m, 89 in-lbf).





25. Install the timing chain.





26. Install the RH timing chain guide.





27. Using the edge of a vise, compress the timing chain tensioner plunger.





Caution
^ Do not compress the ratchet assembly. This will damage the ratchet assembly.


28. Using a small pick, push back and hold the ratchet mechanism.





29. While holding the ratchet mechanism, push the ratchet arm back into the tensioner housing.





30. Install a paper clip into the hole in the tensioner housing to hold the ratchet assembly and the plunger in during installation.





31. Install the timing chain tensioner and the bolts. Remove the paper clip to release the piston.
^ Tighten to 10 N-m (1.0 kgf-m, 89 in-lbf).





32. Using the flats on the camshafts to prevent camshaft rotation, tighten the bolts.
^ Tighten to 72 N-m (7.3 kgf-m, 53 ft-lbf).





Caution
^ The special tool 303-465 is for camshaft alignment only. Using this tool to prevent engine rotation can result in engine damage.


33. Clean and inspect the mounting surfaces of the engine and the front cover.

Caution
^ Do not use metal scrapers, wire brushes, power abrasive disks or other abrasive means to clean sealing surfaces. These tools cause scratches and gouges which make leak paths.


34. Apply a 2.5 mm (0.09 in) bead of silicone gasket and sealant to the cylinder head and oil pan joint areas. Apply a 2.5 mm (0.09 in) bead of silicone gasket and sealant to the front cover.





Note
^ The engine front cover must be installed and the bolts tightened within 4 minutes of applying the silicone gasket and sealant.

35. Install the engine front cover. Tighten the bolts in the sequence shown, to the following specifications:
^ Tighten the 8 mm bolts to 10 N-m (1.0 kgf-m, 89 in-lbf).
^ Tighten the 13 mm bolts to 48 N-m (4.9 kgf-m, 35 ft-lbf).





36. Using the special tool, install a new crankshaft front oil seal.





Note
^ Remove the through bolt from the special tool.

Note
^ Lubricate the oil seal with clean engine oil.

37. Position the crankshaft pulley onto the crankshaft with the hole in the pulley at the 6 o'clock position.





Caution
^ Do not install the crankshaft pulley bolt at this time.


Note
^ Apply clean engine oil on the seal area before installing.

38. Install a standard 6 mm (0.23 in) x 18 mm (0.7 in) bolt through the crankshaft pulley and thread it into the front cover.





Caution
^ Only hand-tighten the 6 mm (0.23 in) bolt or damage to the front cover can occur.


Note
^ This step will correctly align the crankshaft pulley to the crankshaft.

39. Assemble the special tools using 4 hardened washers in the location shown.





40. Install a new crankshaft pulley bolt. Using the special tools to hold the crankshaft pulley in place, tighten the crankshaft pulley bolt in 2 stages:
^ Stage 1: Tighten to 100 N-m (10.2 kgf-m, 74 ft-lbf).
^ Stage 2: Tighten an additional 90 degrees (1/4 turn).





Caution
^ The crankshaft must remain in the TDC position during installation of the pulley bolt or damage to the engine can occur. Therefore, the crankshaft pulley must be held in place with the special tool and the bolt should be installed using hand tools only.


Caution
^ Do not reuse the crankshaft pulley bolt.


41. Remove the 6 mm (0.23 in) x 18 mm (0.7 in) bolt.





42. Remove the special tool.





43. Remove the special tool.





44. Turn the crankshaft clockwise 1 and 3/4 turns.

Note
^ Only turn the engine in the normal direction of rotation.

45. Install the special tool.





46. Turn the crankshaft clockwise until the crankshaft contacts the special tool.





Note
^ Only turn the engine in the normal direction of rotation.

47. Using the 6 mm (0.23 in) x 18 mm (0.7 in) bolt, check the position of the crankshaft pulley.
^ If it is not possible to install the bolt, the engine valve timing must be corrected.





Caution
^ Only hand-tighten the bolt or damage to the front cover can occur.


48. Using the special tool, check the position of the camshafts.
^ If it is not possible to install the special tool, the engine valve timing must be corrected.





49. Remove the special tool.





50. Install a new crankshaft position (CKP) sensor and the 2 bolts.
^ Do not tighten the bolts at this time.





Note
^ Whenever the crankshaft position (CKP) sensor is removed, a new one must be installed using the alignment tool supplied with the new part.

51. Adjust the CKP sensor with the alignment tool.
^ Tighten the 2 CKP bolts to 7 N-m (0.7 kgf-m, 62 in-lbf).





Note
^ The CKP sensor alignment tool is supplied with the new sensor and is not available separately.

52. Remove the 6 mm (0.23 in) x 18 mm (0.7 in) bolt.





53. Remove the special tool.





54. Install the engine plug bolt.
^ Tighten to 20 N-m (2-0 kgf-m, 15 ft-lbf).





55. Clean the valve cover gasket surface with metal surface cleaner.

Caution
^ Do not use metal scrapers, wire brushes, power abrasive discs or other abrasive means to clean the sealing surfaces. These tools cause scratches and gouges which make leak paths.