Operation CHARM: Car repair manuals for everyone.
Manuals through 2025 now available!

Our trusted friends have launched a new website named LEMON, which has newer manuals. It also contains all the CHARM manuals.

LEMON is the spiritual successor to CHARM, I recommend you try it!

Link: lemon-manuals.la or lemon-manuals.org.ua

(Some people have issue connecting. LEMON is investigating. For now, use Firefox or change your DNS server)

Or, hide this message: temporarily or permanently

Part 2

ENGINE - 2.3L ASSEMBLY Continued

56. Apply silicone gasket and sealant to the locations shown.





57. Install the valve cover.
^ Tighten the bolts in the sequence shown to 10 N-m (1.0 kgf-m, 89 in-lbf).





Note
^ The valve cover must be secured within 4 minutes of silicone gasket application. If the valve cover is not secured within 4 minutes, the sealant must be removed and the sealing area cleaned with metal surface cleaner.

58. Install a new cylinder head temperature (CHT) sensor and the spark plugs.
^ Tighten the CHT sensor to 12 N-m (1.2 kgf-m, 9 ft-lbf).
^ Tighten the spark plugs to 12 N-m (1.2 kgf-m, 9 ft-lbf).





Caution
^ Only use hand tools when removing or installing the spark plugs or damage may occur to the cylinder head or spark plug.


59. Install the coil-on-plugs, bolts and the crank case vent tube.
^ Tighten to 8 N-m (0.8 kgf-m, 71 in-lbf).





Note
^ Apply dielectric compound to the inside of the coil-on-plug boots.

60. If equipped, install the block heater.
^ Tighten to 21 N-m (2.1 kgf-m, 15 ft-lbf).





61. Install the crankcase vent oil separator and the knock sensor (KS).
^ Tighten the oil separator bolts to 10 N-m (1.0 kgf-m, 89 in-lbf).
^ Tighten the KS to 20 N-m (2.0 kgf-m, 15 ft-lbf)





Note
^ The KS must not touch the crankcase vent oil separator.

62. Install the coolant hoses.





63. Install the coolant hose.





64. Install the coolant hose.





65. Position the engine control wiring harness on the engine and connect the CHT sensor and install the rubber boot.





66. Attach the wiring harness retainer.





67. Connect the coil-on-plug and camshaft position (CMP) sensor electrical connectors.





68. Connect the exhaust gas recirculation (EGR) valve and radio interference capacitor electrical connectors. Attach the wiring harness retainer.





69. Attach the wiring harness retainer.





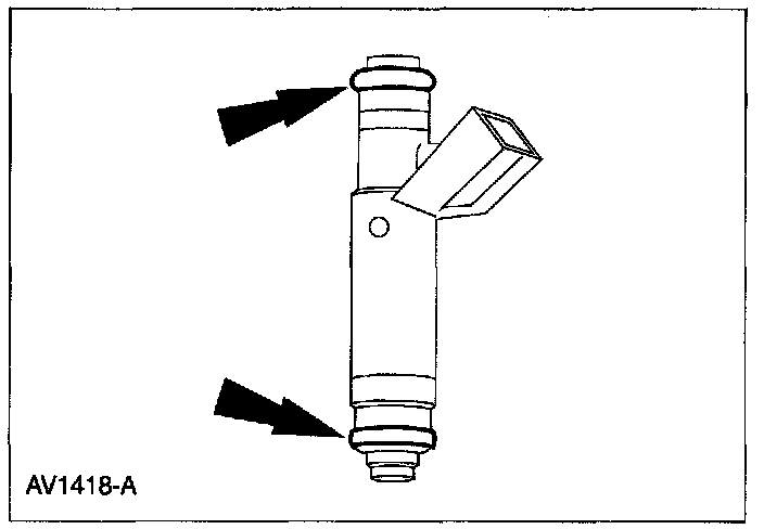
70. Install new fuel injector O-rings.
^ Separate the fuel injectors from the fuel rail.
^ Remove and discard the fuel injector O-rings.
^ Install new O-rings and lubricate with clean engine oil.
^ Install the fuel injectors onto the fuel rail.





Caution
^ Use O-ring seals that are made of special fuel-resistant material. Use of ordinary O-rings can cause the fuel system to leak. Do not reuse the O-ring seals.


71. Install the fuel rail with the fuel injectors and stud bolts.
^ Tighten to 23 N-m (2.3 kgf-m, 17 ft-lbf).





72. Install the radio capacitor and nut,
^ Tighten to 10 N-m (1.0 kgf-m, 89 in-lbf).





73. Connect the 4 fuel injector electrical connectors. Attach the 2 wiring harness retainers.





74. Install the EGR tube.
^ Tighten to 55 N-m (5.6 kgf-m, 41 ft-lbf).





75. Position the intake manifold and connect the positive crankcase ventilation hose.





76. Install the intake manifold gaskets and intake manifold.
^ Tighten to 18 N-m (1.8 kgf-m, 13 ft-lbf).





Note
^ Inspect and install new intake manifold gaskets, if necessary.

77. Connect the throttle position (TP) sensor electrical connector.





78. Connect the radio capacitor electrical connector.
79. Connect the fuel rail pressure and temperature sensor electrical connector and vacuum tube.





80. Connect the swirl control valve electrical connector.








81. Connect the idle air control (IAC) motor electrical connector.





82. Connect the temperature manifold absolute pressure (TMAP) sensor electrical connector.





83. Connect the KS and attach the 2 wiring harness retainers.





84. Attach the 2 wiring harness retainers.





85. If removed, install the capacitor and bolt.
^ Tighten to 20 N-m (2.0 kgf-m, 15 ft-lbf).





86. Install the oil filter adapter with a new gasket.
^ Tighten to 25 N-m (2.5 kgf-m, 18 ft-lbf).





Note
^ Clean the gasket mating surfaces with metal surface cleaner.

87. Install a new oil filter.
^ Tighten the oil filter 3/4 turn after the oil filter gasket makes contact with the oil filter adapter.





88. Connect the engine oil pressure (EOP) switch electrical connector.





89. Install the oil level indicator and bolt.
^ Tighten to 10 N-m (1.0 kgf-m, 89 in-lbf).





Note
^ Install a new O-ring on the oil level indicator tube and lubricate with clean engine oil prior to installing.

90. Install the thermostat housing and bolts.
^ Tighten to 10 N-m (1.0 kgf-m, 89 in-lbf).





Note
^ Clean and inspect the thermostat housing gasket. Install a new gasket, if necessary.

91. Attach the 2 wiring harness retainers.





92. Install the coolant pump and bolts.
^ Tighten to 10 N-m (1.0 kgf-m, 89 in-lbf).





Note
^ Clean the coolant pump mating surface with metal surface cleaner.

Note
^ Lubricate the coolant pump O-ring with clean engine coolant.

93. Install the coolant pump pulley and 3 bolts.
^ Tighten to 20 N-m (2.0 kgf-m, 15 ft-lbf).





94. Install the accessory drive belt idler pulley and bracket and the 3 bolts.
^ Tighten to 25 N-m (2.0 kgf-m, 18 ft-lbf).





95. Install the accessory drive belt idler pulley.
^ Tighten to 48 N-m (4.8 kgf-m, 35 ft-lbf).





96. Install the generator, nut and bolts.
^ Tighten to 48 N-m (4.8 kgf-m, 35 ft-lbf).





Front Wheel Drive (FWD) Vehicles
97. Install 7 new exhaust manifold studs in the cylinder head.
^ Tighten to 17 N-m (1.7 kgf-m, 13 ft-lbf).
98. Install the new exhaust manifold gasket on the engine.
99. Position the catalytic converter and tighten the 7 new exhaust manifold nuts in the sequence shown in 2 stages.
^ Stage 1: Tighten to 48 N-m (4.8 kgf-m, 35 ft-lbf).
^ Stage 2: Tighten to 48 N-m (4.8 kgf-m, 35 ft-lbf).





Caution
^ Failure to tighten the catalytic converter nuts to specification before installing the converter bracket bolts will cause the converter to develop an exhaust leak.


Caution
^ Failure to tighten the catalytic converter nuts to specification a second time will cause the converter to develop an exhaust leak.


Note
^ Make sure to tighten the nuts in the sequence in 2 stages.

100. Install the heat shield and the 6 bolts.
^ Tighten to Tighten to 10 N-m (1.0 kgf-m, 89 in-lbf).





101. Install the 2 catalytic converter bracket bolts.
^ Tighten to 25 N-m (2.5 kgf-m, 18 ft-lbf).





All Vehicles

102. Connect the generator electrical connections and install the nut.
^ Tighten to 6 N-m (0.6 kgf-m, 53 in-lbf).





103. Connect the CKP sensor electrical connector.





104. Using the heavy duty floor crane and spreader bar, remove the engine from the engine stand.

Vehicles with Automatic Transaxles

105. Install the flexplate and the bolts. Tighten the bolts in the sequence shown in 3 stages.
^ Stage 1: Tighten to 50 N-m (5.1 kgf-m, 37 ft-lbf).
^ Stage 2: Tighten to 80 N-m (8.2 kgf-m, 59 ft-lbf).
^ Stage 3: Tighten to 112 N-m (11.4 kgf-m, 83 ft-lbf).





Vehicles with Manual Transaxles

106. Install the flywheel and the bolts. Tighten the bolts in the sequence shown in 3 stages.
^ Stage 1: Tighten to 50 N-m (5.1 kgf-m, 37 ft-lbf).
^ Stage 2: Tighten to 80 N-m (8.2 kgf-m, 59 ft-lbf).
^ Stage 3: Tighten to 112 N-m (11.4 kgf-m, 83 ft-lbf).





107. Install the starter motor isolator.





108. Lubricate the transaxle input shaft pilot bearing with front axle grease.





109. Using the special tool, position the clutch disc on the flywheel.





110. Position the clutch pressure plate and install the bolts.
^ Tighten to 29 N-m (2.9 kgf-m, 21 ft-lbf) in a star pattern sequence.

Note
^ If reusing the clutch pressure plate and flywheel, align the marks made during removal.