Operation CHARM: Car repair manuals for everyone.
Manuals through 2025 now available!

Our trusted friends have launched a new website named LEMON, which has newer manuals. It also contains all the CHARM manuals.

LEMON is the spiritual successor to CHARM, I recommend you try it!

Link: lemon-manuals.la or lemon-manuals.org.ua

(Some people have issue connecting. LEMON is investigating. For now, use Firefox or change your DNS server)

Or, hide this message: temporarily or permanently

Part 3

ENGINE OBD II MONITORS

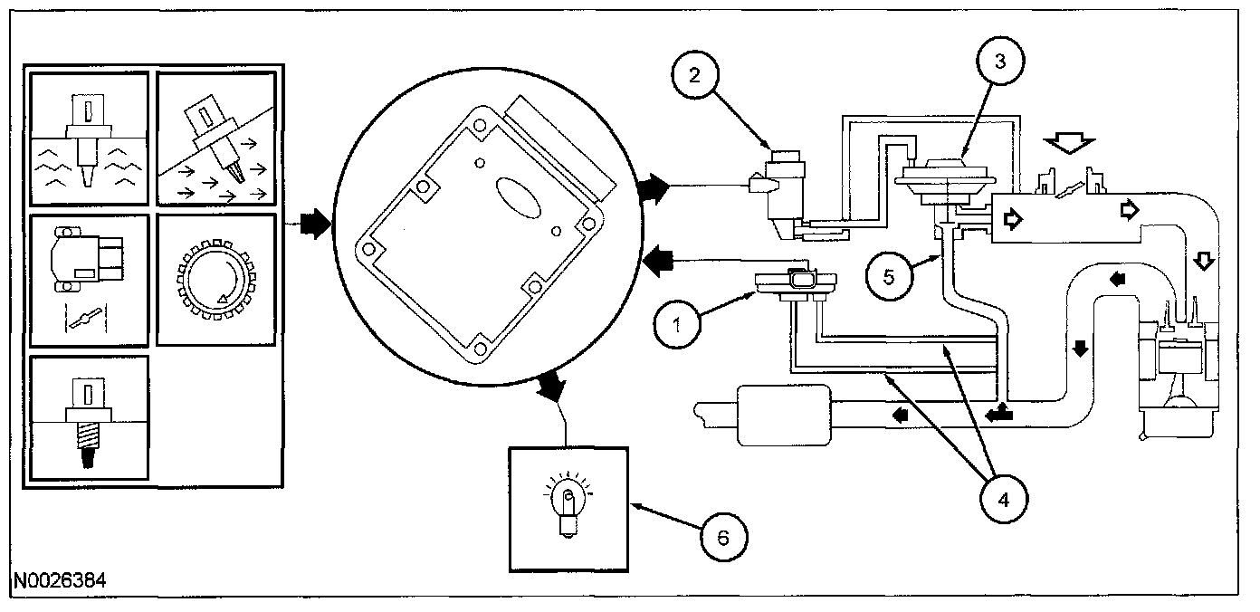
Exhaust Gas Recirculation (EGR) System Monitor - Differential Pressure Feedback EGR
The EGR system monitor is an on-board strategy designed to test the integrity and flow characteristics of the EGR system. The monitor is activated during EGR system operation and after certain base engine conditions are satisfied. Input from the engine coolant temperature (ECT) or cylinder head temperature (CHT), intake air temperature (IAT), throttle position (TP), and crankshaft position (CKP) sensors is required to activate the monitor. Once activated, the EGR system monitor carries out each of the tests described below during the engine modes and conditions indicated. Some of the EGR system monitor tests are also carried out during an on-demand self-test.
1. The differential pressure feedback EGR sensor and circuit are continuously tested for opens and shorts. The monitor checks for the differential pressure feedback EGR circuit voltage to exceed the maximum or minimum allowable limits.
1. The DTCs associated with this test are P0405 and P0406.

2. The EGR vacuum regulator solenoid is continuously tested for opens and shorts. The monitor looks for an EVR circuit voltage that is inconsistent with the EVR circuit commanded output state.
1. The DTC associated with this test is P0403.

3. The test for a stuck open EGR valve or EGR flow at idle is continuously carried out at idle (TP sensor indicating closed throttle). The monitor compares the differential pressure feedback EGR circuit voltage at idle to the differential pressure feedback EGR circuit voltage stored during key on engine off (KOEO) to determine if EGR flow is present at idle.
1. The DTC associated with this test is DTC P0402.

4. The differential pressure feedback EGR sensor hoses are tested once per drive cycle for disconnection and plugging. The test is carried out with the EGR valve closed and during a period of acceleration. The PCM momentarily commands the EGR valve closed. The monitor looks for the differential pressure feedback EGR sensor voltage to be inconsistent for a no flow voltage. A voltage increase or decrease during acceleration while the EGR valve is closed may indicate a malfunction with a signal hose during this test.
1. The DTCs associated with this test are P1405 and P1406 (differential pressure feedback EGR systems only).

5. The EGR flow rate test is carried out during a steady state when the engine speed and load are moderate and the EGR vacuum regulator duty cycle is high. The monitor compares the actual differential pressure feedback EGR circuit voltage to a desired EGR flow voltage for that state to determine if the EGR flow rate is acceptable or insufficient. This is a system test and may trigger a DTC for any malfunction causing the EGR system to fail.
The DTC associated with this test is P0401. DTC P1408 is similar to P0401 but is carried out during key on engine running (KOER) self-test conditions.
6. The MIL is activated after one of the above tests fails on 2 consecutive drive cycles.






EGR System Monitor - Differential Pressure Feedback EGR

Fuel System Monitor
The fuel system monitor is an on-board strategy designed to monitor the fuel control system. The fuel control system uses fuel trim tables stored in the PCM keep alive memory (KAM) to compensate for the variability that occurs in fuel system components due to normal wear and aging. Fuel trim tables are based on air mass. During closed-loop fuel control, the fuel trim strategy learns the corrections needed to correct a biased rich or lean fuel system. The correction is stored in the fuel trim tables. The fuel trim has 2 means of adapting: long term fuel trim and a short term fuel trim. See POWERTRAIN CONTROL SOFTWARE, FUEL TRIM. Long term fuel trim relies on the fuel trim tables and short term fuel trim refers to the desired air/fuel ratio parameter called LAMBSE. LAMBSE is calculated by the PCM from the heated oxygen sensor (HO2S) inputs and helps maintain a 14.7:1 air/fuel ratio during closed-loop operation. Short term fuel trim and long term fuel trim work together. If the HO2S indicates the engine is running rich, the PCM corrects the rich condition by moving the short term fuel trim into the negative range, less fuel to correct for a rich combustion. If after a certain amount of time the short term fuel trim is still compensating for a rich condition, the PCM learns this and moves the long term fuel trim into the negative range to compensate and allow the short term fuel trim to return to a value near 0%. Inputs from the engine coolant temperature (ECT) or cylinder head temperature (CHT), intake air temperature (IAT), mass air flow (MAF) sensors are required to activate the fuel trim system, which in turn activates the fuel system monitor. Once activated, the fuel system monitor looks for the fuel trim tables to reach the adaptive clip (adaptive limit) and LAMBSE to exceed a calibrated limit. The fuel system monitor stores the appropriate DTC when a malfunction is detected as described below.

1. The HO2S detects the presence of oxygen in the exhaust and provides the PCM with feedback indicating air/fuel ratio.
2. A correction factor is added to the fuel injector pulse width calculation and the mass air flow calculation, according to the long and short term fuel trims as needed to compensate for variations in the fuel system.
3. When deviation in the LAMBSE parameter increases, air/fuel control suffers and emissions increase. When LAMBSE exceeds a calibrated limit and the fuel trim table has clipped, the fuel system monitor sets a DTC as follows:
The DTCs associated with the monitor detecting a lean shift in fuel system operation are P0171 (Bank 1) and P0174 (Bank 2).
The DTCs associated with the monitor detecting a rich shift in fuel system operation are P0172 (Bank 1) and P0175 (Bank 2).
4. The MIL is activated after a malfunction is detected on 2 consecutive drive cycles.

Typical fuel system monitor entry conditions:
- RPM range greater than idle
- Air mass range greater than 5.67 g/sec (0.75 lb/min)
- Purge duty cycle of 0%

Typical fuel monitor thresholds:
- Lean Condition Malfunction: LONGFT greater than 25%, SHRTFT greater than 5%
- Rich Condition Malfunction: LONGFT less than 25%, SHRTFT less than 10%






Fuel System Monitor

Heated Oxygen Sensor (HO2S) Monitor
The HO2S monitor is an on-board strategy designed to monitor the HO2S sensors for malfunctions or deterioration which can affect emissions. The fuel control or stream 1 HO2S are checked for correct output voltage and response rate. Response rate is the time it takes to switch from lean to rich or rich to lean. Stream 2 HO2S sensors are used for catalyst monitoring, and stream 3 HO2S sensors used for fore-aft oxygen sensor (FAOS) control are also monitored for correct output voltage. Input is required from the camshaft position (CMP), crankshaft position (CKP), engine coolant temperature (ECT) or cylinder head temperature (CHT), fuel rail pressure (FRP), fuel tank pressure (FTP), intake air temperature (IAT), mass air flow (MAF), manifold absolute pressure (MAP), and throttle position (TP) sensors and the vehicle speed sensor (VSS) to activate the HO2S monitor. The fuel system monitor and misfire detection monitor must also have completed successfully before the HO2S monitor is enabled.
1. The HO2S senses the oxygen content in the exhaust flow and outputs a voltage between 0 and 1.0 volt. Lean of stoichiometric, air/fuel ratio of approximately 14.7:1, the HO2S generates a voltage between 0 and 0.45 volt. Rich of stoichiometric, the HO2S generates a voltage between 0.45 and 1.0 volt. The HO2S monitor evaluates the stream 1 (fuel control), stream 2 (catalyst monitor), and stream 3 (FAOS control) HO2S for correct function.
2. The time between HO2S switches is monitored after vehicle start-up and during closed loop fuel conditions. Excessive time between switches or no switches since start-up indicates a malfunction. Since lack of switching malfunctions can be caused by HO2S sensor malfunctions or by shifts in the fuel system, DTCs are stored that provide additional information for the lack of switching malfunction. Different DTCs indicate whether the sensor always indicates lean/disconnected (P2195 or P2197), or always indicates rich (P2196 or P2198). The HO2S signal is also monitored for high voltage, in excess of 1.1 volts and stores a unique DTC (P0132 or P0152). An over-voltage condition is caused by a HO2S heater or battery power short to the HO2S signal line.
A functional test of the rear HO2S sensors is done during normal vehicle operation. The peak rich and lean voltages are continuously monitored. Voltages that exceed the calibrated rich and lean thresholds indicate a functional sensor. If the voltages have not exceeded the thresholds after a long period of vehicle operation, the air/fuel ratio may be forced rich or lean in an attempt to get the rear sensor to switch. This situation normally occurs only with a green, less than 804.7 km (500 mi), catalyst. If the sensor does not exceed the rich and lean peak thresholds, a malfunction is indicated.
3. The MIL is activated after a malfunction is detected on 2 consecutive drive cycles.

The HO2S monitor DTCs can be categorized as follows:
- P0040, P0041 - Swapped HO2S connectors
- P0053, P0054, P0055, P0059, P0060 - HO2S heater resistance
- P0132, P0138, P0144, P0152, P0158 - HO2S circuit high voltage
- P0133, P0139, P0153, P0159 - HO2S slow response rate
- P0135, P0141, P0155, P0161, P0147 - HO2S heater circuit
- P1127 - Downstream HO2S not running in on-demand self-test
- P2195, P2196, P2197, P2198, P2270, P2271, P2272, P2273, P2274, P2275 - HO2S lack of switching






Heated Oxygen Sensor (HO2S) Monitor

Misfire Detection Monitor
The misfire detection monitor is an on-board strategy designed to monitor engine misfire and identify the specific cylinder in which the misfire has occurred. Misfire is defined as lack of combustion in a cylinder due to absence of spark, poor fuel metering, poor compression, or any other cause. The misfire detection monitor is enabled only when certain base engine conditions are first satisfied. Input from the engine coolant temperature (ECT) or cylinder head temperature (CHT), intake air temperature (IAT), mass air flow (MAF) sensors is required to enable the monitor. The misfire detection monitor is also carried out during an on-demand self-test.
1. The PCM synchronized ignition spark is based on information received from the CKP sensor. The CKP signal generated is also the main input used in determining cylinder misfire.
2. The input signal generated by the CKP sensor is derived by sensing the passage of teeth from the crankshaft position wheel mounted on the end of the crankshaft.
3. The input signal to the PCM is then used to calculate the time between CKP edges and also crankshaft rotational velocity and acceleration. By comparing the accelerations of each cylinder event, the power loss of each cylinder is determined. When the power loss of a particular cylinder is sufficiently less than a calibrated value and other criteria is met, then the suspect cylinder is determined to have misfired.
4. The MIL is activated after one of the above tests fail on 2 consecutive drive cycles.






Misfire Detection Monitor

Misfire Monitor Operation
There are 2 different misfire monitoring technologies used. They are low data rate (LDR) and high data rate (HDR). The LDR system is capable of meeting the federal test procedure monitoring requirements on most engines and is capable of meeting the full-range of misfire monitoring requirements on 4-cylinder engines. The HDR system is capable of meeting the full-range of misfire monitoring requirements on 6 cylinder engines. The HDR on these engines meets the full-range of misfire phase-in requirements specified in the OBD regulations. Both engines are full-range capable. All software allows for detection of any misfires that occur 6 engine revolutions after initially cranking the engine. This meets the OBD requirement to identify misfires within 2 engine revolutions after exceeding the warm drive, idle RPM.

Low Data Rate System (LDR)
The LDR misfire monitor uses a low data rate crankshaft position signal, one position reference signal at 10 degrees before top dead center (BTDC) for each cylinder event. The PCM calculates the crankshaft rotational velocity for each cylinder from this crankshaft position signal. The acceleration for each cylinder can then be calculated using successive velocity values. The changes in overall engine RPM are removed by subtracting the median engine acceleration over a complete engine cycle. The resulting deviant cylinder acceleration values are used in evaluating misfire in the Generic Misfire Processing below.

High Data Rate System (HDR)
The HDR misfire monitor uses a high data rate crankshaft position signal, 18 position references per crankshaft revolution. This high resolution signal is processed using 2 different algorithms. The first algorithm is optimized to detect hard misfires on one or more continuously misfiring cylinders. The low pass filter filters the high-resolution crankshaft velocity signal to remove some of the crankshaft torsional vibrations that degrade signal to noise. Two low pass filters are used to enhance detection capability - a base filter and a more aggressive filter to enhance single-cylinder capability at higher RPM. This significantly improves detection capability for continuous misfires on single cylinders at redline. The second algorithm, called pattern cancellation, is optimized to detect low rates of misfire. The algorithm learns the normal pattern of cylinder accelerations from the mostly good firing events and is then able to accurately detect deviations from that pattern. Both the hard misfire algorithm and the pattern cancellation algorithm produce a deviant cylinder acceleration value, which is used in evaluating misfire in the Generic Misfire Processing below. Due to the high data processing requirements, the HDR algorithms could not be implemented in the PCM microprocessor. They are implemented in a separate chip in the PCM called an AICE chip. The PCM microprocessor communicates with the AICE chip using a dedicated serial communication link. The AICE chip sends the cylinder acceleration values back to the PCM microprocessor for additional processing as described below. Lack of serial communication between the AICE chip and the PCM microprocessor, or an inability to synchronize the crankshaft or camshaft sensors inputs sets a DTC. DTC P0606 is set if there is a lack of serial communication between the AICE chip and the PCM microprocessor. DTC P1336 is set if there is an inability to synchronize the crank or camshaft sensor inputs. This change was made to improve diagnosis. DTC P0606 generally results in PCM replacement while DTC P1336 points to a camshaft sensor that is out of synchronization with the crank. Profile correction software is used to learn and correct for mechanical inaccuracies in crankshaft tooth spacing under de-fueled engine conditions (requires 3 decelerations from 97 to 64 km/h (60 to 40 mph) with no-braking after the keep alive memory (KAM) has been reset). If the KAM has been reset, the PCM microprocessor initiates a special routine which computes correction factors for each of the 18 (or 20) position references and sends these correction factors back to the AICE chip to be used for subsequent misfire signal processing. These learned corrections improve the high RPM capability of the monitor. The misfire monitor is not active until a profile has been learned.

Generic Misfire Processing
The acceleration that a piston undergoes during a normal firing event is directly related to the amount of torque that cylinder produces. The calculated piston/cylinder acceleration value(s) are compared to a misfire threshold that is continuously adjusted based on inferred engine torque. Deviant accelerations exceeding the threshold are conditionally labeled as misfires. The calculated deviant acceleration value(s) are also evaluated for noise. Normally, misfire results in a nonsymmetrical loss of cylinder acceleration. Mechanical noise, such as rough roads or high RPM/light load conditions, will produce symmetrical acceleration variations. Cylinder events that indicate excessive deviant accelerations of this type are considered noise. Noise-free deviant acceleration exceeding a given threshold is labeled a misfire. The number of misfires are counted over a continuous 200 revolution and 1,000 revolution period. The revolution counters are not reset if the misfire monitor is temporarily disabled such as for negative torque mode. At the end of the evaluation period, the total misfire rate and the misfire rate for each individual cylinder is computed. The misfire rate is evaluated every 200 revolution period (Type A) and compared to a threshold value obtained from an engine speed/load table. This misfire threshold is designed to prevent damage to the catalyst due to sustained excessive temperature 871°C (1,600°F) for Pt/Pd/Rh conventional wash coat, 899°C (1,650°F) for Pt/Pd/Rh advanced washcoat and 982°C (1,800°F) for Pd-only high tech washcoat. If the misfire threshold is exceeded and the catalyst temperature model calculates a catalyst mid-bed temperature that exceeds the catalyst damage threshold, the MIL blinks at a 1 Hz rate while the misfire is present. If the threshold is again exceeded on a subsequent driving cycle, the MIL is illuminated. If a single cylinder is indicated to be consistently misfiring in excess of the catalyst damage criteria, the fuel injector to that cylinder may be shut off for a period of time to prevent catalyst damage. Up to 2 cylinders may be disabled at the same time. This fuel shut-off feature is used only on some 6-cylinder engines and is never used on 4-cylinder engines. Next, the misfire rate is evaluated every 1,000 revolution period and compared to a single (type B) threshold value to indicate if the emission-threshold exceeded, which can be either a single 1,000 over-rev event from start-up or 4 subsequent 1,000 over-rev events on a drive cycle after start-up. Many vehicles will set DTC P0316 if the type B threshold is exceeded during the first 1,000 revolutions after engine start-up. This DTC is stored in addition to the normal P03xx DTC that indicates the misfiring cylinder.

Profile Correction
Profile correction software is used to learn and correct for mechanical inaccuracies in the crankshaft position wheel tooth spacing. Since the sum of all the angles between the crankshaft teeth must equal 360 degrees, a correction factor can be calculated for each misfire sample interval that makes all the angles between individual teeth equal. To prevent any fueling or combustion differences from affecting the correction factors, learning is done during deceleration-fuel cutout. The correction factors are learned during closed-throttle, non-braking, de-fueled decelerations in the 97 to 64 km/h (60 to 40 mph) range after exceeding 97 km/h (60 mph) (likely to correspond to a freeway exit condition). In order to minimize the learning time for the correction factors, a more aggressive deceleration-fuel cutout strategy may be employed when the conditions for learning are present. The corrections are typically learned in a single deceleration, but can be learned during up to 3 such decelerations. The mature correction factors are the average of a selected number of samples. A low data rate misfire system will typically learn 4 such corrections in this interval, while a high data rate system will learn 36 or 40 in the same interval (data is actually processed in the AICE chip). In order to assure the accuracy of these corrections, a tolerance is placed on the incoming values such that an individual correction factor must be repeatable within the tolerance during learning. This is to reduce the possibility of learning corrections on rough road conditions which could limit misfire detection capability. Since inaccuracies in the wheel tooth spacing can produce a false indication of misfire, the misfire monitor is not active until the corrections are learned. In the event of battery disconnection or loss of keep alive memory (KAM), the correction factors are lost and must be relearned. If the software is unable to learn a profile after 2, 97 to 64 km/h (60 to 40 mph) deceleration cycles, DTC P0315 is set.

Misfire Monitor Specifications
Misfire monitor operation: DTCs P0300 to P0310 (random and specific cylinder misfire), P1336 (crankshaft/camshaft sensor range/performance), P0606 (control module processor), P0315 (crankshaft position system variation not learned), P0316 (misfire detected on start-up [first 1000 revolutions]). The monitor execution is continuous, misfire rate calculated every 200 or 1,000 revolutions. The monitor does not have a specific sequence. The CKP and CMP sensors have to be operating correctly to run the monitor. The monitoring duration is the entire driving cycle (see disablement conditions below).

Typical misfire monitor entry conditions: Entry condition minimum/maximum time since engine start-up is 0 seconds, engine coolant temperature is -7°C to 121°C (20°F to 250°F), RPM range is (full-range misfire certified, with 2 revolution delay) 2 revolutions after exceeding 150 RPM below drive idle RPM to redline on tach or fuel cutoff, profile correction factors learned in KAM are Yes, and the fuel tank level is greater than 15%

Typical misfire temporary disablement conditions: Closed throttle deceleration (negative torque, engine being driven), Fuel shut-off due to vehicle-speed limiting or engine-RPM limiting mode, and a high rate of change of torque (heavy throttle tip-in or tip out)

The profile learning operation includes DTC P0315 - unable to learn profile in 3, 97 to 64 km/h (60 to 40 mph) decelerations; monitor execution is once per KAM reset; The monitor sequence: profile must be learned before the misfire monitor is active; The CKP and CMP sensors are required to be OK; AICE communication errors, CKP/CMP in synch. The monitoring duration is 10 cumulative seconds in conditions (a maximum of 3, 97 to 64 km/h (60 to 40 mph) de-fueled decelerations).

Typical profile learning entry conditions: Entry conditions from minimum to maximum: Engine in deceleration-fuel cutout mode for 4 engine cycles the brakes are not applied, the engine RPM is 1,300 to 3,700 RPM, the change is less than 600 RPM, the vehicle speed is 48 to 112 km/h (30 to 70 mph), and the learning tolerance is 1%.