Operation CHARM: Car repair manuals for everyone.
Manuals through 2025 now available!

Our trusted friends have launched a new website named LEMON, which has newer manuals. It also contains all the CHARM manuals.

LEMON is the spiritual successor to CHARM, I recommend you try it!

Link: lemon-manuals.la or lemon-manuals.org.ua

(Some people have issue connecting. LEMON is investigating. For now, use Firefox or change your DNS server)

Or, hide this message: temporarily or permanently

Part 2

Components continued

50. Install the forward clutch component.





51. Apply a light coat of silicone sealant to the contact surfaces of the converter housing and the transaxle case.





52. Install the converter housing.

Tightening torque:
19-25 Nm (1.9-2.6 kgf-m, 14-18 ft. lbf.)





53. Install the SST into the differential side gears.
54. Apply ATF to the new O-ring and install it to the oil pump.





55. Install the oil pump.

Tightening torque:
19-25 Nm (1.9-2.6 kgf-m, 14-18 ft. lbf.)





56. Install the parking rod lever component.

Tightening torque:
19-25 Nm (1.9-2.6 kgf-m, 14-18 ft. lbf.)

57. Apply ATF to the new O-ring and install it to the manual shaft.
58. Install the manual shaft.





1) Install the manual shaft to the manual plate and detent bracket component.





2) Install the knock pin.





59. Install the accumulator component.








60. Install the coupler component.

Caution: Make sure that the head of the manual valve and the parking rod are assembled properly. If they are not, the ranges cannot be changed.





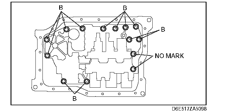
61. Install the primary control valve body.

Tightening torque:
7.8-10.8 Nm (80-110 kgf-cm, 69-95.5 in. lbf.)

Bolt length (measured from below the head)
B: 40 mm (1.575 in)
No mark: 70 mm (2.756 in)

62. Apply ATF to the new O-ring and install it to the oil strainer.





63. Install the oil strainer.
64. Match the harness colors, then connect the solenoid connector and TFT sensor.








65. Install the ground.

Tightening torque:
7.8-10.8 Nm (80-110 kgf-cm, 69-95.5 in. lbf.)

Warning: Using compressed air can cause dirt and other particles to fly out, causing injury to the eyes. Wear protective eye wear whenever using compressed air.

Caution:
^ Clean the transaxle exterior thoroughly with a steam cleaner or cleaning solvents before removal.
^ If any old sealant gets into the transaxle during installation of the oil pan, trouble may occur in the transaxle case and oil pan, and clean with cleaning fluids.






66. Apply a light coat of silicone sealant to the contact surfaces of oil pan and transaxle case.
67. Install the oil pan.

Tightening torque:
6-8 Nm (62-81 kgf-cm, 54-70 in. lbf.)

68. Apply ATF to the new O-ring and install it to the transaxle case.





69. Install the tubular pins.
70. Install the coupler component.





71. Install the secondary control valve body and ground.

Tightening torque:
7.8-10.8 Nm (80-110 kgf-cm, 69-95.5 in. lbf.)

Bolt length (measured from below the head)
B: 40 mm (1.575 in)
C: 50 mm (1.969 in)

72. Match the harness colors, then connect the solenoid connector.





Warning: Using compressed air can cause dirt and other particles to fly out, causing injury to the eyes. Wear protective eye wear whenever using compressed air.

Caution:
^ Clean the transaxle exterior thoroughly with a steam cleaner or cleaning solvents before removal.
^ If any old sealant gets into the transaxle during installation of the oil cover, trouble may occur in the transaxle case and oil pan, and clean with cleaning fluids.






73. Apply a light coat of silicone sealant to the contact surfaces of oil cover and transaxle case.
74. Install the oil cover.

Tightening torque:
7.8-10.8 Nm (80-110 kgf-cm, 69-95.5 in. lbf.)

75. Install the oil pipe and connector bolt.

Tightening torque:
24-35 Nm (2.4-3.6 kgf-cm, 18-26 in. lbf.)

76. Install the connector pipe.

Tightening torque:
24-35 Nm (2.4-3.6 kgf-cm, 18-26 in. lbf.)

77. Apply ATF to the new O-ring and install it to the intermediate sensor.
78. Install the intermediate sensor.

Tightening torque:
8-11 Nm (82-112 kgf-cm, 71-97 in. lbf.)

79. Apply ATF to the new O-ring and install it to the vehicle speed sensor.

80. Install the vehicle speed sensor.

Tightening torque:
8-11 Nm (82-112 kgf-cm, 71-97 in. lbf.)

81. Apply ATF to the new O-ring and install it to the input/turbine speed sensor.
82. Install the oil pressure switch.

Tightening torque:
17.1-22.1 Nm (1.75-2.25 kgf-m, 12.7-16.2 ft. lbf.)

83. Install the input/turbine speed sensor using a new bolt.

Caution:
^ Always use a new bolt. If the removed bolt is reused, it may cause oil leakage.
^ A sealant coating is applied to the input/turbine speed sensor installation bolt to prevent oil leakage from the installation bolt hole which passes through the component.


Tightening torque:
8-11 Nm (82-112 kgf-cm, 71-97 in. lbf.)





84. Install the transaxle range switch.
1) Rotate the manual shaft to the N position.








2) Turn the protrusion a resistance between the terminals B and C become 750 ohms.





3) Install the TR switch while aligning the protrusion and groove as shown.
4) hand-tighten the TR switch mounting bolts.





5) Inspect the resistance between the terminals B and C.
^ If not as specified, readjust the TR switch.

Resistance:
750 ohms

6) Tighten the TR switch mounting bolts

Tightening torque:
8-11 Nm (82-112 kgf-cm, 71-97 in. lbf.)

Caution: Do not use an impact wrench. Hold the manual shaft lever when removing the manual shaft nut, or the transaxle may be damaged.





7) Install the manual shaft lever and the washer.





8) Set the adjustable wrench as shown to hold the manual shaft lever, and tighten the manual shaft nut.

Tightening torque:
32-46 Nm (3.2-4.7 kgf-m, 24-33 ft. lbf.)

85. Remove the transaxle from the SST.
86. Apply ATF to the new O-ring and install it to the oil filler tube.
87. Install the oil dipstick and oil filler tube to the transaxle.

Tightening torque:
7.8-10.8 Nm (80-110 kgf-cm, 69-95.5 in. lbf.)

88. Drain any ATF remaining in the torque converter.
89. Pour in solvent (approx. 0.5 L (0.53 US qt, 0.44 Imp qt)),
90. Shake the torque converter to clean the inside.
91. Pour out the solvent.
92. Pour the ATF.





93. Install the torque converter by aligning its gap to the oil pump inner rotor gap as shown in the figure.





94. To ensure that the torque converter is installed accurately, measure distance A between the end of the torque converter and the end of the converter housing.

Between the end of the torque converter and the end of the converter housing
Distance A: 21.4 mm (0.84 in)