Operation CHARM: Car repair manuals for everyone.
Manuals through 2025 now available!

Our trusted friends have launched a new website named LEMON, which has newer manuals. It also contains all the CHARM manuals.

LEMON is the spiritual successor to CHARM, I recommend you try it!

Link: lemon-manuals.la or lemon-manuals.org.ua

(Some people have issue connecting. LEMON is investigating. For now, use Firefox or change your DNS server)

Or, hide this message: temporarily or permanently

Main Control Valve Body Removal/Installation

MAIN CONTROL VALVE BODY REMOVAL/INSTALLATION

Removal
1. With the vehicle in NEUTRAL, position it on a hoist.
2. Drain the engine coolant.
3. Remove the battery and tray.





4. Disconnect the wiring harness from the battery tray bracket.
5. Remove the battery tray bracket.








6. Disconnect the transaxle wiring harness electrical connector and the transaxle range (TR) sensor electrical connector.
7. Disconnect the shift cable.








8. Remove the shift cable and bracket and position it aside.





9. Remove the vent tube hose from the main control cover.





10. Remove the lower radiator hose and position aside.





11. Remove the transaxle fluid cooler tube bracket bolt.





12. Remove the main control cover bolts, studs and the cover.
13. Remove the main control cover gasket.





Note
^ Do not discard the gasket. It is a reusable type. Inspect the gasket for damage. Install a new gasket as necessary.





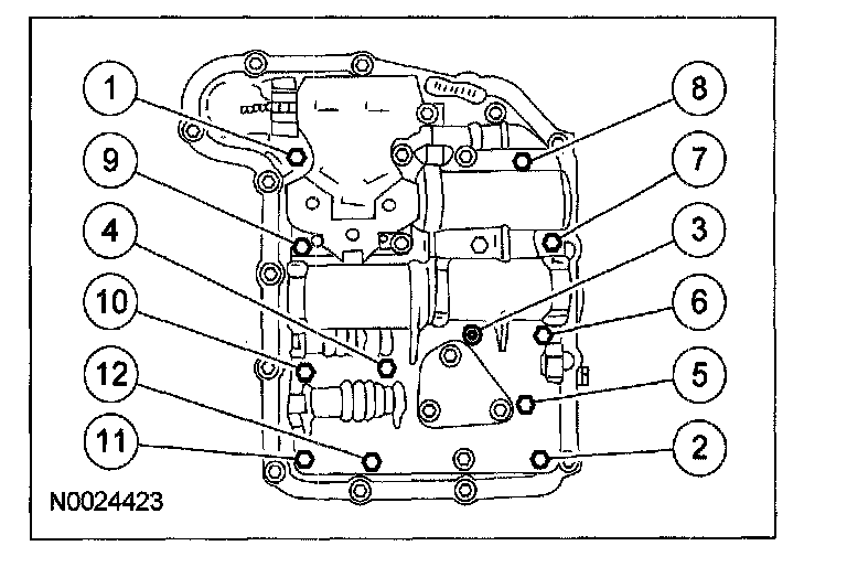
14. Remove the main control valve body bolts in the sequence shown.





15. Lift the main control valve body while disconnecting the manual valve link.

Note
^ Do not damage the manual valve.





16. Depress the retaining tabs and push the solenoid valve body electrical connector down through the transaxle case.





17. Make sure the manual valve control lever does not fall out of the main control valve body while removing it from the vehicle.

Installation





1. Install the manual control lever in the main control valve body.





2. Depress the retaining tabs and push the solenoid valve body electrical connector up through the transaxle case.

Note
^ Inspect the solenoid valve body harness connector O-ring seal for damage. If damaged, install a new O-ring seal, before installing the connector into the case.





3. Position the main control valve body in place while connecting the manual valve link.





4. Install the main control valve body assembly. Tighten the bolts in the sequence indicated.
^ Tighten to 10 N-m (1.0 kgf-m, 89 in-lbf).
5. Install the main control cover gasket.





Note
^ The main control cover gasket is a reusable type. Inspect the gasket for damage. Install a new gasket as necessary.





6. Install the main control cover. Tighten the bolts and studs in the indicated sequence.
^ Tighten to 13 N-m (1.3 kgf-m, 10 ft-lbf).

Note
^ Install the cooler bypass valve studs in locations 3 and 11.





7. Position the transaxle fluid cooler tube in place and install the bolt.
^ Tighten to 25 N-m (2.5 kgf-m, 18 ft-lbf).
8. Install the lower radiator hose.





9. Install the shift cable and bracket.





^ Tighten to 25 N-m (2.5 kgf-m, 18 ft-lbf).
10. Connect the shift cable end.








11. Connect the vent hose to the main control cover.





12. Connect the transaxle wiring harness electrical connector and the transaxle range (TR) sensor electrical connector.
13. Install the battery tray bracket.





^ Tighten to 10 N-m (1.0 kgf-m, 89 in-lbf).





14. Connect the wiring harness to the battery tray bracket.
15. Install the battery tray.
16. Fill the transaxle with clean automatic transaxle fluid.
17. Fill the engine coolant.
18. Start the engine and run through all the gears and check fluid level.