Operation CHARM: Car repair manuals for everyone.
Manuals through 2025 now available!

Our trusted friends have launched a new website named LEMON, which has newer manuals. It also contains all the CHARM manuals.

LEMON is the spiritual successor to CHARM, I recommend you try it!

Link: lemon-manuals.la or lemon-manuals.org.ua

(Some people have issue connecting. LEMON is investigating. For now, use Firefox or change your DNS server)

Or, hide this message: temporarily or permanently

Assembly

TRANSAXLE ASSEMBLY

Transaxle Assembly (Part 1):




Transaxle Assembly (Part 2):





Caution
^ Assembly should only be carried out in a clean environment or damage to the transaxle may occur.


Caution
^ Be careful not to scratch the sliding face or mating faces or damage to the transaxle may occur.


Caution
^ Visually inspect all parts for any damage, deformation or abnormal wear. Replace any unsuitable parts with new parts only or damage to the transaxle may occur.


Caution
^ Do not work on the transaxle with cotton gloves. Cotton threads could become dislodged and damage to the transaxle may occur.


Caution
^ Install all new retaining pins, oil seals, and bearings or damage to the transaxle may occur.


Caution
^ Make sure to clean the old sealant from the mating threads of any sealed bolt or damage to the transaxle may occur.






1. Using the special tools, install a new input shaft oil seal.





2. Using the special too[, install a new RH inter mediate shaft oil seal.
3. Install the funnel.
4. Install the mainshaft bearing.
5. Install the mainshaft bearing retainer and bolt.
6. Heat the clutch housing to 100°C (212°F) and install a new differential side bearing outer race.

Caution
^ Do not exceed 120°C (248°F) or damage to the clutch housing may occur.


7. Install the differential assembly.
8. Install the input shaft assembly, mainshaft assembly, and reverse gear idler shaft assembly as a set.

Caution
^ Make sure to install the mainshaft straight in. Failure to install the mainshaft correctly may result in damage to the funnel on the clutch housing.


9. Install the 1st/2nd gear shift fork.
10. Install the 1st/2nd gear shift rod.
11. Install a new 1st/2nd gear shift fork roll pin.
12. Install the 1st/2nd gear shift finger.
13. Install a new 1st/2nd gear shift finger roll pin.
14. Install the 1st/2nd gear check sleeve.
15. Install the 3rd/4th gear shift finger.
16. Install the 3rd/4th gear shift fork.
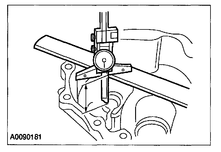
17. Install the 3rd/4th gear shift rod.
18. Install 2 new circlips.





19. Install a new 3rd/4th gear shift finger roll pin.
20. Install the 3rd/4th gear shift rod roll pin.
21. Install the 2 interlock pins.
22. Install the 5th/reverse gear bracket.
23. Install the 5th/reverse gear shift rod.
24. Install 2 new circlips.





25. Install the 5th gear shift fork.
26. Install a new 5th gear shift fork roll pin.
27. Install the reverse gear shift fork.
28. Install the reverse gear shift fork rod.
29. Install the shifter cap.





30. Lift the reverse gear shift fork and insert the cam part of the 5th/reverse gear bracket into the reverse level bracket.
31. Install the reverse lever bracket bolts.
^ Tighten to 14 N-m (1.4 kgf-m, 10 ft-lbf).
32. Install the magnet.
33. Install a new LH halfshaft oil seal.
34. Install a new plug.





35. Using a depth micrometer and a straightedge, measure and record the depth from the mating surface of the transaxle case to the differential side bearing adjustment shim mounting surface. Record this measurement as L1.





36. Using a depth micrometer and a straightedge, measure and record the depth from the mating surface of the clutch housing to the differential side bearing outer race outer surface. Record this measurement as L2.
^ Install the differential side bearing outer race on the differential bearing.
^ Holding the outer race in position using hand pressure, rotate the differential 5 times to seat the bearing races.
37. Select the shims to allow a preload of 0.15-0.21 mm (0.0059-0.0083 in) using the following formula: shim thickness = (L1-L2) + preload.

Note
^ Do not use more than 2 shims to achieve the desired shim thickness.

Note
^ Shims are available in thicknesses from 0.48-0.92 mm (0.0189-0.0366 in) in 0.04 mm (0.00157 in) increments.

38. Install the differential side bearing adjustment shim.
39. Heat the transaxle case to 100°C (212°F) and install a new differential side bearing outer race.

Caution
^ Do not exceed 120°C (248°F) or damage to the transaxle case may occur.


40. Temporarily install the mainshaft, mainshaft bearing and circlip.
41. Temporarily assemble the transaxle case.
42. Temporarily install and tighten the transaxle case bolts.





43. Using the special tool, measure and record the depth of the transaxle case to the mainshaft bearing surface when the circlip is expanded and mainshaft is raised to contact the transaxle case.
44. Release the circlip and allow the mainshaft to lower and engage the circlip. Measure and record the depth of the transaxle case to the mainshaft bearing surface,
45. Select the correct shim to allow an end play of 0.00-0.06 mm (0.00-0.0024 in)

Note
^ Do not use more than one shim to achieve the desired shim thickness.

Note
^ Shims are available in thicknesses from 0.44-1.08 mm (0.017-0.043 in) in 0.04 mm (0.00157 in) increments.

46. Remove the transaxle case.
47. Install the mainshaft adjustment shim.
48. Install a new snap ring.





49. Using a depth micrometer and a straightedge, measure and record the depth from the mating surface of the transaxle case to the input shaft adjustment shim mounting surface. Record this measurement as L1.





50. Using a depth micrometer and a straightedge, measure and record the depth from the mating surface of the clutch housing to the input shaft bearing outer race outer surface. Record this measurement as L2.
51. Select the shims to allow an end play of 0.00-0.06 mm (0.00-0.0024 in) using the following formula: shim thickness = (L1-L2)-end play.

Note
^ Do not use more than one shim to achieve the desired shim thickness.

Note
^ Shims are available in thicknesses from 0.40-1.72 mm (0.016-0.068 in) in 0.04 mm (0.00157 in) increments.

52. Install the input shaft adjustment shim.





53. Using a depth micrometer and a straightedge, measure and record the depth from the mating surface of the transaxle case to the reverse idler shaft adjustment shim mounting surface. Record this measurement as L1.





54. Using a depth micrometer and a straightedge, measure and record the depth from the mating surface of the clutch housing to the reverse idler shaft bearing surface. Record this measurement as L2.
55. Select the shims to allow an end play of 0.04-0.14 mm (0.001-0.005 in) using the following formula: shim thickness = (L1-L2)-end play.

Note
^ Do not use more than one shim to achieve the desired shim thickness.

Note
^ Shims are available in thicknesses from 1.76-2.64 mm (0-069-0.104 in) in 0.04 mm (0.00157 in) increments.

56. Install the reverse idler shaft adjustment shim.
57. Install the oil gutter.
58. Install the baffle plate.





59. Apply a continuous bead of silicone gasket and sealant.
60. Spread the circlip and install the transaxle case.
61. Install a new bore plug.
62. Install the transaxle case bolts.





^ Tighten to 52 N-m {5,2 kgf-m, 38 ft-lbf} in a cross pattern.

Note
^ The black colored bolt must be installed new, in the correct position, and tightened to 65 N-m (6.5 kgf-m, 48 ft-lbf).

63. Install the 3 check balls.
64. Install the 5th/reverse gear shift check sleeve.
65. Install the springs. See the following table for the correct color and location:





66. Install a new check plug in the 5th/reverse gearshift rod.
67. Install new check plugs in the 1st/2nd gear shift rod and the 3rd/4th gear shift rod.
68. Install a new shift assembly O-ring seal.
69. Install the shift assembly.
70. Install 4 new shift assembly bolts.
^ Tighten to 7 N-m (0.7 kgf-m, 62 in-lbf).
71. Install a new stopper bolt.
^ Tighten to 28 N-m (2.8 kgf-m, 21 ft-lbf).
72. Install a new shift check bolt.
^ Tighten to 24 N-m (2.4 kgf-m, 18 ft-lbf).
73. Install a new breather.
74. Install the reverse switch.
75. Install the neutral switch.
76. Install the transaxle drain plug, the fill plug, and the fill level inspection plug.
^ Install new plug washers.
^ Tighten the drain plug and the fill level inspection plug to 35 N-m (3.5 kgf-m, 26 ft-lbf).
^ Tighten the transaxle fill plug to 35 N-m (3.5 kgf-m, 26 ft-lbf).