Operation CHARM: Car repair manuals for everyone.
Manuals through 2025 now available!

Our trusted friends have launched a new website named LEMON, which has newer manuals. It also contains all the CHARM manuals.

LEMON is the spiritual successor to CHARM, I recommend you try it!

Link: lemon-manuals.la or lemon-manuals.org.ua

(Some people have issue connecting. LEMON is investigating. For now, use Firefox or change your DNS server)

Or, hide this message: temporarily or permanently

Part 2

ENGINE - 3.0L (4V) DISASSEMBLY Continued

41. Disconnect the 2 hoses and remove the thermostat housing.





42. Remove the nut, stud bolt and the coolant bypass tube.





43. Disconnect the water pump hose from the cylinder block outlet.





44. Remove the 3 bolts and the water pump.





45. Remove the nut and the radio interference adapter.





46. Remove the bolts and the RH valve cover.
^ Discard the gasket.





47. Remove the bolts and the LH valve cover.
^ Discard the gasket.





48. Remove the bolts studs and the oil pan.
^ Discard the gasket.





49. Remove the bolt, nut and the oil pump screen and pickup tube.





50. Remove and discard the O-ring seal.





51. Remove the nuts and the oil pan baffle.





52. Remove the 3 bolts, the accessory drive belt tensioner, LH and center idler pulley.





53. Use the special tool to hold the crankshaft pulley and remove the bolt.





54. Using the special tool, remove the crankshaft pulley.





55. Remove and discard the crankshaft front seal.





56. Remove the 14 bolts, 2 stud bolts and the front cover.
^ Discard the gaskets.





Caution
^ Do not use metal scrapers, wire brushes, power abrasive discs or other abrasive means to clean the sealing surface. These tools cause scratches and gouges which make leak paths. Use a plastic scraping tool to remove all traces of sealant.


57. Remove the ignition pulse wheel.





Note
^ The pulse wheel is used in several different engines. Install the pulse wheel with the keyway in the slot stamped "30" or "30RFF" (orange in color).

58. Remove the LH and RH sparks plugs.





Caution
^ Only use hand tools when removing or installing the spark plugs or damage can occur to the cylinder head or spark plug.


Note
^ LH shown, RH similar.

59. Install the crankshaft pulley bolt.





60. Rotate the crankshaft clockwise to position the crankshaft keyway in the 11 o'clock position and position the camshafts in the correct position. This will position the No. 1 cylinder at top dead center (TDC).
^ Verify that the camshafts are correctly located. If not, rotate the crankshaft one additional turn and recheck.





61. Rotate the crankshaft clockwise 120 degrees to the 3 o'clock position to locate the RH camshafts in the neutral position.





62. Verify that the RH camshafts are in the neutral position.





63. Remove the RH timing chain tensioner arm.
(1) Remove the 2 bolts.
(2) Remove the tensioner.
(3) Remove the tensioner arm.





64. Remove the bolts, RH timing chain guide and the timing chain.





65. Rotate the crankshaft clockwise 600 degrees (1-2/3 times) to position the crankshaft keyway in the 11 o'clock position. This will position the LH camshafts in the neutral position.





66. Verify that the LH camshafts are in the neutral position,





67. Remove the LH timing chain and tensioner arm.
(1) Remove the 2 bolts.
(2) Remove the tensioner.
(3) Remove the tensioner arm.





68. Remove the bolts, LH timing chain guide and timing chain.





69. Remove the crankshaft pulley bolt and the crankshaft sprocket.





70. Remove the 4 bolts in the sequence shown.
^ Remove the oil pump.





71. Using the special tools, remove the camshaft oil seal and discard.





Caution
^ Do not scratch the camshaft sealing surface while removing the camshaft oil seal. If scratched, camshaft oil seal leakage may occur.


72. Remove the 2 bolts and the camshaft oil seal retainer.
^ Discard the press-in-place gasket.





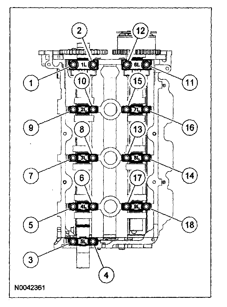
73. Loosen the bolts evenly in the sequence shown.
(1) Remove the camshaft bearing thrust caps (1L and 6L).
(2) Remove the remaining camshaft bearing caps.
(3) Remove the camshafts from the cylinder head.





Caution
^ Cylinder head camshaft bearing caps are numbered to verify that they are assembled in their original positions. If the numbers cannot be seen, mark the camshaft bearing caps prior to removing them. If not reassembled in their original positions, severe engine damage may occur.


Caution
^ After loosening all of the camshaft bearing cap bolts, remove the camshaft bearing thrust caps (1L and 6L) first, or damage to the thrust caps may occur.


74. Loosen the bolts evenly in the sequence shown.
(1) Remove the camshaft bearing thrust caps (5R and 1R).
(2) Remove the remaining camshaft bearing caps.
(3) Remove the camshafts from the cylinder head.





Caution
^ Cylinder head camshaft bearing caps are numbered to verify that they are assembled in their original positions. If the numbers cannot be seen, mark the camshaft bearing caps prior to removing them. If not reassembled in their original positions, severe engine damage may occur.


Caution
^ After loosening all of the camshaft bearing cap bolts, remove the camshaft bearing thrust caps (5R and 1R) first, or damage to the thrust caps may occur.


75. Remove the LH and RH camshaft followers.
^ Mark the location of the followers using a permanent-type marker.





Caution
^ The camshaft followers must be installed in their original position. If not reassembled in their original positions, severe engine damage may occur.


Note
^ The RH side is shown, the LH side is similar.

76. Remove the hydraulic lash adjusters.

Caution
^ The hydraulic lash adjusters must be installed in their original position. If not reassembled in their original positions, severe engine damage may occur.


77. Loosen the bolts in the indicated sequence and remove the LH and RH cylinder heads.
^ Discard the bolts and the gaskets,





Note
^ The RH side is shown, the LH side is similar.

78. Support the cylinder head on a bench with the head gasket side up.
79. Inspect all areas of the deck face with a straightedge and feeler gauge. The cylinder head must not have depressions deeper than 0.0254 mm (0.001 in) across a 38.1 mm (1.5 in) square area, or scratches more than 0.0254 mm (0.001 in).

Note
^ The straightedge must be flat within 0.0051 mm (0.0002 in) per foot of tool length.

80. Remove the bolts and the oil separator cover.
^ Discard the gasket.





81. Remove the crankshaft key.