Operation CHARM: Car repair manuals for everyone.
Manuals through 2025 now available!

Our trusted friends have launched a new website named LEMON, which has newer manuals. It also contains all the CHARM manuals.

LEMON is the spiritual successor to CHARM, I recommend you try it!

Link: lemon-manuals.la or lemon-manuals.org.ua

(Some people have issue connecting. LEMON is investigating. For now, use Firefox or change your DNS server)

Or, hide this message: temporarily or permanently

Intake Air Systems

Intake Air Systems

Overview
The intake air system provides clean air to the engine, optimizes air flow, and reduces unwanted induction noise. The intake air system consists of an air cleaner assembly, resonator assemblies, and hoses. Some vehicles use a hydrocarbon filter trap to help reduce emissions by preventing fuel vapor from escaping into the atmosphere from the intake when the engine is off. It is typically located inside the air intake system. The mass air flow (MAF) sensor is attached to the air cleaner assembly and measures the volume of air delivered to the engine. The hydrocarbon trap is part of the EVAP system. For more information on the EVAP system, see RESETTING EVAPORATIVE EMISSION (EVAP) SYSTEMS.

The MAF sensor can be replaced as an individual component. The intake air system also contains a sensor that measures the intake air temperature (IAT), which is also integrated with the MAF sensor.

Intake air components can be separate components or part of the intake air housing. The function of a resonator is to reduce induction noise. The intake air components are connected to each other and to the throttle body assembly with hoses.






Throttle Body System Overview

NOTE: The traditional idle air adjust procedure and the throttle return screw are no longer used on OBD applications

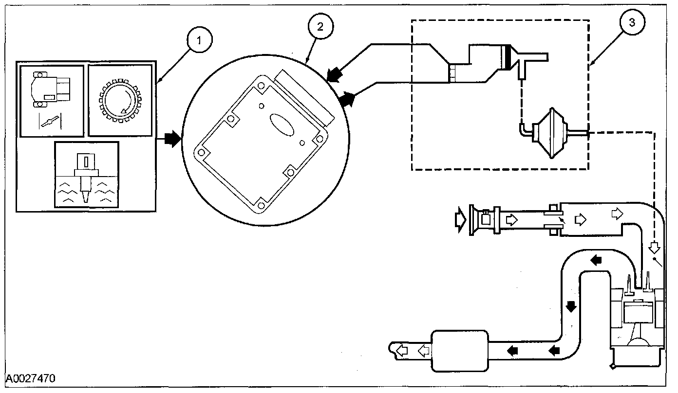
The throttle body system meters air to the engine during idle, part throttle, and wide open throttle (WOT) conditions. The throttle body system consists of an idle air control (IAC) valve assembly, an idle air orifice, single or dual bores with butterfly valve throttle plates, and a throttle position (TP) sensor. One other source of idle air flow is the positive crankcase ventilation (PCV) system. The combined idle air flow (from idle air orifice IAC flow and PCV flow) is measured by the MAF sensor on all applications.

During idle, the throttle body assembly provides a set amount of air flow to the engine through the idle air passage and the PCV valve. The IAC valve assembly provides additional air when commanded by the PCM to maintain the correct engine idle speed under varying conditions. The IAC valve assembly mounts directly to the intake manifold assembly in most applications. Idle speed is controlled by the PCM and cannot be adjusted.

Throttle rotation is controlled by a cam/cable linkage to slow the initial opening rate of the throttle plate. The TP sensor monitors the throttle position and provides a signal to the PCM. Some throttle body applications provide an air supply channel upstream of the throttle plate to provide fresh air to the PCV or IAC systems. Other throttle body applications provide individual vacuum taps downstream of the throttle plate for PCV return, exhaust gas recirculation (EGR), evaporative emission (EVAP), and miscellaneous control signals.

Throttle Body System Hardware
The major components of the throttle body assembly include the TP sensor, the IAC valve assembly, and the throttle body housing assembly.

Throttle Body Housing
The throttle body housing assembly is a single piece aluminum or plastic casting with an air passage and a butterfly throttle plate with linkage mechanisms. When the throttle plate is in the idle (or closed) position, the throttle lever arm should be in contact with the throttle return stop. The throttle return stop prevents the throttle plate from contacting the bore and sticking closed. The setting also establishes the amount of air flow between the throttle plate and bore. To minimize the closed plate air flow, a special coating is applied to the throttle plate and bore to help seal this area. This sealant/coating also makes the throttle body resistant to engine intake sludge accumulation.

Features of the Throttle Body Assembly include:
1. IAC valve assembly mounted directly to the throttle body assembly (some vehicles).
2. A pre-set stop to locate the WOT position.
3. An air supply channel upstream of the throttle plate to provide fresh air to the PCV system (some vehicles only).
4. Individual vacuum taps for PCV, EGR, EVAP and miscellaneous control signals (some vehicles only).
5. PCV air return (if applicable).
6. A throttle body-mounted TP sensor.
7. A sealant/coating on the throttle bore and throttle plate makes the throttle body air flow tolerant to engine intake sludge accumulation. These throttle body assemblies must not be cleaned and have a white/black attention decal advising not to clean.
8. A non-adjustable stop screw for close plate idle air flow.

Overview of the Intake Manifold Runner Control (IMRC) and Intake Manifold Tuning Valve (IMTV) Systems
There are 3 basic types of intake air sub-systems:
- IMRC electric actuated system
- IMRC vacuum actuated system
- IMTV

There are several different styles of hardware used to control airflow within the engine air intake system. In general, the devices are defined based on whether they control in-cylinder motion (charge motion) or manifold dynamics (tuning).

The IMRC is a charge motion device that modifies the air charge motion in the manifold. The IMRC control valve is located close to the intake valve/cylinder head. The IMRC actuator can be either electric or vacuum controlled. The IMRC. system must have a monitor feedback system in order to meet OBDII regulations.

Some vehicles may use both systems.

These subsystems are used to provide increased intake airflow to improve torque, emissions and performance. The overall volume of air metered to the engine is controlled by the throttle body.

Intake Manifold Runner Control (IMRC) Vacuum Actuated System

WARNING: Substantial opening and closing torque is applied by this system. To prevent injury, be careful to keep fingers away from lever mechanisms when actuated. Failure to follow these instructions may result in personal injury.

The IMRC vacuum actuated system consists of a manifold mounted vacuum actuator and a PCM controlled electric solenoid. The linkage from the actuator attaches to the manifold butterfly plate lever. The IMRC actuator and manifold are composite/plastic with a single intake air passage for each cylinder. The passage has a butterfly valve plate that blocks a large percentage of the opening when actuated, leaving the top of the passage open to generate turbulence. The housing uses a return spring to hold the butterfly valve plates open. The vacuum actuator houses an internal monitor circuit to provide feedback to the PCM indicating the butterfly valve plate position.

Below approximately 3,000 RPM, the vacuum solenoid is energized. This allows manifold vacuum to be applied and the butterfly valve plates to remain closed. Above approximately 3,000 RPM, the vacuum solenoid is deenergized. This allows vacuum to vent from the actuator and the butterfly valve plates to open.
9. The PCM monitors the TP sensor, CHT, and CKP signals to determine activation of the IMRC system.
There must be a positive change in voltage from the TP sensor along with the increase in RPM at the correct engine temperature to open the valve plates.
10. The PCM uses the information from the input signals to control the IMRC electric solenoid based upon changes in the throttle position, the engine temperature, and the RPM.
11. The PCM energizes the solenoid with the key on and the engine running. Vacuum is then applied to the actuator to pull the butterfly plates closed.






Intake Manifold Runner Control (IMRC) Vacuum Actuated System