Operation CHARM: Car repair manuals for everyone.
Manuals through 2025 now available!

Our trusted friends have launched a new website named LEMON, which has newer manuals. It also contains all the CHARM manuals.

LEMON is the spiritual successor to CHARM, I recommend you try it!

Link: lemon-manuals.la or lemon-manuals.org.ua

(Some people have issue connecting. LEMON is investigating. For now, use Firefox or change your DNS server)

Or, hide this message: temporarily or permanently

Cylinder Head Assembly

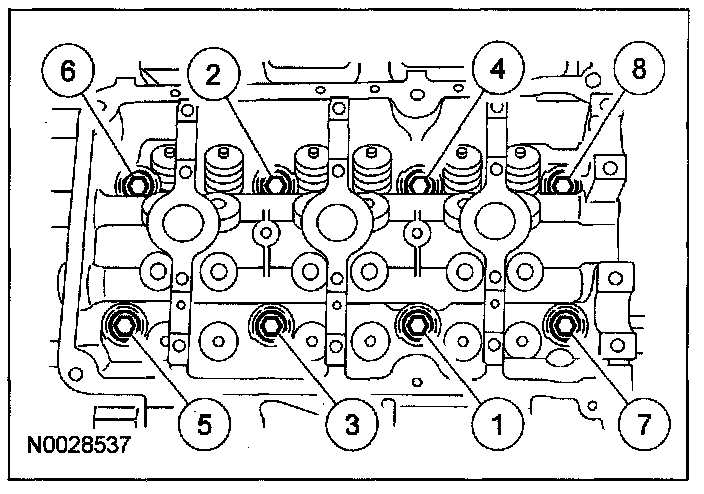
Cylinder Head - LH

Note
New cylinder head bolts must be installed. They are torque-to-yield designed and cannot be reused.

Install the bolts and tighten in 6 stages in the sequence shown.





^ Stage 1: Tighten to 40 N-m (4.1 kgf-m, 30 ft-lbf).
^ Stage 2: Tighten bolts 90 degrees.
^ Stage 3: Loosen 1 full turn.
^ Stage 4: Tighten to 40 N-m (4.1 kgf-m, 30 ft-lbf).
^ Stage 5: Tighten bolts 90 degrees.
^ Stage 6: Tighten bolts 90 degrees.

Cylinder Head - RH





Install the bolts and tighten in 6 stages in the sequence shown.
^ Stage 1: Tighten to 40 N-m (4.1 kgf-m, 30 ft-lbf).
^ Stage 2: Tighten bolts 90 degrees.
^ Stage 3: Loosen one full turn.
^ Stage 4: Tighten to 40 N-m (4.1 kgf-m, 30 ft-lbf).
^ Stage 5: Tighten 90 degrees.
^ Stage 6: Tighten 90 degrees.

Cylinder head gasket surface flatness

Lower Intake Manifold
Install the lower intake manifold and the bolts.





Tighten in the sequence shown to 10 N-m (1.0 kgf-m, 89 in-lbf).

Upper Intake Manifold
Install the upper intake manifold and the bolts.





Tighten in the sequence shown to 10 N-m (1.0 kgf-m, 89 in-lbf).

Camshaft Bearing caps

Caution
^ Cylinder head camshaft journal caps and cylinder heads are numbered to verify they are assembled in their original positions. If not assembled in their original positions, severe engine damage may occur.


Caution
^ Do not install the camshaft journal thrust caps until all of the camshaft bearing caps have been installed, or damage to the thrust bearing caps may occur.


^ Locate the camshafts as shown.





LH camshaft bearing caps
^ Loosely install the bolts.





^ Tighten in the sequence shown to 8 N-m (0.8 kgf-m, 71 in-lbf).





RH camshaft bearing caps
^ Loosely install the bolts.





^ Tighten in the sequence shown to 8 N-m (0.8 kgf-m, 71 in-lbf).

Camshaft and Crankshaft sprockets





Verify that the LH camshafts are correctly positioned.
Align the marks on the LH timing chain with the marks on the camshaft and crankshaft sprockets.
^ Tighten to 25 N-m (2.5 kgf-m, 18 ft-lb).








Position the RH timing chain and chain guide and install the bolts.
Align the marks on the timing chain with the marks on the camshaft and crankshaft sprockets.
^ Tighten to 25 N-m (2.5 kgf-m, 18 ft-lbf).

All Vehicles

Exhaust Manifold
Install 6 new LH exhaust manifold studs.





To install, tighten to 12 N-m (1.2 kgf-m, 9 ft-lbf).
Install a new gasket and the LH exhaust manifold and new nuts.





Tighten in the sequence shown to 20 N-m (2.0 kgf-m, 15 ft-lbf).

FWD

Install 6 new RH exhaust manifold studs.
To install, tighten to 12 N-m (1.2 kgf-m,9 ft-lbf).





Install a new gasket and the RH exhaust manifold and new nuts.
Tighten in the sequence shown to 20 Nm (2.0 kgf-m, 15 ft-lbf).





All Wheel Drive (AWD) Vehicles

Install 6 new RH exhaust manifold studs.





Tighten to 12 N-m (1.2 kgf-m, 9 ft-lb).
Using a new gasket, install the RH exhaust manifold and 6 new nuts.





Tighten in the sequence to 20 N-m (2.0 kgf-m, 15 ft-lbf).