Operation CHARM: Car repair manuals for everyone.
Manuals through 2025 now available!

Our trusted friends have launched a new website named LEMON, which has newer manuals. It also contains all the CHARM manuals.

LEMON is the spiritual successor to CHARM, I recommend you try it!

Link: lemon-manuals.la or lemon-manuals.org.ua

(Some people have issue connecting. LEMON is investigating. For now, use Firefox or change your DNS server)

Or, hide this message: temporarily or permanently

3.0L Engine

3.0L Engine

3.0L (4V) Engine (Part 1):




3.0L (4V) Engine (Part 2):




3.0L (4V) Engine (Part 3):




3.0L (4V) Engine (Part 4):





LH and RH Cylinder Heads

Position the new LH and RH cylinder heads and gaskets. Install new bolts and tighten in the sequence shown in 6 stages.





^ Stage 1: Tighten to 40 N-m (4.1 kgf-m, 30 ft-lbf).
^ Stage 2: Tighten 90 N-m (9.2 kgf-m, 66 ft-lbf)
^ Stage 3: Loosen one full turn.
^ Stage 4: Tighten to 40 N-m (4.1 kgf-m, 30 ft-lbf).
^ Stage 5: Tighten 90 degrees.
^ Stage 6: Tighten 90 degrees.

Lower Intake Manifold
Install the lower intake manifold and the bolts.





Tighten in the sequence shown to 10 N-m (1.0 kgf-m, 89 in-lbf).

Upper Intake Manifold
Install the upper intake manifold and the bolts.





Tighten in the sequence shown to 10 N-m (1.0 kgf-m, 89 in-lbf).

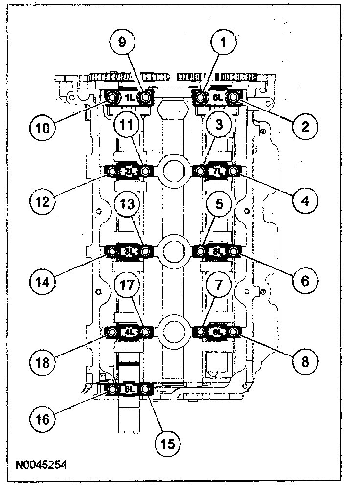
LH camshaft bearing caps
^ Loosely install the bolts.





^ Tighten in the sequence shown to 8 N-m (0.8 kgf-m, 71 in-lbf).





RH camshaft bearing caps
^ Loosely install the bolts.





^ Tighten in the sequence shown to 8 N-m (0.8 kgf-m, 71 in-lbf).

Crankshaft Pulley bolt





Install the bolt and washer. Using the special tool to hold the crankshaft pulley, tighten the bolt in 4 stages:
^ Stage 1: Tighten the bolt to 120 N-m (12.2 kgf-m, 89 ft-lbf).
^ Stage 2: Loosen the bolt one full turn.
^ Stage 3: Tighten the bolt to 50 N-m (5.1 kgf-m, 37 ft-lbf).
^ Stage 4: Tighten the bolt an additional 90 degrees.

Flexplate





Tighten to 80 N-m (8.1 kgf-m, 59 ft-lbf.)

Oil pump





Install the bolts.
Tighten in the sequence shown to 10 N-m (1.0 kgf-m, 89 in-lbf).

All Vehicles

Exhaust Manifold
Install 6 new LH exhaust manifold studs.





To install, tighten to 12 N-m (1.2 kgf-m, 9 ft-lbf).
Install a new gasket and the LH exhaust manifold and new nuts.





Tighten in the sequence shown to 20 N-m (2.0 kgf-m, 15 ft-lbf).

FWD

Install 6 new RH exhaust manifold studs.
To install, tighten to 12 N-m (1.2 kgf-m,9 ft-lbf).





Install a new gasket and the RH exhaust manifold and new nuts.
Tighten in the sequence shown to 20 Nm (2.0 kgf-m, 15 ft-lbf).





All Wheel Drive (AWD) Vehicles

Install 6 new RH exhaust manifold studs.





Tighten to 12 N-m (1.2 kgf-m, 9 ft-lb).
Using a new gasket, install the RH exhaust manifold and 6 new nuts.





Tighten in the sequence to 20 N-m (2.0 kgf-m, 15 ft-lbf).

Water pump





Install the water pump and the bolts.
Tighten to 10 N-m (1.0 kgf-m, 89 in-lbf).