Operation CHARM: Car repair manuals for everyone.
Manuals through 2025 now available!

Our trusted friends have launched a new website named LEMON, which has newer manuals. It also contains all the CHARM manuals.

LEMON is the spiritual successor to CHARM, I recommend you try it!

Link: lemon-manuals.la or lemon-manuals.org.ua

(Some people have issue connecting. LEMON is investigating. For now, use Firefox or change your DNS server)

Or, hide this message: temporarily or permanently

Oil Pan: Service and Repair



Engine Oil Pan Removal/Installation Procedeure

The content of this article/image reflects the changes identified in Service Bulletin No. 01-027/09

DESCRIPTION

The removal / installation procedure and suggested repair time of engine oil pan have been updated. When you remove / install the engine oil pan (A) to repair oil leakage from the engine oil pan or other reasons, be sure to follow this updated procedure.





Due to the change of the procedure, the repair time has also been updated.

REPAIR PROCEDURE

WARNING:
- Hot engines and engine oil can cause severe burns. Turn off the engine and wait until it and the engine oil have cooled.
- A vehicle that is lifted, but not securely supported on safety stands is dangerous. It can slip or fall, causing death or serious injury. Never work around or under a lifted vehicle if it is not securely supported on safety stands.
- Continuous exposure to USED engine oil has caused skin cancer in laboratory mice. Protect your skin by washing with soap and water immediately after working with engine oil.

Removal

1. Record customer's preset radio stations.
2. Install fender covers to avoid damaging the fenders.
3. Disconnect both battery cables.
4. Remove battery clamp (D), battery box (C), battery (A) and battery tray (B).





5. Remove air cleaner assembly (B), fresh air duct (C) and air hose (A).





6. Remove bolts from harness bracket





7. Remove under cover.
8. Remove right front tire and splash shield.
9. Drain engine oil into container.
10. Install oil pan drain plug.
With a new washer: Tightening Torque: 30-41 N.m (3.1-4.1 kgf-m, 23-30 ft-lb)

Without a new washer:
a. Inspect oil pan drain plug rubber seal and make sure there are no cracks or damage.
b. Clean flange surface (rubber seal) on oil drain plug, then reinstall. Tightening Torque: 25-30 N.m (2.6-3.0 kgf-m, 19-22 ft-lb)





11. Before loosening the bolts securing the engine and transmission, put a mark on each transaxle bolt and the transaxle (so you can determine when they have been turned one full turn), then loosen the bolts one full turn (360 degrees).
NOTE: Loosen the bolts from the top of the transaxle to the bottom.

CAUTION: DO NOT loosen the bolts more than one turn (360 degrees), or the transaxle may get damaged. Letters are for orientation of the block diagram only.

A: Front Cover
B: Engine
C: Oil Pan
D: Transaxle
E: Bolts





12. Remove four (4) bolts that secure front cover to oil pan.





13. Remove No.1 engine mount bracket (A).





14. Remove oil pan bolts.





Oil Pan Removal Note: Remove oil pan using a separator tool.






Installation

NOTE: The thickness of silicone sealant tends to be thin because the clearance between the oil pan and the transmission and the front cover and transmission is almost zero during oil pan reinstallation. Allow 3mm space maximum between the engine and transmission with the transaxle bolts loosened one full turn before reinstalling the oil pan.
Letters are for orientation of the block diagram only.

A: Front Cover
B: Engine
C: Oil Pan
D: Transaxle





1. Clean location where silicone sealant will be applied.
2. Using a scraper or a similar tool, completely remove gasket residue from joint of cylinder block, front cover and oil pan.

NOTE: Do not allow the gasket residue to enter the oil pan. Using cleaning fluid, completely remove the oil from the joint. Be sure to completely remove oil and gasket residue from the corner section of the front cover and the cylinder block.

Recommended Cleaner:
- Mazda Brake Parts Cleaner (low VOC, non-chlorinated) P/N: 000-77-620E-05 or equivalent.





3. Completely clean and remove any oil, dirt, sealant or other foreign material that may be adhering to the housing and oil pan.

CAUTION: When reusing oil pan installation bolts, clean any old sealant from the bolts. Using bolts with the old seal adhering could cause cracks in the housing.






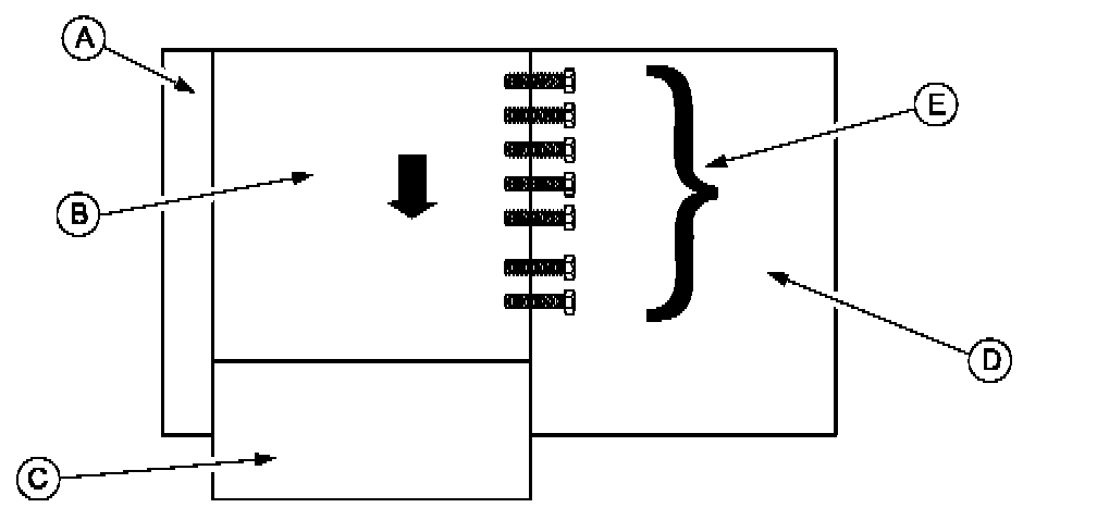
4. Apply silicone sealant to the oil pan in a single, unbroken line around the whole perimeter of the oil pan as shown in the following illustrations.

NOTE: Install the oil pan within ten (10) minutes after applying the silicone sealant, otherwise the gasket material will get too hard and you will have to scrape the oil pan clean and apply silicone sealant again.

a. Apply a 2.5 mm bead down the center of the sides of the oil pan (A).
b. Apply a 2.5 mm bead to the rear edge (B) of the oil pan (approximately 5mm from the rear edge).
c. Apply inside the bolt holes (C).





d. Apply silicone sealant to the front edge of the oil pan and to the front cover where the two pieces attach together.





e. Apply an ample amount to the front cover where the oil pan is fitted (A), and also apply an extra amount (a ball of approximately 5mm in diameter) of silicone sealant to the corners of the front case and the cylinder block (B).
5. Reinstall oil pan onto cylinder block.





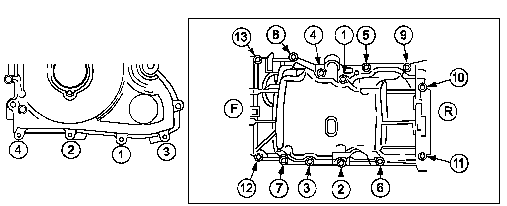
6. Reinstall and tighten oil pan bolts and front cover bolts as follows. The front of the engine is (F) and the rear of the engine is (R).
a. Install and tighten all oil pan bolts and four (4) front cover bolts 2 or 3 turns.
b. Install front cover stud bolt directly under crank pulley lock bolt.
c. Tighten No. 6, No. 7, No. 8 and No. 9 oil pan bolts to 17.0-23.0 N.m (12.6-16.9 ft-lbf).
d. Then loosen No. 6, No. 7, No. 8 and No. 9 oil pan bolts by turning counterclockwise 180 degrees.
e. Tighten four (4) front cover bolts to 8.0-11.5 N.m (5.9-8.5 ft-lbf) in the order shown.
f. Tighten thirteen (13) oil pan bolts to 17.0-23.0 N.m (12.6-16.9 ft-lbf) in the order shown.





7. Tighten all bolts securing engine and transaxle.

NOTE: Tighten the bolts from the bottom of the transaxle to the top of the transaxle. Letters are for orientation of the block diagram only.

A: Front Cover
B: Engine
C: Oil Pan
D: Transaxle
E: Bolts





MTX: Tightening Torque: 37 - 52 N.m (3.8-5.3 kgf-m, 28-38 ft-lbf)
ATX: Tightening Torque: 38 - 52 N.m (3.9-5.3 kgf-m, 29-38 ft-lbf)





8. Reinstall No.1 engine mount bracket.
Upper Bolts: Tightening Torque: 93.1 � 116.6 N.m (9.5-11.8 kgf-m, 68.7-85.9 ft-lbf)
Lower Bolt: Tightening Torque: 85.3 � 116.6 N.m (8.7-11.8 kgf-m, 63-85.9 ft-lbf)





9. Reinstall right front tire and splash shield.
10. Tighten harness bracket bolts.





11. Reinstall air hose (A), fresh air duct (C) and air cleaner assembly (B).





12. Reinstall battery tray (B), battery (A), battery box (C) and battery clamp (D).





13. Add engine oil.

NOTE: Make sure the oil filler cap fits properly.

14. Connect both battery cables.
15. Start engine and let it reach normal operating temperature; inspect for oil leakage around oil pan.
16. Stop engine and wait for five (5) minutes, then check oil level using oil level gauge. If it's not adequate, add more oil.
17. Reinstall under cover.
18. Re-enter customer's preset radio stations.
19. Perform �Power Window Initialization� procedure.