Operation CHARM: Car repair manuals for everyone.
Manuals through 2025 now available!

Our trusted friends have launched a new website named LEMON, which has newer manuals. It also contains all the CHARM manuals.

LEMON is the spiritual successor to CHARM, I recommend you try it!

Link: lemon-manuals.la or lemon-manuals.org.ua

(Some people have issue connecting. LEMON is investigating. For now, use Firefox or change your DNS server)

Or, hide this message: temporarily or permanently

Steering Column: Service and Repair




STEERING WHEEL AND COLUMN REMOVAL/INSTALLATION

WARNING:
- Handling the air bag module improperly can accidentally deploy the air bag module, which may seriously injure you. Read AIR BAG SYSTEM WARNINGS before handling the air bag module. Air Bag System Service Warnings Air Bag System Service Cautions

1. Remove in the order indicated in the table.

2. Install in the reverse order of removal.

3. If the steering lock component of a vehicle equipped with the advanced keyless system is replaced, perform the following procedure after installation.

- Without immobilizer system

- Steering lock unit programming Theft-Deterrent System Initialization Procedure

- With immobilizer system

- Immobilizer system programming Keyless Entry System Advanced Keyless Entry and Start System










Steering Wheel Removal Note

CAUTION:
- Do not try to remove the steering wheel by hitting the shaft with a hammer. The column will collapse.

1. Set the vehicle in the straight-ahead position.

2. Remove the steering wheel using a suitable puller.

Steering Lock Mounting Bolts Removal Note

1. Make a groove in the heads of the steering lock mounting bolts using a chisel and a hammer.






2. Remove the bolts using a screwdriver.

3. Disassemble the steering lock component.

Key Cylinder (Without Advanced Keyless System) Removal Note

1. Turn the key to the ACC position.

2. Push the pin and remove the outer cylinder.






Steering Lock Mounting Bolts Installation Note

1. Assemble the steering lock component to the steering shaft.

2. Verify that the lock operates correctly.

3. Install new steering lock mounting bolts.

4. Tighten the bolts until the heads break off.






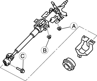
Steering Shaft Installation Note

CAUTION:
- Do not apply a shock in the axial direction of the shaft.

1. Lock the tilt lever.






2. Tighten nut A.

3. Tighten nut B.

4. Tighten bolt C.

Steering Wheel Installation Note

1. Make sure the wheels in the straight-ahead position, and install the steering wheel.