Operation CHARM: Car repair manuals for everyone.
Manuals through 2025 now available!

Our trusted friends have launched a new website named LEMON, which has newer manuals. It also contains all the CHARM manuals.

LEMON is the spiritual successor to CHARM, I recommend you try it!

Link: lemon-manuals.la or lemon-manuals.org.ua

(Some people have issue connecting. LEMON is investigating. For now, use Firefox or change your DNS server)

Or, hide this message: temporarily or permanently

5TH/6TH Clutch Hub Component Assembly Note

5th/6th Clutch Hub Component Assembly Note





1. Place the thrust washers onto the 6th gear.

Note: Apply petroleum jelly making sure the thrust washer does not deviate.





2. Assemble the 5th/6th clutch hub component.

Caution:
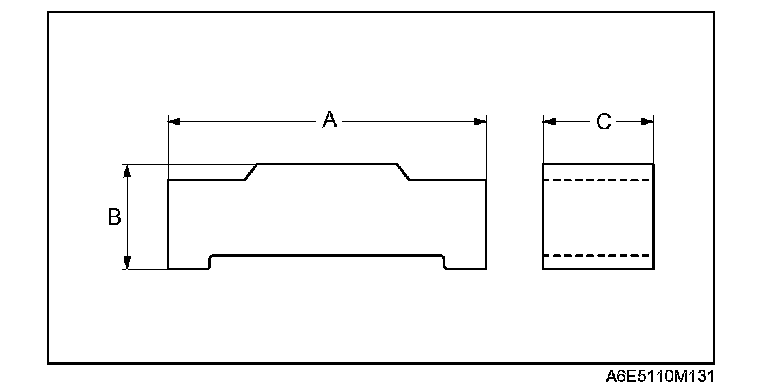
^ The standard synchronizer key dimensions are as follows:








^ Align the clutch hub sleeve alignment mark with the clutch hub synchronizer key installation position and assemble.


3. Install the 5th/6th clutch hub component to the mainshaft.
4. Install the retaining ring.





5. Measure the clearance between retaining ring and groove of the mainshaft.
^ If not within the specification, adjust by choosing the proper retaining ring.

5th/6th clutch hub end play:
0 - 0.05 mm (0 - 0.0019 in)

5th/6th clutch hub retaining ring