Operation CHARM: Car repair manuals for everyone.
Manuals through 2025 now available!

Our trusted friends have launched a new website named LEMON, which has newer manuals. It also contains all the CHARM manuals.

LEMON is the spiritual successor to CHARM, I recommend you try it!

Link: lemon-manuals.la or lemon-manuals.org.ua

(Some people have issue connecting. LEMON is investigating. For now, use Firefox or change your DNS server)

Or, hide this message: temporarily or permanently

Clockspring Assembly / Spiral Cable: Service and Repair




CLOCK SPRING REMOVAL/INSTALLATION

1. Disconnect the negative battery cable.

2. Remove the driver-side air bag module. Driver-Side Air Bag Module Removal/Installation

3. Remove the steering wheel. Steering Wheel And Column Removal/Installation - Without Advanced Keyless Entry And Push Button Start System Steering Wheel And Column Removal/Installation - With Advanced Keyless Entry And Push Button Start System

4. Remove the column cover.

5. Remove the connectors.






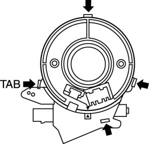
6. Remove the tab direction of the arrow shown in the figure.

7. Remove the screws.

8. Remove the clock spring.

9. Remove the steering angle sensor

10. Install in the reverse order of removal.

11. Verify that the air bag system warning light illuminates for approx. 6 s and goes out.

- If the air bag system warning light does not operate in the manner described above, there are malfunctions in the system. Inspect the system using the on-board diagnostic.

Clock Spring Installation Note

CAUTION:
- If the clock spring is not adjusted, the spring wire in the clock spring will break due to overtension when the steering wheel is turned. Always adjust the clock spring after installing it.

- Adjust the clock spring after installing it. Adjustments

Steering Angle Sensor Removal Note

- Remove the tab shown in the figure and remove the steering angle sensor.