Operation CHARM: Car repair manuals for everyone.
Manuals through 2025 now available!

Our trusted friends have launched a new website named LEMON, which has newer manuals. It also contains all the CHARM manuals.

LEMON is the spiritual successor to CHARM, I recommend you try it!

Link: lemon-manuals.la or lemon-manuals.org.ua

(Some people have issue connecting. LEMON is investigating. For now, use Firefox or change your DNS server)

Or, hide this message: temporarily or permanently

Assembly Procedure

Assembly Procedure
1. Measure the facing thickness in three places and calculate the average value.

Reverse clutch drive plate thickness
Standard: 1.60 mm (0.063 in)
Minimum: 1.45 mm (0.057 in)

3-4 clutch drive plate thickness
Standard: 2.55 mm (0.100 in)
Minimum: 2.40 mm (0.094 in)

3-4 clutch driven plate thickness
Standard: 2.55 mm (0.100 in)
Minimum: 2.40 mm (0.094 in)

^ If not within the specification, replace the drive plates.





2. Measure the free length of the spring and inspect for deformation.

3-4 clutch springs and retainer component free length
Standard: 17.2 mm (0.677 in)
Minimum: 15.2 mm (0.598 in)

^ If not within the specification, replace the spring and retainer.





3. Verify that there is airflow when applying compressed air through the fluid passage of 3-4 clutch drum.

Air pressure:
392 kPa (4.0 kgf-cm2, 57 psi) max.

4. Replace the 3-4 clutch drum if damaged or malfunctioning.





5. Verify that there is airflow when applying compressed air through the fluid passage of 2-4 brake drum.

Air pressure:
392 kPa (4.0 kgf-cm2, 57 psi) max.

6. Replace the 2-4 brake drum if damaged or malfunctioning.





7. Measure the bushing of the rear sun gear.

Rear sun gear bushing inner diameter
Standard: 29.900-29.921 mm (1.177171. 17799 in)
Maximum: 29.941 mm (1.17878 in)

^ If not as specified, replace the rear sun gear plate.
8. Install the reverse clutch.

Caution: Installing the reverse clutch piston may damage its seal. Carefully install the reverse clutch piston by pushing evenly around the circumference.

1) Apply ATF to the circumference of the reverse clutch piston seal, and install the piston into the 2-4 brake drum.





2) Install the piston return spring and reverse return stopper to the reverse piston.





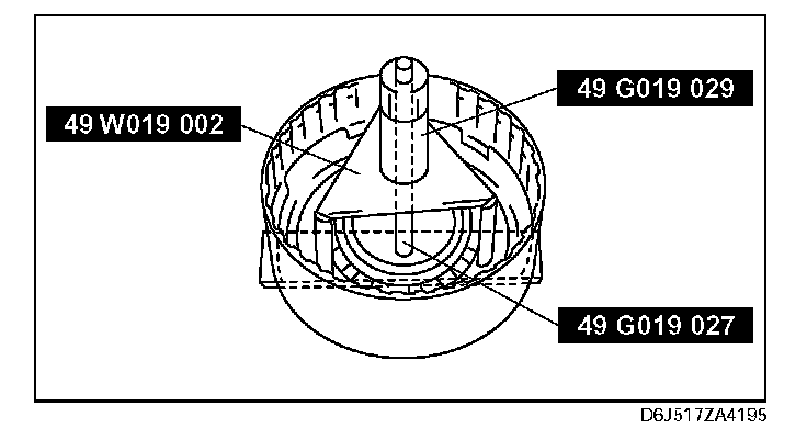
3) Install the snap ring and the SSTs to the 2-4 brake drum as shown.

Caution: Depress the piston return spring only enough to install the snap ring. Overpressing will damage the piston return spring assembly edges.

4) Compress the piston return spring.
5) Install the snap ring.
6) Remove the SSTs.





7) Install the dish plate.
8) Install the drive and driven plates in the following order.
Driven-Drive-Driven-Drive
9) Install the retaining plate.





9. Measure the reverse clutch clearance.
1) Install the reverse clutch into the end cover, and set the dial gauge.
2) Secure the reverse clutch by lightly pressing down with a press or similar tool.





3) Apply compressed air to the part indicated in the figure and let the reverse clutch piston stroke three times.

Air pressure:
392-441 kPa (4.0-4.5 kgf-cm2, 57-63 psi)

4) Apply compressed air and operate the reverse clutch piston. Read the value when the indicator of the dial gauge stops.
5) Release the compressed air and read the dial gauge when the reverse clutch piston is not operating.
6) Calculate the reverse clutch clearance according to the following formula: step (4) value - step (5) value = Reverse clutch clearance.





7) Measure the clearances at four locations (90° apart) by following the steps from (3) to (6). Verify that the average value is within the specification below.

Reverse clutch clearance
Standard: 1.00-1.30 mm (0.039-0.051 in)

^ If not within the specification, remove the snap ring and measure its thickness.
8) Add the thickness to the average value calculated in step (7), and select the snap ring whose range includes the value.

Snap ring size for reverse clutch clearance





9) Install the selected snap ring and perform steps (2) to (7) again. Verify that the calculated value satisfies the clearance specification.
10. Inspect the reverse clutch operation.
1) Install the 2-4 brake drum to the end cover.





2) Inspect the reverse clutch operation by applying compressed air as shown.

Air pressure:
392-441 kPa (4.0-4.5 kgf-cm2, 57-63 psi)

11. Install the 3-4 clutch.

Caution: Installing the 3-4 clutch piston may damage its seal. Carefully install the 3-4 clutch piston by pushing evenly around the circumference.

1) Apply ATF to the circumference of the 3-4 clutch piston seal, and install the piston in to the 3-4 clutch drum.





2) Install the spring and retainer.
3) Apply ATF to the 3-4 seal plate, and install it onto the 3-4 clutch drum.





4) Install the SST as shown.

Caution: Depress the 3-4 seal plate only enough to install the snap ring. Overpressing will damage the 3-4 seal plate assembly edges.

5) Compress the spring and retainer component and 3-4 seal plate.
6) Install the snap ring.
7) Remove the SST.





8) Install the drive and driven plates in the following order.
Driven-Drive-Driven-Drive-Driven-Drive
9) Install the retaining plate.
12. Measure the 3-4 clutch clearance.
1) Install the 3-4 clutch in the end cover, and set the dial gauge





2) Secure the 3-4 clutch by lightly pressing down with a press or similar tool.





3) Apply compressed air to the part indicated in the figure and let the 3-4 clutch piston stroke three times.

Air pressure:
392-441 kPa (4.0-4.5 kgf-cm2, 57-63 psi)

4) Apply compressed air and operate the 3-4 clutch piston. Read the value when the indicator of the dial gauge stops.
5) Release the compressed air and read the dial gauge when the 3-4 clutch piston is not operating.
6) Calculate the 3-4 clutch clearance according to the following formula: step (4) value - step (5) value = 3-4 clutch clearance.





7) Measure the clearances at four locations (90° apart) by following the steps from (3) to (6). Verify that the average value is within the specification below.

3-4 clutch clearance
Standard: 1.10-1.40 mm (0.043-0.055 in)

^ If not within the specification, remove the snap ring and measure its thickness.
8) Add the thickness to the average value calculated in step (7), and select the snap ring whose range includes the value.

Snap ring size for 3-4 clutch clearance





9) Install the selected snap ring and perform steps (2) to (7) again. Verify that the calculated value satisfies the clearance specification.
13. Inspect the 3-4 clutch operation.
1) Install the 3-4 clutch drum to the end cover.





2) Inspect the 3-4 clutch operation by applying compressed air as shown.

Air pressure:
392-441 kPa (4.0-4.5 kgf-cm2, 57-63 psi)

14. Install the 3-4 clutch component to the 2-4 brake drum.





15. Apply petroleum jelly to the bearing, and secure it onto the 3-4 clutch component.





16. Install the 3-4 clutch hub.
17. Apply petroleum jelly to the bearing, and secure it onto the 3-4 clutch hub as shown in the figure.
18. Install the rear sun gear plate onto the 2-4 brake drum.
19. Install the snap ring.