Operation CHARM: Car repair manuals for everyone.
Manuals through 2025 now available!

Our trusted friends have launched a new website named LEMON, which has newer manuals. It also contains all the CHARM manuals.

LEMON is the spiritual successor to CHARM, I recommend you try it!

Link: lemon-manuals.la or lemon-manuals.org.ua

(Some people have issue connecting. LEMON is investigating. For now, use Firefox or change your DNS server)

Or, hide this message: temporarily or permanently

DSC HU/CM Removal/Installation




DSC HU/CM REMOVAL/INSTALLATION

CAUTION:
- The internal parts of the DSC HU/CM could be damaged if dropped. Be careful not to drop the DSC HU/CM. Replace the DSC HU/CM if it is subjected to an impact.
- Always use the adapter that comes with a new DSC CM when separating the DSC HU or DSC CM. Otherwise, the pump motor may come off the DSC HU and be damaged. Therefore, do not separate the DSC CM unless replacing them. When replacing them with new ones, always perform procedures according to the instructions included with the new parts.
- When replacing the DSC HU/CM, the configuration procedure must be done before removing the DSC HU/CM. If the configuration is not completed before removing the DSC HU/CM, DSC will not work properly after installation of the DSC HU/CM. Programming and Relearning
- The DSC may not function normally immediately after the DSC HU/CM is replaced. After installation, always perform the initialization procedures for the combined sensor, brake fluid pressure sensor. Programming and Relearning Programming and Relearning

1. Remove the battery and battery tray. Removal and Replacement

2. Remove the reserve hose (MTX vehicles). Service and Repair Service and Repair

3. Remove the reserve tank hose. Service and Repair

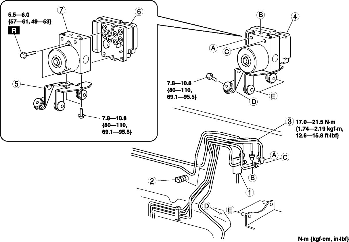
4. Remove in the order indicated in the table.

5. Install in the reverse order of removal.

6. After installation, add brake fluid, bleed the air, and inspect for fluid leakage. Service and Repair

7. Configurate the DSC HU/CM (only when replacing it). Programming and Relearning

8. Perform the initialization procedures for the combined sensor, brake fluid pressure sensor. Programming and Relearning Programming and Relearning

9. Clear the DTCs from the memory. ON-BOARD DIAGNOSIS - Dynamic Stability Control (DSC)
NOTE:
- Even if the initialization procedure is performed after replacing the DSC HU/CM, DTCs B2141 and C2785 are stored in the memory as past malfunctions.










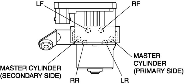
Brake Pipe Removal Note

1. Place an alignment mark on the brake pipe and DSC HU/CM.






2. Apply protective tape to the connector to prevent brake fluid from entering.

3. Remove the brake pipe.

DSC HU/CM, Bracket Removal Note

1. As shown in the figure, move the bracket in the direction of the arrow and remove the DSC HU/CM and bracket from the body.






Brake Pipe Installation Note

1. Align the marks made before removal and install the brake pipe into the DSC HU/CM referring to the figure.