Operation CHARM: Car repair manuals for everyone.
Manuals through 2025 now available!

Our trusted friends have launched a new website named LEMON, which has newer manuals. It also contains all the CHARM manuals.

LEMON is the spiritual successor to CHARM, I recommend you try it!

Link: lemon-manuals.la or lemon-manuals.org.ua

(Some people have issue connecting. LEMON is investigating. For now, use Firefox or change your DNS server)

Or, hide this message: temporarily or permanently

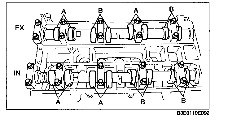
Valve Clearance: Specifications





Valve clearance [Engine cold]

IN: 0.22-0.28 mm (0.0087-0.0110 in)
EX: 0.27-0.33 mm (0.0106-0.0130 in)

Note:
^ Make sure to note the measured values for choosing the suitable replacement tappets.