Operation CHARM: Car repair manuals for everyone.
Manuals through 2025 now available!

Our trusted friends have launched a new website named LEMON, which has newer manuals. It also contains all the CHARM manuals.

LEMON is the spiritual successor to CHARM, I recommend you try it!

Link: lemon-manuals.la or lemon-manuals.org.ua

(Some people have issue connecting. LEMON is investigating. For now, use Firefox or change your DNS server)

Or, hide this message: temporarily or permanently

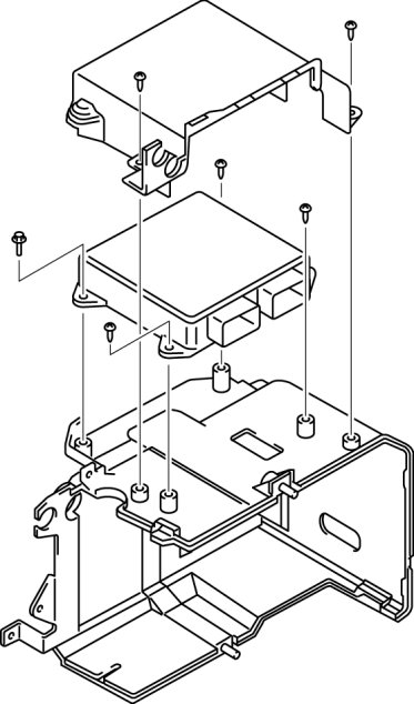
Engine Control Module: Service and Repair




PCM REMOVAL/INSTALLATION [L3]

1. When replacing the PCM, perform the following:

- PCM configuration Programming and Relearning

2. Remove the battery cover, battery duct, battery and battery tray with PCM. Removal and Replacement

3. Disconnect the PCM connector.

4. Remove the PCM from the battery tray.






5. When replacing the PCM on the vehicles, perform the following:

- PCM parameter reset Programming and Relearning

6. Install in the reverse order of removal.