Operation CHARM: Car repair manuals for everyone.
Manuals through 2025 now available!

Our trusted friends have launched a new website named LEMON, which has newer manuals. It also contains all the CHARM manuals.

LEMON is the spiritual successor to CHARM, I recommend you try it!

Link: lemon-manuals.la or lemon-manuals.org.ua

(Some people have issue connecting. LEMON is investigating. For now, use Firefox or change your DNS server)

Or, hide this message: temporarily or permanently

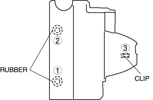
Access Cover: Service and Repair




PLUG HOLE PLATE REMOVAL/INSTALLATION [LF]

1. Remove the plug hole plate.
NOTE:
- Lift off and remove the plug hole plate from the installation areas (rubber and clips) as shown in the figure.











2. Install the plug hole plate.
a. To position the plug hole plate, grasp rubber 1 and 2, as shown in the figure, with your hands and press them in.






b. Grasp clips 3 with your hands and press them in.