Operation CHARM: Car repair manuals for everyone.
Manuals through 2025 now available!

Our trusted friends have launched a new website named LEMON, which has newer manuals. It also contains all the CHARM manuals.

LEMON is the spiritual successor to CHARM, I recommend you try it!

Link: lemon-manuals.la or lemon-manuals.org.ua

(Some people have issue connecting. LEMON is investigating. For now, use Firefox or change your DNS server)

Or, hide this message: temporarily or permanently

Valve Guide: Testing and Inspection

VALVE, VALVE GUIDE INSPECTION
1. Measure the valve head margin thickness using a vernier caliper.




^ If it is less than the minimum specification, replace the valve.

Minimum valve head margin thickness
IN: 1.62 mm (0.0637 in)
EX: 1.82 mm (0.0716 in)

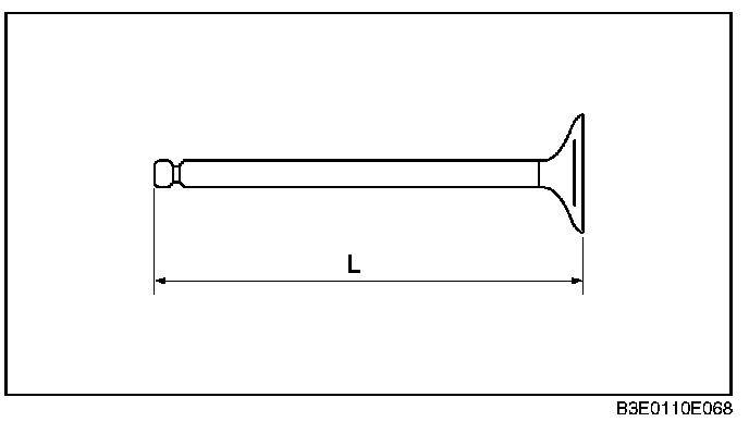
2. Measure the length of the each valve using a vernier caliper.





^ If it is not within the specification, replace the valve.

Standard valve length (Dimension L)
IN: 102.99-103.79 mm (4.055-4.086 in)
EX: 104.25-105.05 mm (4.105-4.135 in)

3. Measure the stem diameter of each valve using the micrometer. Measurement positions total six and are in the X and Y directions, at three points (A, B, and C) as shown in the figure.





^ If it is less than the minimum specification, replace the valve.

Valve stem diameter
Standard
IN: 5.970-5.985 mm (0.2351-0.2356 in)
EX: 5.965-5.980 mm (0.2349-0.2354 in)

Minimum
IN: 5.940 mm (0.2339 in)
EX: 5.935 mm (0.2336 in)

4. Measure the inner diameter of each valve guide using the caliper gauge. Measurement positions total six and are in the X and Y directions, at three points (A, B, and C) as shown in the figure.





^ If it is not within the specification, replace the valve guide.

Standard valve guide inner diameter
IN: 6.009-6.039 mm (0.2366-0.2377 in)
EX: 6.009-6.039 mm (0.2366-0.2377 in)

5. Calculate the clearance between the valve stem and the valve guide by subtracting the inner diameter of the valve guide from the outer diameter of the corresponding valve stem.





^ If it exceeds the maximum specification, replace the valve or valve guide.

Clearance between valve stem and guide
Standard
IN: 0.024-0.069 mm (0.0009-0.0027 in)
EX: 0.029-0.074 mm (0.0012-0.0029 in)

Maximum
0.10 mm (0.004 in)

6. Measure the projection height (dimension A) of each valve guide using the vernier caliper.





^ If it is not within the specification, replace the valve guide.

Standard valve guide projection height
IN: 12.2-12.8 mm (0.481-0.503 in)
EX: 12.2-12.8 mm (0.481-0.503 in)