Operation CHARM: Car repair manuals for everyone.
Manuals through 2025 now available!

Our trusted friends have launched a new website named LEMON, which has newer manuals. It also contains all the CHARM manuals.

LEMON is the spiritual successor to CHARM, I recommend you try it!

Link: lemon-manuals.la or lemon-manuals.org.ua

(Some people have issue connecting. LEMON is investigating. For now, use Firefox or change your DNS server)

Or, hide this message: temporarily or permanently

Clutch Component Assembly

CLUTCH COMPONENT ASSEMBLY

Structural View






Assembly Procedure
1. Assemble the high clutch piston using the following procedure:
1. Apply ATF (ATF FZ) to the high clutch piston lip.











2. Assemble the high clutch piston.











2. Assemble the springs and retainer component.

NOTE: Springs and retainer component size: Outer diameter approx. 79.5 mm {3.13 in}

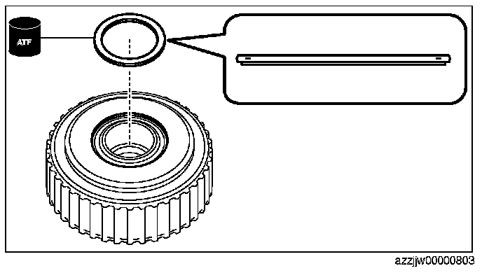
3. Assemble the seal plate using the following procedure:
1. Apply ATF (ATF FZ) to the seal plate lip.











2. Assemble the seal plate.

4. Assemble the snap ring using the following procedure:

NOTE: Snap ring size: Outer diameter approx. 56.5 mm {2.22 in}











1. Set the snap ring to the top of the seal plate.






2. Install the SSTs.

A : Nut included with SST (49 G019 025), or M8x1.25 nut
B : Washer

NOTE: When installing the SST (49 G019 025) to the SST (49 G019 026), use the nuts included with the SST (49 G019 025), or M8x1.25 nuts.






A : Nut included with SST (49 G019 025), or M8x1.25 nut
B : Washer






3. Tighten the SST (49 G019 029) until the snap ring groove of the high clutch drum component comes out.

A : Snap ring groove

CAUTION: If the SST (49 G019 029) is tightened with excessive force, surrounding parts could be damaged. Stop tightening the SST when the snap ring groove of the high clutch drum component comes out.






4. Assemble the snap ring.

CAUTION: After assembling the snap ring, verify that the snap ring is securely inserted into the bottom of the snap ring groove.






A : Snap ring






5. Loosen the SST (49 G019 029) and remove the SSTs.






A : Nut included with SST (49 G019 025), or M8x1.25 nut
B : Washer

5. Assemble the drive plates and driven plates using the following procedure:

NOTE:
- Drive plate size: Outer diameter approx. 116.8 mm {4.598 in}
- Driven plate size: Inner diameter approx. 95.5 mm {3.76 in}

1. Apply ATF (ATF FZ) to the drive plates and driven plates.

CAUTION: If the drive plate is replaced with a new one, immerse it in ATF (ATF FZ) for 2 hours or more to permeate the facing with ATF.











2. Assemble the drive plates and driven plates.

A : Drive plate
B : Driven plate

Assembly order
Driven plate-drive plate-driven plate-drive plate-driven plate-drive plate-driven plate-drive plate-driven plate-drive plate











6. Assemble the retaining plate.

NOTE: Retaining plate size: Inner diameter approx. 95.5 mm {3.76 in}

7. Assemble the snap ring using the following procedure:

NOTE: Snap ring size: Outer diameter approx. 127.4 mm {5.016 in}

1. Measure the high clutch clearance and select the appropriate snap ring. (See HIGH CLUTCH CLEARANCE MEASUREMENT/ADJUSTMENT.)

NOTE: If the snap ring is assembled for the high clutch clearance measurement/adjustment, the following snap ring assembly procedure is not necessary.











2. Assemble the selected snap ring in Step (1).

A : Selection

CAUTION: After assembling the snap ring, verify that the snap ring is securely inserted into the bottom of the snap ring groove.











8. Assemble the wave spring.
9. Assemble the drive plates and driven plates using the following procedure:

NOTE:
- Drive plate size: Outer diameter approx. 159.1 mm {6.264 in}
- Driven plate size: Inner diameter approx. 139.9 mm {5.508 in}

1. Apply ATF (ATF FZ) to the drive plates and driven plates.

CAUTION: If the drive plate is replaced with a new one, immerse it in ATF (ATF FZ) for 2 hours or more to permeate the facing with ATF.











2. Assemble the drive plates and driven plates.

A : Drive plate
B : Driven plate

Assembly order
Driven plate-drive plate-driven plate-drive plate-driven plate-drive plate-driven plate-drive plate-driven plate-drive plate











10. Assemble the retaining plate.

NOTE: Retaining plate size: Inner diameter approx. 139.9 mm {5.508 in}

11. Assemble the snap ring using the following procedure:

NOTE: Snap ring size: Outer diameter approx. 169.3 mm {6.665 in}

1. Measure the low clutch clearance and select the appropriate snap ring. (See LOW CLUTCH CLEARANCE MEASUREMENT/ADJUSTMENT.)

NOTE: If the snap ring is assembled for the low clutch clearance measurement/adjustment, the following snap ring assembly procedure is not necessary.






2. Assemble the selected snap ring in Step 1. to the position shown in the figure.

A : Selection

CAUTION:
- Assemble so that the end gap of the snap ring is positioned diagonally opposed to the end gap of the snap ring for the high clutch.
- After assembling the snap ring, verify that the snap ring is securely inserted into the bottom of the snap ring groove.







A : Snap ring (low clutch)
B : Snap ring (high clutch)

12. Perform a simple inspection of the low clutch and high clutch using the following procedure:






1. Set the oil pump on the workbench as shown in the figure.

A : Rubber plate

NOTE: Using the rubber plates, adjust the alignment surface of the oil pump with the transaxle case so that it is level.

2. Assemble the thrust needle bearing to the clutch component using the following procedure:

NOTE: Thrust needle bearing size: Outer diameter approx. 72.7 mm {2.86 in}

1. To prevent the thrust needle bearing from dropping out, apply ATF (ATF FZ) to the thrust needle bearing.












2. Assemble the thrust needle bearing.











3. Assemble the parts assembled together in Step (2) to the oil pump.







4. Blow compressed air into the oil passage shown in the figure and verify the operation condition of the low clutch.

WARNING: Always wear protective eye wear when using the air compressor. Otherwise, ATF or dirt particles blown off by the air compressor could get into the eyes.

CAUTION: To prevent damage to parts, always use an air compressor which is adjusted to the indicated pressure.

Compressed air pressure
0.39-0.44 MPa {4.0-4.4 kgf/cm2, 57-63 psi}

- If there is a malfunction, perform disassembly again, verify the cause and repair the applicable part. (See CLUTCH COMPONENT DISASSEMBLY.)






5. Blow compressed air into the oil passage shown in the figure and verify the operation condition of the high clutch.

WARNING: Always wear protective eye wear when using the air compressor. Otherwise, ATF or dirt particles blown off by the air compressor could get into the eyes.

CAUTION: To prevent damage to parts, always use an air compressor which is adjusted to the indicated pressure.

Compressed air pressure
0.39-0.44 MPa {4.0-4.4 kgf/cm2, 57-63 psi}

- If there is a malfunction, perform disassembly again, verify the cause and repair the applicable part. (See CLUTCH COMPONENT DISASSEMBLY.)






6. Remove the clutch component.






7. Remove the thrust needle bearing.






8. Take the oil pump off the rubber plates.