Operation CHARM: Car repair manuals for everyone.
Manuals through 2025 now available!

Our trusted friends have launched a new website named LEMON, which has newer manuals. It also contains all the CHARM manuals.

LEMON is the spiritual successor to CHARM, I recommend you try it!

Link: lemon-manuals.la or lemon-manuals.org.ua

(Some people have issue connecting. LEMON is investigating. For now, use Firefox or change your DNS server)

Or, hide this message: temporarily or permanently

Part 4

Automatic Transaxle Assembly (Continued)











53. Assemble a new oil strainer using the following procedure:


CAUTION: If an oil strainer is reused while containing excessive foreign matter, it could cause an operation malfunction, therefore use a new oil strainer.






1. Apply ATF (ATF FZ) to the new oil strainer O-rings.











2. Assemble the new oil strainer.






3. Assemble and tighten the bolts shown in the figure.

NOTE: Bolt size: M6x1.0 bolt, length to approx. 16 mm {0.63 in}

Tightening torque
9-10 N.m {92-101 kgf.cm, 80-88 in.lbf}











54. Assemble the oil pan and magnet using the following procedure:






1. Assemble the magnet.
2. Remove any remaining old sealant on the contact surfaces of the transaxle case and oil pan, and degrease the contact surfaces.

CAUTION: When degreasing and if degreaser is used, use a rag saturated with degreaser and be careful not to allow degreaser to penetrate the interior of the transaxle.
In addition, after degreasing, visually verify that there is no foreign matter (such as old sealant, cloth fibers) which has penetrated the interior of the transaxle.







3. Apply sealant (silicone sealant TB1217E) to the oil pan.

CAUTION: If sealant is applied excessively or applied to a part other than the indicated part, the sealant could penetrate the transaxle inside. Apply an appropriate amount of sealant to the indicated part.

NOTE: Sealant application amount (bead thickness): dia. 1.9-6.7 mm {0.08-0.26 in}






4. Assemble the oil pan before the applied sealant starts to harden.






5. Assemble and tighten the new bolts to the positions shown in the figure.

CAUTION: The bolts for assembling are used for bolts with spring washer. If the bolts with spring washer are reused it could loosen the bolts due to spring weakness, therefore use new bolts.

NOTE: Bolt size: M6x1.0 bolt, length to approx. 15 mm {0.59 in}*

* : Length without spring washer is indicated due to bolt with spring washer. Length with spring washer is approx. 13 mm {0.51 in}.

Tightening torque
8-10 N.m {82-101 kgf.cm, 71-88 in.lbf}

55. Assemble a new oil seal using the following procedure:

CAUTION: If an oil seal is reused it could cause ATF leakage, therefore use a new oil seal.

1. Apply ATF (ATF FZ) to the engagement area of the new oil seal and transaxle case.
2. Apply ATF (ATF FZ) to the engagement area of the new oil seal and connector.






3. Assemble the new oil seal to the position shown in the figure using the SST.






A : -0.5-1.5 mm {-0.01-0.05 in}

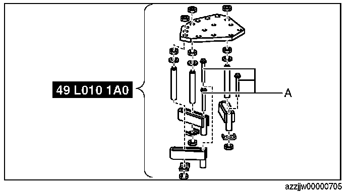
56. Remove the SSTs from the transaxle using the following procedure:

CAUTION: When removing the transaxle from the SST (engine stand) using chain hoists, be careful not to allow the transaxle to contact the SST (engine stand). If the transaxle contacts the SST, check the areas that made contact and replace damaged parts with new ones.






1. Assemble the SSTs using part number: 9YA02 1015, or M10x1.5 bolts, length to 35 mm {1.4 in}.

A : Part number: 9YA02 1015, or M10x1.5 bolt, length to 35 mm {1.4 in}

Tightening torque
38-52 N.m {3.9-5.3 kgf.m, 29-38 ft.lbf}






2. Using chain hoists, remove the SST (engine stand) from the transaxle.

A : Part number: 9YA02 A220, or M12x1.75 bolt, length to 40 mm {1.6 in}

CAUTION: When removing the transaxle from the SST (engine stand) using chain hoists, be careful not to allow the transaxle to contact the SST (engine stand). If the transaxle contacts the SST, check the areas that made contact and replace damaged parts with new ones.






3. Remove the SSTs.

A : Part number: 9YA02 1015, or M10x1.5 bolt, length to 35 mm {1.4 in}






4. Disassemble the SST.

A : Part number: 9YA02 1440, or M14x1.5 bolt, length to 100 mm {3.94 in}

57. Assemble a new hose clamp using the following procedure:

CAUTION: If a hose clamp is reused it could cause ATF leakage, therefore use a new hose clamp.






1. Assemble the new hose clamp to the position shown in the figure.






CAUTION: Assemble the hose clamp tab to within the range shown in the figure.

A : 210°






2. Verify that the hose clamp is assembled to within the position shown in the figure.

A : Hose clamp assembly area
B : Hose clamp
C : Oil seal flange

CAUTION: Verify that the hose clamp does not contact the oil seal flange.

- If not within the area, adjust so that the hose clamp assembly position is within the area.











58. Assemble the dipstick using the following procedure:.

1. Assemble a new O-ring using the following procedure:

CAUTION: If an O-ring is reused it could cause ATF leakage, therefore use a new O-ring.

NOTE: O-ring size: Outer diameter approx. 16.6 mm {0.654 in}, thickness approx. 2.4 mm {0.094 in}

1. Apply ATF (ATF FZ) to the new O-ring.






2. Assemble the new O-ring.






2. Assemble the dipstick.






3. Assemble and tighten the bolt shown in the figure.

NOTE: Bolt size: M6x1.0 bolt, length to approx. 16 mm {0.63 in}

Tightening torque
8-11 N.m {82-112 kgf.cm, 71-97 in.lbf}











59. Assemble the oil cooler using the following procedure:.

1. Assemble new O-rings using the following procedure:

CAUTION: If an O-ring is reused it could cause ATF leakage, therefore use a new O-ring.

NOTE: O-ring size: Outer diameter approx. 24.4 mm {0.961 in}, thickness approx. 2.4 mm {0.094 in}

1. Apply ATF (ATF FZ) to the new O-rings.






2. Assemble the new O-rings.






2. Assemble the oil cooler.






3. Assemble and tighten the bolts shown in the figure.

NOTE: Bolt size: M8x1.25 bolt, length to approx. 25 mm {0.98 in}

Tightening torque
22-27 N.m {2.3-2.7 kgf.m, 17-19 ft.lbf}

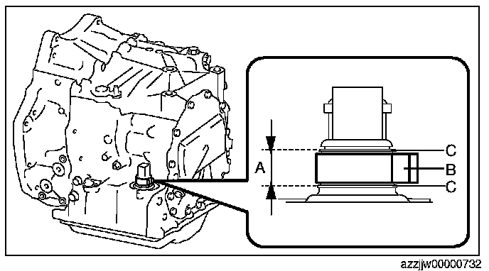
60. Assemble the torque converter using the following procedure:






1. Apply ATF (ATF FZ) to the stator shaft end of the oil pump shown in the figure.

CAUTION: Accurately perform the procedure to protect the internal parts of the torque converter.







2. Assemble the torque converter so that the two surfaces of the notch on the end of the torque converter engage the inner rotor of the oil pump.






3. To verify that the torque converter is securely assembled, measure the distance shown in the figure.

A : Converter housing end (alignment surface with engine)
B : Stud bolt seating face of torque converter

NOTE: Recommended measuring instrument: Depth gauge, straight edge ruler

Specification
14.6 mm {0.575 in} or more

- If not within the specification, remove the torque converter and reassemble.

NOTE: Measurement method






1. Set two straight edge rulers along the alignment surface of the converter housing with the engine as shown in the figure.

A : Straight edge ruler

2. Measure the positions (2 locations) shown in the figure using a depth gauge and calculate the average value.
3. Subtract the thickness of the straight edge ruler from the average value.






61. Assemble and tighten the stud bolts.

Tightening torque
15-25 N.m {1.6-2.5 kgf.m, 12-18 ft.lbf}