Operation CHARM: Car repair manuals for everyone.
Manuals through 2025 now available!

Our trusted friends have launched a new website named LEMON, which has newer manuals. It also contains all the CHARM manuals.

LEMON is the spiritual successor to CHARM, I recommend you try it!

Link: lemon-manuals.la or lemon-manuals.org.ua

(Some people have issue connecting. LEMON is investigating. For now, use Firefox or change your DNS server)

Or, hide this message: temporarily or permanently

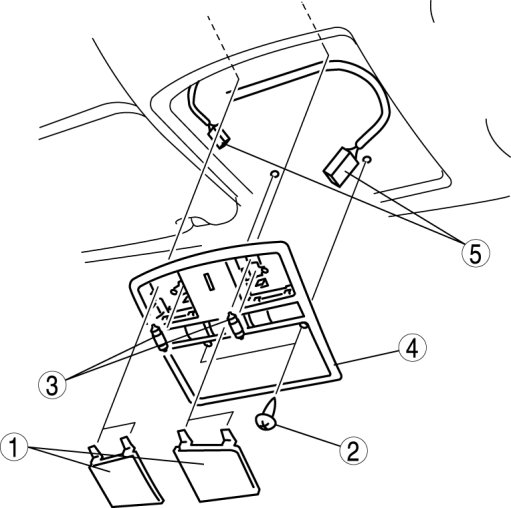
Map Light Removal/Installation





MAP LIGHT REMOVAL/INSTALLATION

1. Disconnect the negative battery cable.

2. Open the overhead console.

3. Remove in the order indicated in the table.










4. Install in the reverse order of removal.

Lens Removal Note

1. Insert a tape-wrapped flathead screwdriver into the service hole and pry with the screwdriver in the direction shown by the arrow to remove the lens.