Operation CHARM: Car repair manuals for everyone.
Manuals through 2025 now available!

Our trusted friends have launched a new website named LEMON, which has newer manuals. It also contains all the CHARM manuals.

LEMON is the spiritual successor to CHARM, I recommend you try it!

Link: lemon-manuals.la or lemon-manuals.org.ua

(Some people have issue connecting. LEMON is investigating. For now, use Firefox or change your DNS server)

Or, hide this message: temporarily or permanently

Transfer Case: Service and Repair





TRANSFER REMOVAL/INSTALLATION

1. Disconnect the negative battery cable.

2. Remove the following parts:
a. Middle pipe Service and Repair

b. Front pipe Service and Repair

c. Stabilizer control link Front Suspension - Crossmember Removal/Installation

d. Tie-rod end ball joint (RH) Front Suspension - Crossmember Removal/Installation

e. Front lower arm ball joint (RH) Front Suspension - Crossmember Removal/Installation

3. Disconnect the drive shaft (RH) from the joint shaft. Front Drive Shaft Removal/Installation

4. Remove the joint shaft Joint Shaft Removal/Installation

5. Disconnect the propeller shaft from the transfer side. Service and Repair

6. Remove in the order indicated in the table.

7. Install in the reverse order of removal.

8. Warm up the engine and transaxle, inspect for oil leakage, and inspect the transfer operation.









Transfer Removal Note

1. Disconnect the front stabilizer control link, and rotate the stabilizer to the front to secure a space from the side.






2. Remove the No.1 engine mount bolt C.






3. Remove the transfer installation bolts.

4. Push the engine forward so that the front side of the transfer faces downward, then remove the transfer.






Transfer Installation Note

1. Push the engine forward so that the front side of the transfer faces downward, then install the transfer.






2. Install the transfer installation bolts.

Tightening torque
- 90-100 Nm {9.2-10.1 kgf-m, 67-73 ft-lbf}

3. Tighten the No.1 engine mount bolt C at the specified torque.






Tightening torque
- 105-132 Nm {11-13 kgf-m, 78-97 ft-lbf}

4. Rotate the front stabilizer to the rear to set it in its original position.






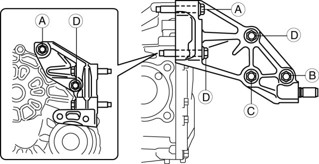
Transfer Bracket Installation Note

1. Install the transfer bracket to the transfer, then temporarily tighten bolt C.






2. Temporarily tighten bolt A and B.

3. Tighten bolt A, B and C in the order of C->A->B.

Tightening torque
- Bolt A, B, C: 42-62 Nm {4.3-6.3 kgf-m, 31-45 ft-lbf}

4. Tighten bolt D.

Tightening torque
- Bolt D: 42-62 Nm {4.3-6.3 kgf-m, 31-45 ft-lbf}