Operation CHARM: Car repair manuals for everyone.
Manuals through 2025 now available!

Our trusted friends have launched a new website named LEMON, which has newer manuals. It also contains all the CHARM manuals.

LEMON is the spiritual successor to CHARM, I recommend you try it!

Link: lemon-manuals.la or lemon-manuals.org.ua

(Some people have issue connecting. LEMON is investigating. For now, use Firefox or change your DNS server)

Or, hide this message: temporarily or permanently

Installation

1. Clean all sealing surfaces.

Figure 8 - Timing Chain Cover:





2. Replace O-rings (1 and 2) in timing chain cover (Figure 8).
3. Install new intermediate, distributor drive, and crankshaft sprockets.

Figure 9 - Alignment on Crankcase:





4. With piston number one still positioned at ignition TDC, install the new timing chain together with the camshaft sprockets while matching up all paint dots on chain and sprockets. The mark (2) on the distributor drive sprocket and the lug (3) on the crankcase must also be aligned for proper ignition timing (Figure 9).
5. Tighten the left slide rail.
6. Install slide rails in cylinder heads.
7. Coat sealing surface of timing chain cover with sealing compound and install, and at the same time place the oil pump chain (using the curved sheet metal strip) on the crankshaft sprocket. Install the new radial seal with installation tool.

Figure 10 - Oil Pan/Crankcase Alignment:





8. For the remaining assembly, follow the steps for Removal in reverse order.

CAUTION: The rear mating surface of the oil pan must be aligned to the rear mating surface of the cylinder crankcase (arrows). If the oil pan is not aligned with the crankcase, noise and vibrations may result (Figure 10).

Crank engine over by hand, and then set at ignition TDC for cylinder no. 1. Check timing marks on camshaft sprockets and distributor rotor for proper alignment. Install distributor so rotor and mark on distributor housing are in alignment.

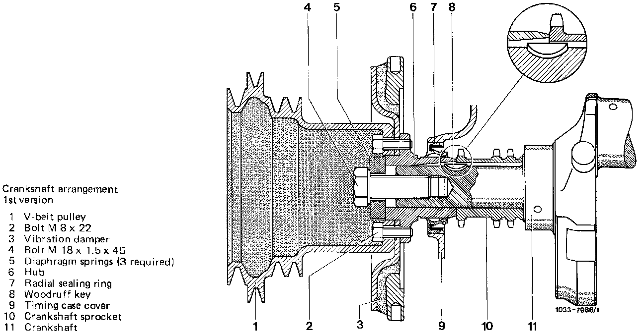
Crankshaft Pulley With 3 Diaphragm Springs (1st Version):




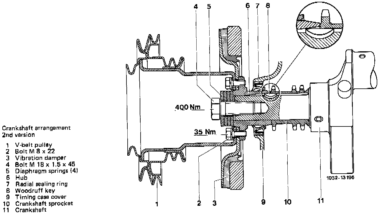
Crankshaft Pulley With 4 Diaphragm Springs (2nd Version - as of 8/95):





Use the following torque specs:

Component Nm (ft lb)
Oil drain plug (M12) 40 (29)
Front crankshaft bolt
W/ 3 diaphragm springs 270 - 330 (200 - 244)
W/ 4 diaphragm springs 370 - 400 (273 - 295)
Timing chain cover screws (M8) 25 (18)
Oil pan screws 11 (8)
Valve cover screws 3 (2.25)
Stretch bolt for camshaft sprocket 100 (74)


9. Check tension of V-belts.
10. Pressure test cooling system. Run engine and check for leaks.
11. Check idle speed, ignition timing and engine operating temperature.