Operation CHARM: Car repair manuals for everyone.
Manuals through 2025 now available!

Our trusted friends have launched a new website named LEMON, which has newer manuals. It also contains all the CHARM manuals.

LEMON is the spiritual successor to CHARM, I recommend you try it!

Link: lemon-manuals.la or lemon-manuals.org.ua

(Some people have issue connecting. LEMON is investigating. For now, use Firefox or change your DNS server)

Or, hide this message: temporarily or permanently

Air Bag Control Module: Description and Operation




The control unit, also referred to as the triggering unit or crash sensor, is responsible for determining the severity of a collision and, if necessary, triggering the restraint system at the correct time.

General:





Two integrated circuits are accommodated together with an acceleration sensor in a common housing.

The housing and the electrical connections have been designed in such a way as to virtually exclude any malfunctions due to electrical interference in the vehicle electrical system caused by the switching of various electrical consumer components on and off, and by electromagnetic interference on public highways.

Function





The electronic control unit processes the deceleration of the vehicle during a frontal collision and must therefore be rigidly coupled with the vehicle.

Incorrect triggerings are avoided by means of an integral mercury switch which interrupts the ignition circuits of the airbag and belt tensioner restraint system during normal driving, and by a predetermined deceleration threshold (as).

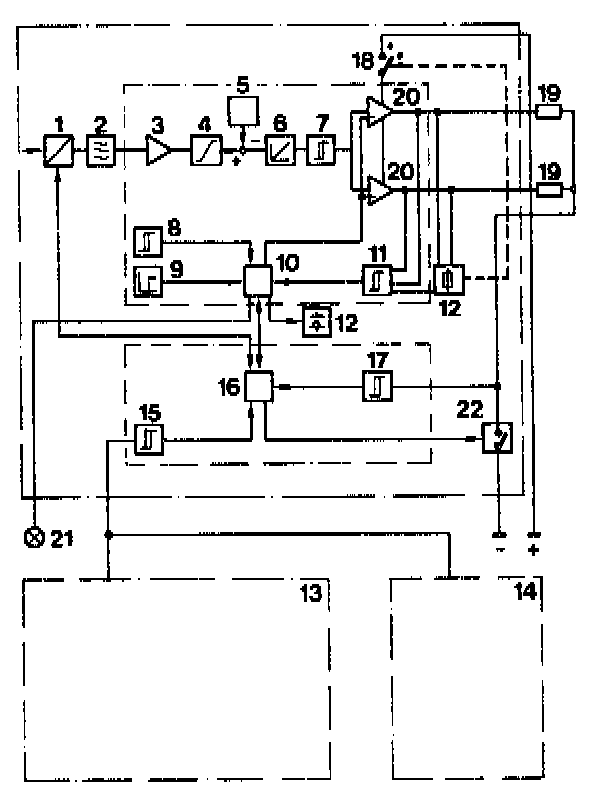
The acceleration sensor (1) in the control unit records the deceleration or acceleration acting on the vehicle on the longitudinal direction. and generates a signal. This signal is sent via the high-pass filter (2) to the amplifier (3) which adapts the signal strength to the following processing stages. The acceleration signal is restricted in the limiter (4) and is reduced by a constant acceleration threshold (as) in a subtractor circuit (5).

The integrator (6) then integrates the signal produced and passes it on to the trigger switch (7) for evaluation. If the fixed triggering speed V is exceeded, the output stages (20) are activated. This effects triggering of the driver's airbag and the belt tensioners by means of the detonators (19) when the test cycle is complete. An additional precaution against incorrect triggering is a mercury switch (18) installed in the control unit. The control unit also contains a further circuit to monitor the ignition circuits and to perform its own function check. Malfunctions are indicated by the warning lamp (21).





1 Acceleration sensor
2 High-pass filter
3 Amplifier
4 Limiter
5 Subtractor circuit
6 Integrator
7 Trigger switch
8 Voltage monitoring
9 Switch-on delay
10 Logic circuit
11 Ignition circuit monitoring
12 Fault memory
13 Voltage transformer
14 Reserve power source
15 Reserve power source monitoring
16 Sequence control system
17 Output stage monitoring
18 Mercury switch
19 Detonators for airbag and belt tensioner generators
20 Output stages
21 Warning lamp
22 Test switch

Airbag Control Unit (1st generation up to 09/87 revised for service):





N2/2 Airbag control unit part number 004 820 11 10
1 Web

Due to further technical developments (derived from the 3rd generation airbag with integral reserve power source and voltage transformer), and improved environmental compatibility (free from mercury), the airbag control unit (1/3) has been launched and adapted to the present level of technology.

NOTE: The RS or SRS warning lamp (A1e15) must go out after approx. 4 s. Test steps 2, 6 and 7 of the test using the airbag tester, part no. 126 589 10 21 00, are no longer required.

When installing a modified airbag control unit, the voltage transformer (N24) and the reserve power source (C1) must be removed and the cable ends must be insulated with black insulating tape and fastened to the existing cable harness. The airbag control unit (1/3) has the part number 004 820 11 10 and, in conjunction with the cable (A), part number 124 540 57 35, replaces the previous control unit, part number 124 820 51 10; and, in conjunction with the cable (B), part number 124 540 58 35, replaces the control unit, part number 002 820 97 10.





A Cable, part number 124 540 57 35
B Cable, part number 124 540 58 35

A notice on airbag 1/3 and on the modified test procedure is stamped on the top section of the test coupling for the airbag 10-pin plug connection (X29/9).

NOTE: The control units, part number 124 820 51 10 and part number 002 820 97 10, are no longer supplied as spare parts. The voltage transformer and reserve power source are still available (as of October 1990).