Operation CHARM: Car repair manuals for everyone.
Manuals through 2025 now available!

Our trusted friends have launched a new website named LEMON, which has newer manuals. It also contains all the CHARM manuals.

LEMON is the spiritual successor to CHARM, I recommend you try it!

Link: lemon-manuals.la or lemon-manuals.org.ua

(Some people have issue connecting. LEMON is investigating. For now, use Firefox or change your DNS server)

Or, hide this message: temporarily or permanently

TD Signal Test


Equipment
Multimeter -- e.g. SUN DMM-5





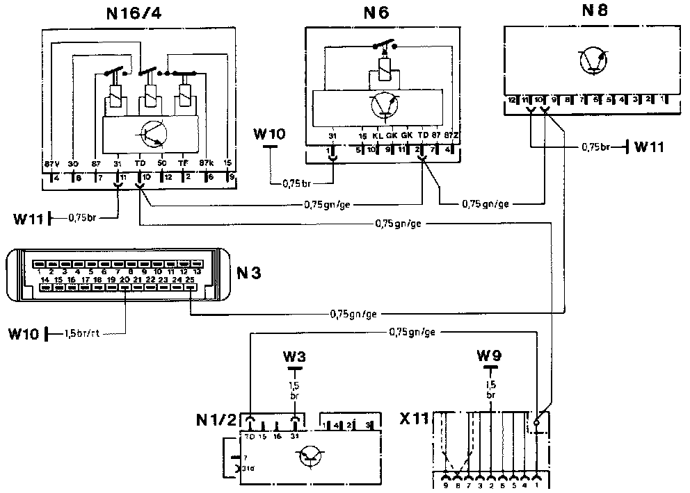
Wiring Diagram, TD Signal, Model 126
N1/2 Electronic ignition control unit
N3 CIS-E control unit
N6 A/C compressor control unit
N8 Idle speed control unit
N16/4 Fuel pump relay
X11 Diagnostic socket/terminal block (circuit TD)
W3 Ground, left front wheelhousing (at ignition coil)
W9 Ground, at left headlamp unit
W10 Ground, battery
W11 Ground, engine

Test Page 1:





Fig. 1:





Test Page 2:





Fig. 2: