Operation CHARM: Car repair manuals for everyone.
Manuals through 2025 now available!

Our trusted friends have launched a new website named LEMON, which has newer manuals. It also contains all the CHARM manuals.

LEMON is the spiritual successor to CHARM, I recommend you try it!

Link: lemon-manuals.la or lemon-manuals.org.ua

(Some people have issue connecting. LEMON is investigating. For now, use Firefox or change your DNS server)

Or, hide this message: temporarily or permanently

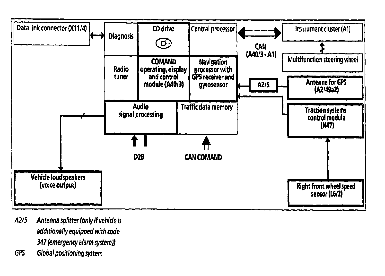
Navigation Mode, Function








Block diagram of COMAND navigation system, illustrated without dynamic guidance (code 815)

The marked elements are the components which are essentially used for navigation mode.

The location of the vehicle and direction and distance to the destination (according to destination entered) can be determined with the aid of the COMAND navigation system. Then the measures required to reach the destination are started (guidance). The navigation system can be activated by pressing the "NAVI" button on the control panel.

A navigation processor with CD-ROM drive for the digital map data is integrated into the COMAND operating, display and control module (A40/3).

NOTE: The navigation CD-ROM drive can also play music CDs.

Destination entry
The destination can be entered with menu guidance on the control panel and is then processed by the navigation processor. Only destinations located on the CD-ROM can be entered. COMAND offers the following possibilities for entering a destination:
- Entry directly on displayed map.
- Calling up a destination stored in the system.
- Free entry of a destination using its name (if destination is stored on CD-ROM).

Location finding
The COMAND system continuously calculates the location of the vehicle with the aid of the following procedures:
- GPS location finding
- Basic location finding (dead reckoning)
- Map-supported location finding (map matching)

The navigation processor calculates the most probable position by continuously comparing the location finding results obtained with these three methods.

Route calculation
The route is calculated in the navigation processor after entry of the destination or automatically after deviating from the recommended route.

If the vehicle is also equipped with dynamic guidance (code 815), the current traffic situation (road construction, traffic jams,...) automatically affect the route calculation.

The calculated route is stored in the navigation processor.

Guidance
After the navigation processor has calculated the route, the guidance feature is started.

Three types of representation can be selected for graphic guidance:
- Symbolic representation (route guide symbols)
- Map display
- Mixture of map display and symbolic representation

It is possible to switch over between the three types of representation as desired. The guidance feature is supported significantly in all cases by the voice output from the vehicle loudspeakers.