Operation CHARM: Car repair manuals for everyone.
Manuals through 2025 now available!

Our trusted friends have launched a new website named LEMON, which has newer manuals. It also contains all the CHARM manuals.

LEMON is the spiritual successor to CHARM, I recommend you try it!

Link: lemon-manuals.la or lemon-manuals.org.ua

(Some people have issue connecting. LEMON is investigating. For now, use Firefox or change your DNS server)

Or, hide this message: temporarily or permanently

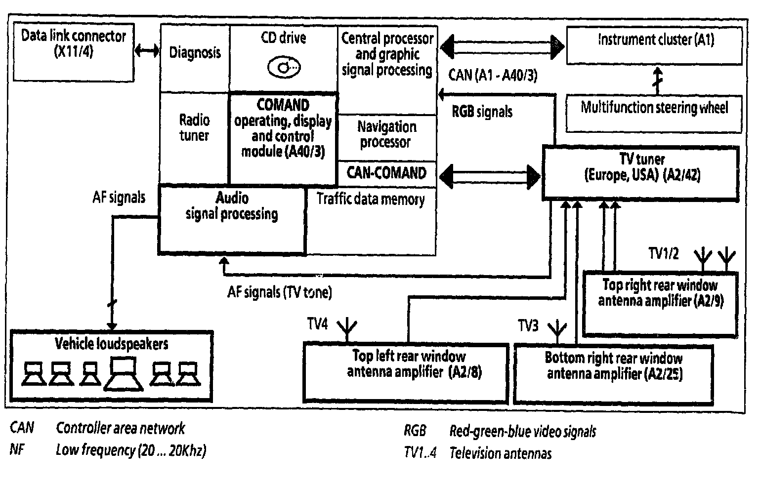
TV Mode, Function (With Code [860] TV Tuner)








Block diagram of COMAND TV system

The marked elements are the components which are essentially used for TV mode.


NOTE: The COMAND TV system (optional) is presently still in preparation (status 3/99).