Operation CHARM: Car repair manuals for everyone.
Manuals through 2025 now available!

Our trusted friends have launched a new website named LEMON, which has newer manuals. It also contains all the CHARM manuals.

LEMON is the spiritual successor to CHARM, I recommend you try it!

Link: lemon-manuals.la or lemon-manuals.org.ua

(Some people have issue connecting. LEMON is investigating. For now, use Firefox or change your DNS server)

Or, hide this message: temporarily or permanently

Exhaust System - Sulfur Odor

Article No.
97-10-8

05/12/97

^ EXHAUST ODOR - UNPLEASANT EXHAUST
SULFUR ODOR DURING VARIOUS DRIVING
CONDITIONS - VEHICLES BUILT 4/13/92 THROUGH
11/29/93

^ EXHAUST - UNPLEASANT EXHAUST SULFUR
ODOR DURING VARIOUS DRIVING CONDITIONS -
VEHICLES BUILT 4/13/92 THROUGH 11/29/93

LIGHT TRUCK:
1993 VILLAGER

ISSUE:
An unpleasant exhaust sulfur odor may be noticed during various driving conditions. This may be caused by the Powertrain Control Module (PCM).

ACTION:
Replace the PCM, intermediate exhaust pipe and oxygen sensor (02 sensor). The PCM has been revised to reduce the possibility of odor. Refer to the following Service Procedure for details.

SERVICE PROCEDURE





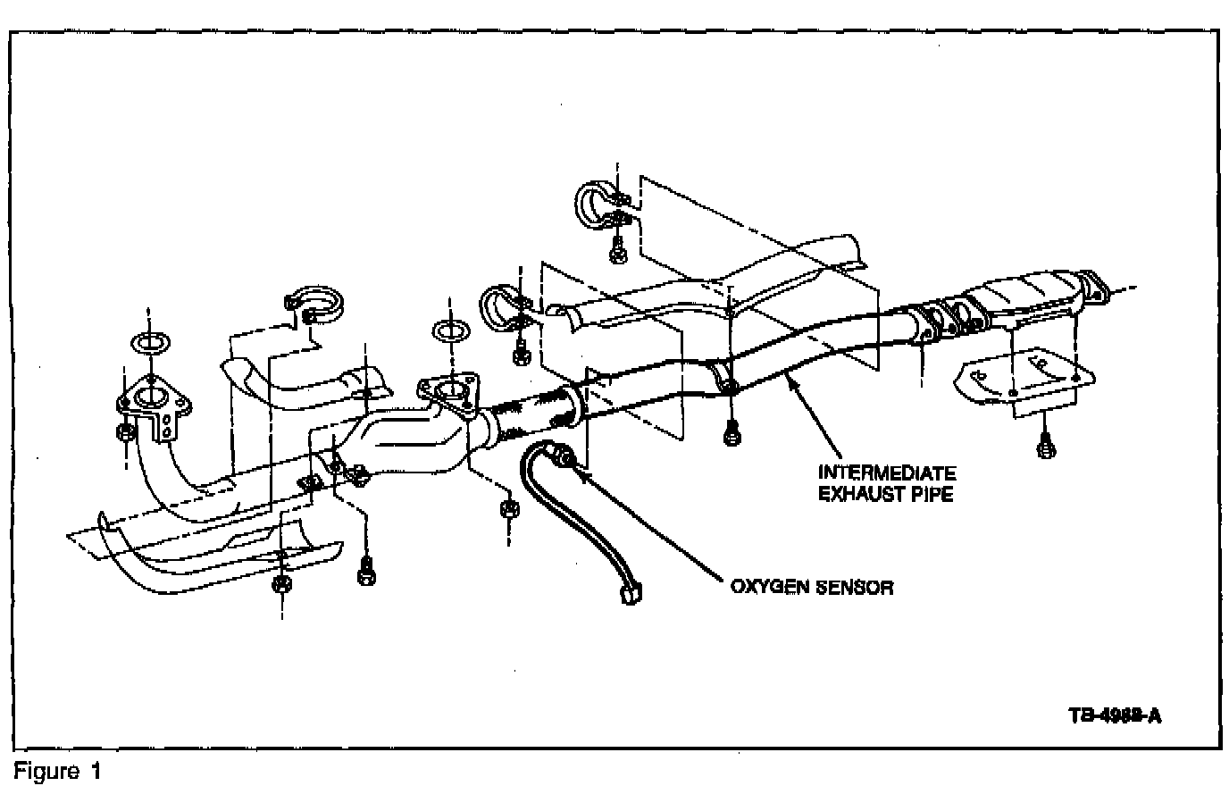
1. Refer to the 1993 Villager Service Manual, Section 09. Remove the old intermediate exhaust pipe and install the revised Pipe (F4XZ-5E256-CA) and new Gaskets (F3XY-9450-A and F3XY-5E281-A) and Clamps (F3XY-5F265-A and F3XY-5C264-A). Refer to Figure 1.

2. Install a new Oxygen Sensor (F5XZ-9F472-AA) during the installation of the exhaust pipe.





3. Drill two (2) 8.7 mm (11/32") holes approximately 19 mm (3/4") apart in the vehicle frame to accommodate the revised 02 sensor connector retainer. Refer to Figure 2.





4. Connect the 02 sensor connector to the new style Harness Connector (F4XZ-12A522-FA) and route the remainder of the harness upward toward the intermediate connector. Use a Cable Tie (24216-33G00) to hold the harness in place. The single gray wire should be routed toward the PCM harness where it passes through the bulkhead from the engine compartment to the PCM located in the passenger compartment. Refer to Figure 3.

5. Lower the vehicle and raise the hood.

6. Using a small pointed object, pierce a small hole in the grommet and feed the single gray wire through the grommet. This wire will be attached to the PCM in a following Step.

7. Remove the PCM following the procedure outlined in the 1993 Villager Service Manual.

8. Insert the single gray wire which routed into the passenger compartment in an earlier Step into the PCM connector (C275) at Pin 106. Refer to Figure 2.





9. Install the revised PCM following the procedure outlined in the 1993 Villager Service Manual. Refer to the following PCM Application Chart for the correct PCM.

10. Start the engine, check for exhaust leaks, and bring the engine to normal operating temperature.

11. Let the engine idle for 30 seconds or more.

12. Increase the idle speed to 2000 rpms or more for 55 to 65 seconds and return to normal idle speed.

13. Repeat Steps 11 and 12, 15 times to relearn the PCM.

14. Using the Service Bay Diagnostic System (SBDS) or New Generation Star (NGS) Tester, check the Parameter Identification Display (PID) for the self learning value. The reading should be approximately 100%





Obtain an Authorized Modification Decal (FPS 8262 - obtainable through DOES II, 25/pkg) and list the date, dealer number, and summary of modifications performed. Select a prominent place adjacent to the Vehicle Emission Control Information Decal suitable for installing the Authorized Modifications Decal. Clean the area, install the decal, and cover it with a clear plastic decal shield.





Parts Block

OTHER APPLICABLE ARTICLES: NONE

WARRANTY STATUS: Eligible Under The Provisions Of Bumper To Bumper Warranty Coverage

OPERATION DESCRIPTION TIME

971008A Repair As Outlined 1.8 Hrs.

DEALER CODING
CONDITION
BASIC PART NO. CODE
12A650 O8

OASIS CODES: 403000, 623000