Operation CHARM: Car repair manuals for everyone.
Manuals through 2025 now available!

Our trusted friends have launched a new website named LEMON, which has newer manuals. It also contains all the CHARM manuals.

LEMON is the spiritual successor to CHARM, I recommend you try it!

Link: lemon-manuals.la or lemon-manuals.org.ua

(Some people have issue connecting. LEMON is investigating. For now, use Firefox or change your DNS server)

Or, hide this message: temporarily or permanently

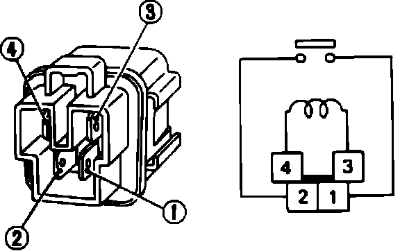
Main Relay (Computer/Fuel System): Description and Operation

PCM Relay:





PURPOSE
The PCM relay provides operating power to the Powertrain Control Module (PCM).

LOCATION
Mounted in Fuse/Fuse Link Box-1 on the driver's side fender.

OPERATION
The PCM relay coil receives 12VDC from a fuse link and is grounded through pin 4 of the PCM. When the relay coil is grounded, the contact switch closes and supplies operating 12VDC to pin 47 of the PCM.