Operation CHARM: Car repair manuals for everyone.
Manuals through 2025 now available!

Our trusted friends have launched a new website named LEMON, which has newer manuals. It also contains all the CHARM manuals.

LEMON is the spiritual successor to CHARM, I recommend you try it!

Link: lemon-manuals.la or lemon-manuals.org.ua

(Some people have issue connecting. LEMON is investigating. For now, use Firefox or change your DNS server)

Or, hide this message: temporarily or permanently

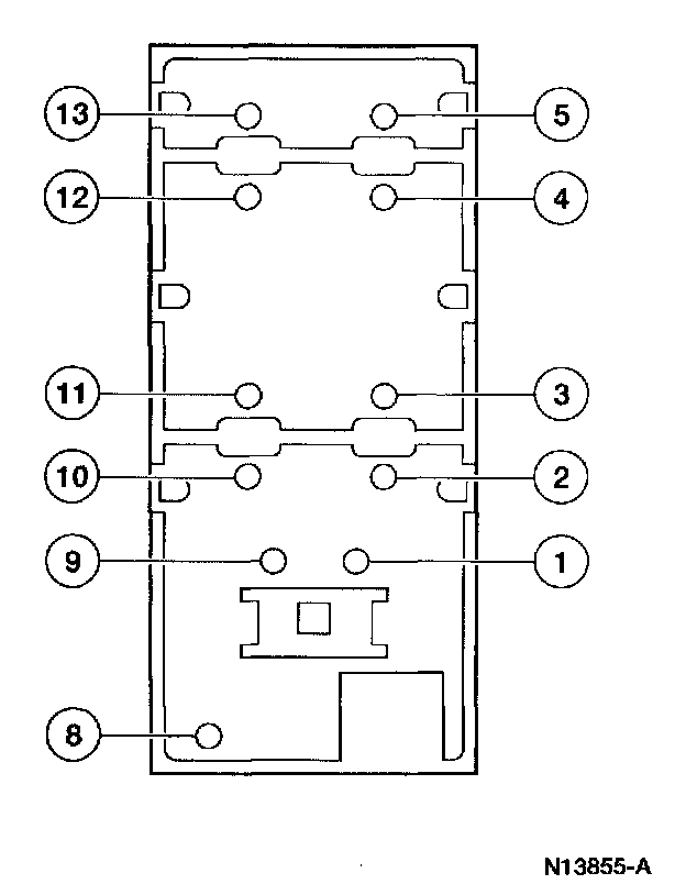
Master Window Regulator Control-Sedan, Wagon

1. Key OFF.
2. Remove and disconnect the master window regulator control switch.
3. Measure the resistance between pin 9 and the following terminal pins of the master window regulator control switch:












4. If the master window regulator control switch fails any of these tests, replace it. Otherwise, return to the Pinpoint Tests.