Operation CHARM: Car repair manuals for everyone.
Manuals through 2025 now available!

Our trusted friends have launched a new website named LEMON, which has newer manuals. It also contains all the CHARM manuals.

LEMON is the spiritual successor to CHARM, I recommend you try it!

Link: lemon-manuals.la or lemon-manuals.org.ua

(Some people have issue connecting. LEMON is investigating. For now, use Firefox or change your DNS server)

Or, hide this message: temporarily or permanently

Returnable Fuel System





Returnable Fuel System

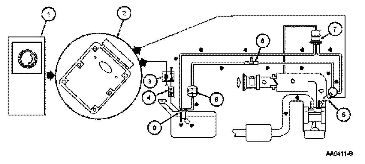
The fuel system consists of a fuel tank with a reservoir, [1][2]fuel pump module, fuel supply lines, fuel filter(s), schrader/pressure test point, fuel rail, fuel injectors, and fuel pressure regulator. Operation of the system is as follows (refer to Figure 57 for all others):

1. The fuel delivery system uses the crankshaft position (CKP) sensor to signal the PCM that the engine is either cranking or running.
2. The fuel pump logic is defined in the Fuel System control strategy and is executed in the PCM. The PCM will ground the fuel pump relay for one second during key on and engine off. During crank the fuel pump relay is grounded as long as the PCM receives a CKP signal.
3. The fuel pump relay has a primary and a secondary circuit. The primary side is controlled by the PCM and the secondary side provides B+ to the fuel pump circuit when the relay is energized.
4. The inertia fuel shut-off (IFS) switch is used to de-energize the fuel delivery secondary circuit in the event of a collision. The IFS Switch is a safety device that should only be reset after a thorough inspection of the vehicle (following a collision).
5. The fuel injector is a solenoid-operated valve that meters fuel flow to each combustion cylinder. The fuel injector is opened and closed a constant number of times per crankshaft revolution. The amount of fuel is controlled by length of time the fuel injector is held open. The injector is normally closed and is operated by 12 volt VPWR from the power relay. The ground signal is controlled by the PCM.
6. A pressure test point valve (schrader valve) is located on the fuel rail. This is used to measure fuel injector supply pressure for service and diagnostic procedures.
7. The fuel pressure regulator is attached to the fuel rail downstream of the fuel injectors. It regulates fuel pressure supplied to the fuel injectors. The fuel pressure regulator is a diaphragm-operated relief valve. One side of the diaphragm senses fuel pressure and the other side is connected to the intake manifold vacuum. Fuel pressure is established by a spring preload applied to the diaphragm. Balancing one side of the diaphragm with manifold vacuum maintains a constant fuel pressure drop across the fuel injectors. Fuel pressure is high when engine vacuum is low. Excess fuel is bypassed through the fuel pressure regulator and returned through the fuel return line to the fuel tank.
8. There are four filtering or screening devices in the fuel delivery system. The fuel intake sock or screen is a fine, nylon mesh mounted on the intake side of the fuel pump. There is a fuel filter screen located at the fuel rail side of the fuel injector. A fuel filter/screen is located in the inlet side of the fuel pressure regulator. The fuel filter assembly is located between the fuel pump and the pressure test point/schrader valve.
9. The fuel pump (FP) module is a device that contains both fuel pump and fuel sender assembly. The fuel pump is located inside the reservoir and supplies fuel through the [1][2]fuel pump module manifold to the engine and the fuel pump module jet pump.

Note: Some vehicles have the relay located in the Power Distribution Box.

Figure 57: Fuel System - All Others: