Operation CHARM: Car repair manuals for everyone.
Manuals through 2025 now available!

Our trusted friends have launched a new website named LEMON, which has newer manuals. It also contains all the CHARM manuals.

LEMON is the spiritual successor to CHARM, I recommend you try it!

Link: lemon-manuals.la or lemon-manuals.org.ua

(Some people have issue connecting. LEMON is investigating. For now, use Firefox or change your DNS server)

Or, hide this message: temporarily or permanently

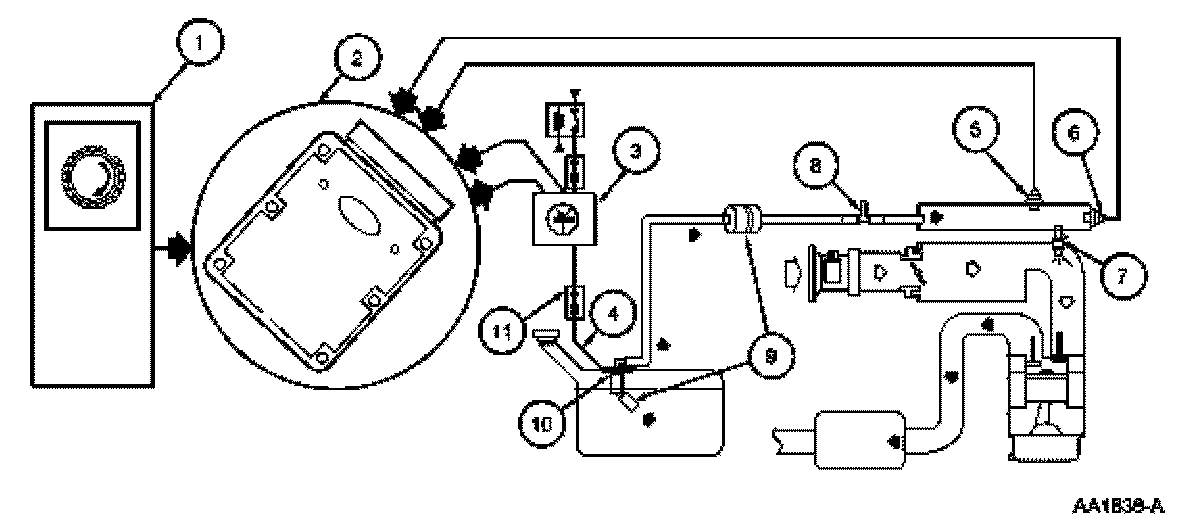
Electronic Returnless Fuel System





Electronic Returnless Fuel System

The fuel system consists of a fuel tank with reservoir, fuel pump, [1][2]fuel rail pressure sensor, fuel filter, fuel supply line, engine fuel temperature sensor, fuel rail, fuel injectors, and schrader/pressure test point. Operation of the system is as follows (Figure 59) and (Figure 60):

1. The fuel delivery system is enabled during crank or running mode once the PCM receives a crankshaft position (CKP) sensor signal.
2. The fuel pump logic is defined in the fuel system control strategy and is executed by the PCM.
3. The PCM commands a duty cycle to the fuel pump driver module (FPDM).
4. The fuel pump driver module modulates the voltage to the fuel pump (FP) to achieve the proper fuel pressure. Voltage for the fuel pump is supplied by the power relay or FPDM power supply relay. (For additional information on FPDM operation, refer to PCM Outputs�Fuel Pump and PCM Inputs�FPM.)
5. The fuel rail pressure (FRP) sensor provides the PCM with the current fuel rail pressure. The PCM uses this information to vary the duty cycle output to the FPDM to compensate for varying loads.
6. The engine fuel temperature (EFT) sensor measures current fuel temperatures in the fuel rail. This information is used to vary the fuel pressure and avoid fuel system vaporization.
7. The fuel injector is a solenoid-operated valve that meters the fuel flow to each combustion cylinder. The fuel injector is opened and closed a constant number of times per crankshaft revolution. The amount of fuel is controlled by the length of time the fuel injector is held open. The injector is normally closed and is operated by 12 volt VPWR from the power relay. The ground signal is controlled by the PCM.
8. A pressure test point valve (schrader valve) is located on the fuel rail. This is used to measure fuel injector supply pressure for diagnostic procedures and repairs.
9. There are three filtering or screening devices in the fuel delivery system. The intake sock is a fine, nylon mesh screen mounted on the intake side of the fuel pump. There is a fuel filter screen located at the fuel rail side of the fuel injector. The fuel filter assembly is located between the fuel pump and the pressure test point/schrader valve.
10. The fuel pump (FP) module is a device that contains the fuel pump and the fuel sender assembly. The fuel pump is located inside the reservoir and supplies fuel through the [1][2]fuel pump module manifold to the engine and the fuel pump module jet pump.
11. The inertia fuel shut-off (IFS) switch is used to de-energize the fuel delivery secondary circuit in the event of a collision. The IFS switch is a safety device that should only be reset after a thorough inspection of the vehicle (following a collision).

Figure 59: Fuel System - Electronic Returnless:





Figure 60: Typical Returnless Fuel System Schematic (NOTE: See EVTM For Proper Power Source And Relay Useage.):