Operation CHARM: Car repair manuals for everyone.
Manuals through 2025 now available!

Our trusted friends have launched a new website named LEMON, which has newer manuals. It also contains all the CHARM manuals.

LEMON is the spiritual successor to CHARM, I recommend you try it!

Link: lemon-manuals.la or lemon-manuals.org.ua

(Some people have issue connecting. LEMON is investigating. For now, use Firefox or change your DNS server)

Or, hide this message: temporarily or permanently

Manual A/C

CLIMATE CONTROL ASSEMBLY - MANUAL A/C

REMOVAL







1. Remove the finish panel.







2. Disconnect the connector.







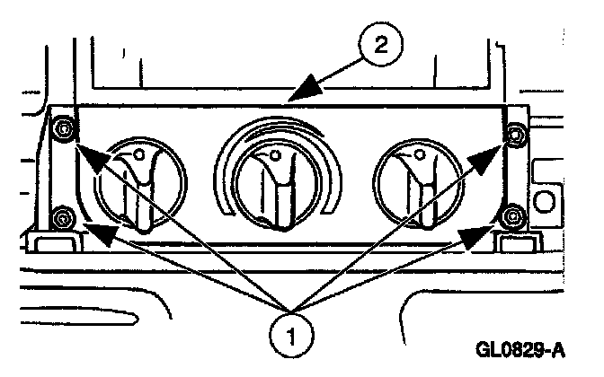
3. Remove the climate control head.
1 Remove the screws.
2 Remove the climate control head.







4. Disconnect the climate control assembly.
1 Disconnect the electrical connectors.
2 Disconnect the vacuum line connector.

INSTALLATION
1. To install, reverse the removal procedure.