Operation CHARM: Car repair manuals for everyone.
Manuals through 2025 now available!

Our trusted friends have launched a new website named LEMON, which has newer manuals. It also contains all the CHARM manuals.

LEMON is the spiritual successor to CHARM, I recommend you try it!

Link: lemon-manuals.la or lemon-manuals.org.ua

(Some people have issue connecting. LEMON is investigating. For now, use Firefox or change your DNS server)

Or, hide this message: temporarily or permanently

System Specifications

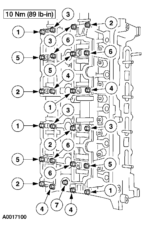
CAUTION: The cylinder head bolts must be discarded and new bolts installed. They are tighten-to-yield designed and cannot be reused.










Cylinder head bolts
Stage 1 40 Nm (30 ft. lbs.).
Stage 2 additional 90 degrees.
Stage 3 Loosen the bolts a minimum of one full turn.
Stage 4 40 Nm (30 ft. lbs.).
Stage 5 additional 90 degrees.
Stage 6 additional 90 degrees.

Cylinder head gasket surface flatness 0.10 mm (0.004 inch) maximum overall





Upper Intake Manifold bolts





Lower Intake Manifold bolts

RH:




LH:





Exhaust Manifold bolts
Camshaft sprocket bolts 115 Nm (85 ft. lbs.)





Camshaft cap cluster to cylinder head 19 Nm (14 ft. lbs.)