Operation CHARM: Car repair manuals for everyone.
Manuals through 2025 now available!

Our trusted friends have launched a new website named LEMON, which has newer manuals. It also contains all the CHARM manuals.

LEMON is the spiritual successor to CHARM, I recommend you try it!

Link: lemon-manuals.la or lemon-manuals.org.ua

(Some people have issue connecting. LEMON is investigating. For now, use Firefox or change your DNS server)

Or, hide this message: temporarily or permanently

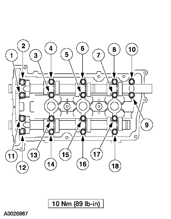
Cylinder Head Assembly



Cylinder Head Torque Specifications






Camshaft cap bolts 10 Nm (89 inch lbs.)






Upper intake manifold bolts 10 Nm (89 inch lbs.)






lower intake manifold bolts 10 Nm (89 inch lbs.)

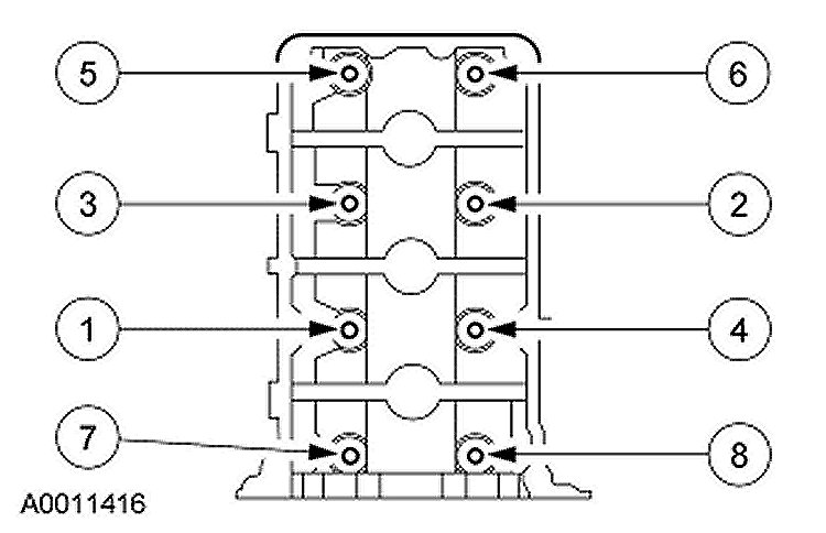
Exhaust Manifold






Right Hand Exhaust Manifold Tightening Sequence






Left Hand Exhaust Manifold Tightening Sequence

Exhaust manifold bolts 20 Nm (15 ft.lbs.)


Cylinder Head








NOTE: New cylinder head bolts must be installed. They are torque-to-yield designed and cannot be reused.


Stage 1: Tighten bolts to 40 Nm (30 ft. lbs).
Stage 2: Tighten bolts to 90 degrees.
Stage 3: Loosen one full turn.
Stage 4: Tighten bolts to 40 Nm (30 ft. lbs).
Stage 5: Tighten bolts to 90 degrees.
Stage 6: Tighten bolts to 90 degrees.

Camshaft Pulley
The OEM pulley is pressed on 4.74 mm (0.18 inch) past flush of the end of the camshaft.