Operation CHARM: Car repair manuals for everyone.
Manuals through 2025 now available!

Our trusted friends have launched a new website named LEMON, which has newer manuals. It also contains all the CHARM manuals.

LEMON is the spiritual successor to CHARM, I recommend you try it!

Link: lemon-manuals.la or lemon-manuals.org.ua

(Some people have issue connecting. LEMON is investigating. For now, use Firefox or change your DNS server)

Or, hide this message: temporarily or permanently

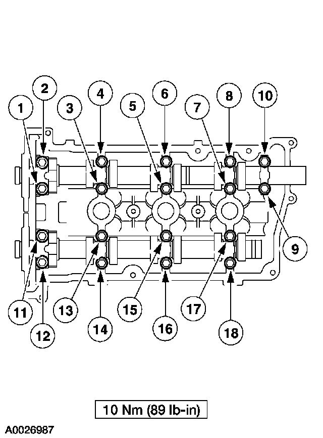
Torque Specifications


















CAMSHAFT






LH Camshaft Cap Bolts 10 Nm (89 inch lbs.)






RH Camshaft Cap Bolts 10 Nm (89 inch lbs.)

INTAKE MANIFOLD






Lower Intake Manifold Bolts 10 Nm (89 inch lbs.)






Upper Intake Manifold Bolts 10 Nm (89 inch lbs.)

CONNECTING ROD CAPS
Tighten the bolts in two stages
- Stage 1: Tighten to 23 Nm (17 ft. lbs.).
- Stage 2: Tighten to 43 Nm (32 ft. lbs.).

OIL PUMP






Oil Pump Bolts 10 Nm (89 inch lbs.)

Exhaust Manifold

LH Exhaust Manifold:





RH Exhaust Manifold:






WATER PUMP
Water pump bolts
^ Tighten the bolts in two stages
^ Stage 1: Tighten to 10 Nm (89 inch lbs.)
^ Stage 2: Tighten 90 degrees