Operation CHARM: Car repair manuals for everyone.
Manuals through 2025 now available!

Our trusted friends have launched a new website named LEMON, which has newer manuals. It also contains all the CHARM manuals.

LEMON is the spiritual successor to CHARM, I recommend you try it!

Link: lemon-manuals.la or lemon-manuals.org.ua

(Some people have issue connecting. LEMON is investigating. For now, use Firefox or change your DNS server)

Or, hide this message: temporarily or permanently

Procedures

Transfer Case Vent

Special Tool(s):




General Equipment:




Material:





Removal

NOTE: This procedure applies to vehicles equipped with manual transaxles.

1. Remove the power transfer unit (PTU).
2. Using the slide hammer with a 3-jaw puller attachment, remove the PTU tube.

Installation
1. Inspect the condition of the PTU vent hole.
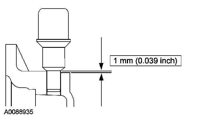
^ By hand, insert the new PTU vent into the PTU cover and measure the distance between the PTU cover and the vent as indicated.
^ If the measurement is less than specification, install a new PTU.





2. CAUTION: Do not apply silicone sealant to the PTU vent hole as it may cause damage to the PTU internal components.

Apply a bead of silicone gasket and sealant to the PTU vent where indicated.





3. NOTE: Drive the PTU vent in until the special tool bottoms out against the PTU rear cover boss.

Using the special tool, install the PTU vent.





4. Measure the depth of the PTU vent.
^ If the vent is too high, repeat Step 3.





5. CAUTION: Make sure the PTU vent boot is correctly aligned.

NOTE: Use a soapy water solution to lubricate the PTU breather boot.

Install the PTU vent boot.





6. Install the PTU.