Operation CHARM: Car repair manuals for everyone.
Manuals through 2025 now available!

Our trusted friends have launched a new website named LEMON, which has newer manuals. It also contains all the CHARM manuals.

LEMON is the spiritual successor to CHARM, I recommend you try it!

Link: lemon-manuals.la or lemon-manuals.org.ua

(Some people have issue connecting. LEMON is investigating. For now, use Firefox or change your DNS server)

Or, hide this message: temporarily or permanently

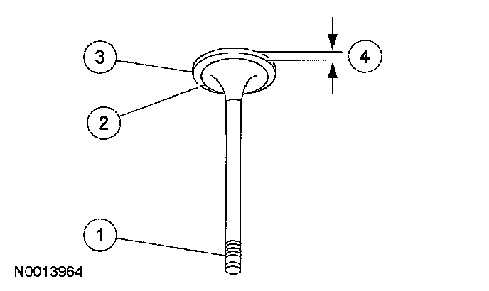
Valve Inspection

Valve Inspection

1. Inspect the following valve areas:
1 The end of the stem for grooves or scoring.
2 The valve face and the edge for pits, grooves or scores.
3 The valve head for signs of burning, erosion, warpage and cracking.
4 The valve margin for wear.